Binoculars

© Brooke Clarke 2000 - 2025




Choosing
Magnitude System of Specifying Brightness
Holding
Stabilization
Examples
    Viper 8x42 HD
    Nikon 6x15
    Zeiss 8x20
    Pentax 7x35
    Orion 9x63
    Russian yM8-2 Monocular
    Chinese 8x20 Monocular
    Army Signal Corp B&L 6x30
    Leica Vector IV Laser Range Finder
    Fraser-Volpe Stedi-Eye
        12x47mm Marine Monocular
        M25 Gyro Stabilized Binocular
TM 9-1240-372-10
TM 9-1580 (T.O. 38-1-1)
DynaSciences Antioscillation Monocular Military Aircraft Sighting Device
Literature & Information
Binocular Mounts
References
Patents
Binocular Manufacturers

Choosing

Exit Pupil Diameter

The first consideration is the time of day when they will be used.  This will determine the exit pupil size needed.
The exit pupil size in mm is equal to the objective diameter divided by the power.
Note that exit pupil depends on the power and objective diameter.
Higher powers mean it's easier to see things and larger objective diameters correspond to higher resolution and better performance in dim light.
There are many combinations of power and objective diameter that have the same exit pupil, for example:
5x35, 6x42, 7x50, 8x56, 9x63, 10x70 all have a 7 mm exit pupil but they differ in power, size and weight.

Night or poor light (astronomical or military)

The exit pupil size needs to be about 7mm to match the pupil diameter of a young person's night adapted eye.
For example 7x50 binoculars have an exit pupil diameter of 50mm / 7 power  = 7.1 mm
My Orion 9x63 binoculars have an exit pupil diameter of 63mm / 9 power = 7 mm.

These binoculars will allow you to see things that are too dim to see with bare eyes. For example I watched a dog chasing a deer at dusk.
The deer swam in a lake and the dog chased, but soon it was too dark to see with bare eyes, but using 7x50 binoculars I could easily see them for another half hour.  The deer would look back at the dog and when the dog was very tired the deer just swam to shore and walked away,  the dog swam to shore and laid down to rest.

You can use these in the daytime, but they will be heavier than binoculars that have smaller exit pupil diameter.

There are now available at reasonable cost Night Vision Binoculars and Monoculars that use image intensification tubes.
The military PVS-4 , PVS-5TVS-2 & Russian T3C Night Vision Image Intensifier are examples.
The Military M18 & PAS-6 are near infrared (IR) viewers.

Daytime (birding)

The exit pupil size can be as small as 3 mm.
For example 10x42 binoculars have an exit pupil diameter of 42mm / 10 power = 4.2 mm.
Note:  This means the exit pupil is bigger than the eye's pupil and so the binoculars are easier to hold.
These will not work for night use because the exit pupil will be too small.
As of 2019 the "ideal" configuration is 8x42, for an exit pupil diameter of 5.25mm.  See the Viper 8x42.

Table of exit pupil diameters

Note exit pupil diameters near 2 mm are cheap and not recommended and exit pupils above 7 mm make no sense.
As you go left to right the objective diameter gets bigger and so the size and weight get larger.


21mm
25mm
30mm
35mm
42mm
50mm
56mm
63mm
70mm
80mm
100mm
6x
3.5
4.1
5.0 5.8
7.0
na
na
na
na
na
na
7x
3.0
3.6
4.3
5.0
6.0
7.0 na
na
na
na
na
8x
2.6
3.1
3.7
4.4
5.3
6.3
7.0 na
na
na
na
9x
na
2.8
3.3
3.9
4.7
5.6
6.2
7.0 na
na
na
10x
na
2.5
3.0
3.5
4.2
5.0 5.6
6.3
7.0 8.0
na
12x
na
na
2.5
2.9
3.5
4.2
4.7
5.3
5.8
6.6
na
14x
na
na
na
2.5
3.0
3.6
4.0
4.5
5.0 5.7
7.1
16x
na
na
na
na
2.6
3.1
3.5
3.9
4.4
5.0 na
20x
na
na
na
na
na
2.5 2.8
na
3.5
4.0
5.0

Close Focus Distance

For some uses it's handy if you can focus on the ground in front of you.  Only some binocs will do that. See: Viper 8x42 HD

For some people this is their number one feature since they can see things that otherwise would be impossible to see without getting closer.
For example you can see details on plants and flowers, insects, spiders, animals, etc. on the ground while standing up.
Note:  This is different from depth of field (Wiki).  DOF refers to what things are in focus for a given setting of the focus control.  For example you can focus on something that's somewhat closer than infinity and still be focused on something some tens of feet in front of you.  It's a good idea to pre-focus the binocs at a distance where you commonly observe to minimize hunting for focus.

Baffling

When looking at a scene that includes a bright light you should not see artifacts.  This is very important when looking at night scenes with a lot of light bulbs or in the daytime when there are reflections of the Sun, like when on a boat.

Chroma Distortion

When looking at a high contrast subject you should not see false colors.  This distortion is very common in cheap binoculars.

Use with Eyeglasses

Some binocs allow for eyeglasses and others do not work will with glasses, so try them out the way you're going to use them.
I have the diopter setting on my camera to work without reading glasses.
Wiki: Eye relief & Exit pupil

Resolution

The resolution (Wiki) (ability to resolve detail) of a lens gets better as the diameter gets larger.  For some lenses adding a filter can improve the resolution.
But. . .  a lens can be made that's far from the Airy limit, most low cost lenses are far worse.

Holding (See below)

It's easy to hold light weight binoculars that are low power, but it gets harder and harder to hold them still as the power and weight increase.
My holding power index is just the power times the weight in ounces.  When that number gets to be near or above 700 then it's very difficult to hold them still enough to use.
Most people then use some type of support, like a camera tripod, but this requires either a 1/4-20 socket on the binoculars or an tripod adapter.
Another approach is to get image stabilization binoculars that require batteries, but they do work.

Note: Spotting scopes typically are 20X or higher power and weigh about 35 ounces for a "holding power" of 700.  They are typically used on a tripod.

Zoom

At first glance it seems to be a nice feature that you can vary the power with a knob.  But in exchange for this convenience  you give up optical quality, so it's not recommended.

Inter-pupil distance Adjustment

Most binoculars have a hinge between the left and right optical tubes that allows varying the inter-pupil distance, some even have a scale and index mark so if more than one person is using them each can set to their dimension easily.  When this is set correctly you should only see a single circle of light, not two separate or overlapping circles.

Diopter Adjustment

Usually only one of the eyepieces has an adjustment for the user's diopter setting.  The procedure in that case is:

1.    Close the eye for the side with the diopter adjustment and focus the binoculars on a distant object.
2.    Close the eye for the side without the adjustment and without changing the main focus, change the diopter setting to bring the image into focus.

Other binoculars don't have a single focus knob, but instead use adjustments on each optical tube.  In this case just close one eye and set the focus on the tube in front of the open eye, then switch open and closed eyes and adjust the other tube.  These are very awkward to use and are not recommended.

Magnitude System of Specifying Brightness

Determining Brightness using the Magnitude System -

As a rough guide a decent 50mm pair of binoculars will take you from the naked eye limit of around mag. +6, to about mag. +10 (in suitable skies).
A six or eight inch reflector telescope will stretch this further to around mag. +14.   "...Magnitude +1 stars are defined as being exactly 100 times brighter than magnitude +6 stars.  At one extreme, the bright Sun is magnitude -27. At the other extreme, some of the faintest observed stars are about magnitude +24. The full moon is magnitude -12.5. Sirius, the brightest star in the nighttime sky, is magnitude -1.5, while the faintest stars visible to the naked eye under good conditions are about magnitude +6." (from Introduction to Visual Satellite Observing )  Satellites are about -0.2 to 11.8 in magnitude.

"all about Telescopes" by Sam Brown (Edmond Scientific) 1979 - Telescope Performance - Star Mag, Resolution, vs. Obj Dia. Table of image dia.

Binocular Performance-

A chart showing Magnitude contours for binoculars with Image Stabilization & Giant Binos added.  Is based on the Sky & Telescope "Visibility" factor of power * objective Dia.  VIS is also included in the Holding Power Index table below. This may have been in the Backyard Astronomy column titled The Power of Binoculars By Alan M. MacRobert May 1995,  p. 48 but I'm not sure because now you have to pay for back issue articles, no longer on line.

30 Aug 2002 - the Binocular chart may not be correct, classical thinking, as in the "all about Telescopes" book, says that light gathering is dependent on the active area of the objective lens.  For example that means you need to subtract the area of the secondary mirror in SCT scopes.

Here are some Visual Magnitude Calculations as a function of scope active area (# of eyes) and for the StellaCam EX.

Holding

I have made up an table of binoculars sorted by "Holding" which I define as the Power * Weight (ounces).  The idea is that heavier is harder to hold and more power is harder to hold.  The product is an index to how hard it is to hold.  I have arbitrarily used a factor of 10 for image stabilization binoculars.  It appears that all the Image Stablization binos are designed for daytime viewing, i.e. they all have exit pupil diameters of 3 mm.  It seems strange that none of them have made an IS version that has a 7 mm exit pupil.

The column "VIS" is the S&T Visibility index and is just power x objective (7x50 binocs = 350 VIS).

Holding Power Index - Table listing binos with calculated data

If the holding power is greater than about 700 then a tripod is required.  For holding power between 350 and 700 you have difficult hand holding for a long time.  Both of these are just my best guesses.  A report says that the Leica 12x50BA (Holding Index =504) can be hand held, thus refining the dividing line.

Stabilization (Wiki)

During W.W.II this was done by adding an external gyroscope like the Kenyon.  These have an advantage over newer methods because the angular range over which they work is much greater than the newer methods and so better suited for use on boats or ships.  But they are heavy and typically used with bungee cords (Wiki).

The K&E 76 0000 Alidade has an optical compensation/leveling system based on a pendulum.  But that's not really image stabilization.  I mention this because some of the cited patents are for things like this which are not really applicable.

3378326 Gyroscopically controlled accidental motion compensator for optical instruments, Luis W Alvarez, Bell and Howell, 1968-04-16, -  gyro based.

3942862 Image stabilizing optical system having a variable prism, Hiroshi Furukawa, Akira Tajima, Canon, 1976-03-09, - gyro stabilizes relay lens - only works over a small angle.

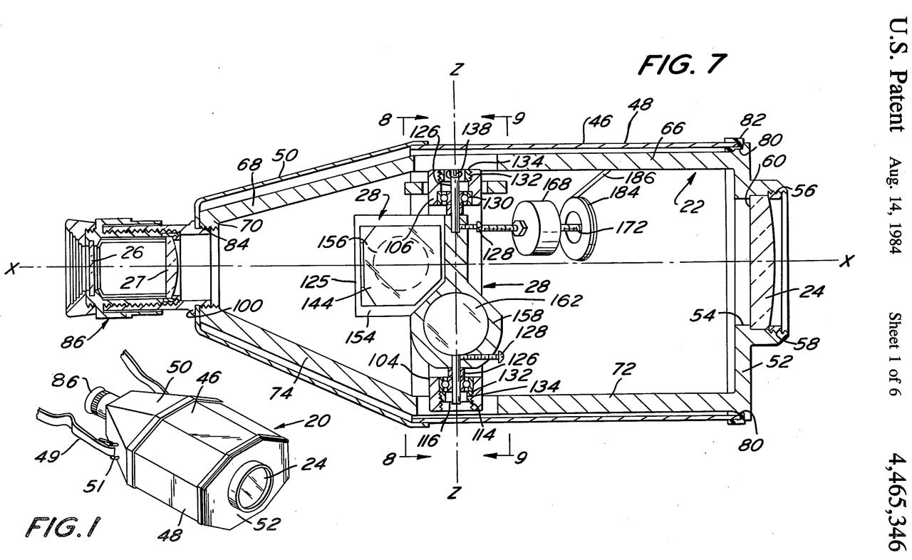
4465346 Optically stabilized telescope, David B. Fraser, 1984-08-14, - The current military M25 14x41 Binocular is made by Fraser.

TM 9-1240-408-13&P Operator's Unit and Direct Support Maintenance Manual for Binocular: Stabalized M25 (NSN: 1240-01-410-7418, 31 March 2000. (tm-9-1240-408-13-and-p.pdf)

Fraser-Volpe Corporation had trademark STEDI () EYE now cancelled

Discussed in patent:
2829557 Stabilized optical sighting device, Jensen Homer, 1958-04-08, -    - complex & a product of inertia in the roll-yaw plane which may produce a large coupling of roll motions into the yaw axis.
3504957 Optical stabilized telescope arrangement, Lee O Heflinger, Robert E Brooks, TRW (Northrop Grumman), 1970-04-07, -   - additional optical elements degrade image
Cited:
1628776 Sighting device, Henderson James Blacklock, 1927-05-17, - camera & Etc. on arm connected to gyro.
3493283 Apparatus for stabilizing optical instruments, Larry L Higgins, TRW (Northrop Grumman), 1970-02-03, - amounts to 3 gyros, for choppers.
3504957 Optical stabilized telescope arrangement, Lee O Heflinger, Robert E Brooks, TRW (Northrop Grumman),
6515799 Image stabilizing apparatus, Toshihisa Ishijima, Kouichi Nagata, Kenichi Takahashi, Fujinon, 2003-02-04, - uses an angular velocity sensor (Wiki) instead of gyros.
YouTube: Fujinon Stabiscope 14x40 Binoculars Gyro Mechanism, 5:23 -

Sig Sauer Zulu6 series: 10x30 ($900), 12x42 $1000), 16x42 ($1100), 20x42 ($1200) - could not find tracking angle for IS

Examples

Viper 8x42 HD

Got these as lighter weight for birding in my back yard.  Chosen form The Audubon Guide to the Best Binoculars - with the added constraint that they can focus close (5.1 feet in this case).  They ranked high on most birder binocular web sights.  Found a refurbished pair on eBay in a couple of weeks for $400.

For birding 8x42 (VIS: 336) is a very popular combination of light gathering and ability of hand hold.  exit pupil: 42/8 = 5-1/4mm.
Specifications from box:
Size 5.8 x 5.3"
Weight: 24.2 oz
Eye Relief Adj: 200mm
Close Focus: 5.1'
Field of View: 6.6 deg. @ 1,000 yards
Interpupillary distance: 50 to 75mm.

Fig 1 Refurbished in box
Viper 8x42 HD
                    Binoculars
Fig 2 What's in the box.
Viper 8x42 HD
                    Binoculars
Fig 3
Viper 8x42 HD
                    Binoculars
Fig 4 Note excellent coatings make front of objective lenses disappear.
Tripod thread cover removed.
Viper 8x42 HD
                    Binoculars
Fig 5 Universal Binocular Tripod Adapter Svbony ($7 on eBay).
Appeared to be very narrow to fit between binocular tubes when Interpupillary distance is set.


Nikon  6x15

Recently (2015) I got a new to me Nikon SMZ-U stereo microscope.  Instead of the old 160mm tube length system this scope uses what's called an infinity tube (head).  To check that is was an infinity tube system I took the head and eyepieces outside and pointed the head at a nearby mountain and saw a fantastic binocular view.  The lens that looks down in the microscope acts like objectives and are about 16mm diameter.  The exit pupil measures about 2.5mm making the power about 6.5.  So the microscope head can be thought of as a pair of 6.5x16 binoculars.  I then searched for Nikon binoculars that were about this same power and objective diameter and found the 6x15.

Nice glove compartment binoculars.

Fig 1 carry case, 5.7 oz, 4-1/4 x 2-1/2"
Nikon 6x15
                    Binoculars
Fig 2 Eyepiece end, central focus, diopter adj
Nikon 6x15
                    Binoculars
Fig 3 exit pupil 2.5 mm
Nikon 6x15
                    Binoculars

Zeiss 8x20 

The Zeiss are also a very compact pair of binoculars. Unique double hinge to make them even smaller when folded.  Nice glove compartment binoculars.
For use in daytime bright light with a small 2.5mm exit pupil diameter.

Fig 1 carry case, 8.1 oz., 4-1/4" x 3"
Zeiss 8x20
                    Binoculars
Fig 2 left eyepiece has rubber guard up
Zeiss 8x20
                    Binoculars
Fig 3 double hinge
Zeiss 8x20
                    Binoculars

Fig 4 Central focus at left
diopter at right
Zeiss 8x20
                    Binoculars
Fig 5 exit pupil 2.5
Zeiss 8x20
                    Binoculars


3604779
Binocular field glass with double joint, Zeiss Stiftung, Sep 14, 1971 - double hinge but not focus mechanism
4080042 Collapsible binocular telescope with adjustable internal focusing, Carl Zeiss-Stiftung, Mar 21, 1978 - common focus mechanism

Pentax 7x35 

These came from a basket of binoculars, most of which were cheaply constructed so I don't have them.  These seemed to be one the best of them but so old that the coatings are not up to modern standards.

Fig 1 carry case, 46 oz., 8-1/4 x 6 x 3-1/4"
Pentax
                    7x35 Binoculars
Fig 2 eyepiece end
Pentax
                    7x35 Binoculars
Fig 3 objective end
Pentax 7x35 Binoculars
Fig 4 Exit pupil 5.0 mm
Pentax
                    7x35 Binoculars


Orion 9x63 (Telescope.com)

I wanted binoculars for astronomy and looked at 7x50 (VIS:350), 8x56 (VIS: 448) and 9x63 (VIS: 567) considering all of these to be used without a tripod, anything larger must be used with a tripod.  They all have 7mm exit pupils for astronomy.
Weight: 42 oz, Holding Power (42 oz x9 =) 382

Fig 1 carry case, 53 oz., 9-1/2 x 8 x 3-1/4"
Orion 9x63
                    Astronomical Binoculars
Fig 2
Orion 9x63
                    Astronomical Binoculars
Fig 3
Orion 9x63
                    Astronomical Binoculars
Fig 4 exit pupil 7mm
Orion 9x63
                    Astronomical Binoculars
Fig 5 The plastic Tripod socket cap has female threads and is very hard to put back.  Note you can see the objective lens front surface, so anti-reflection coatings not as good as on Viper 8x42 HD.
Orion 9x63
                    Astronomical Binoculars

Russian yM8-2 8x16 Monocular

I think this is an 8x16 monocular.  Exit pupil varies greatly with distance from eyepiece.  Not sure what that's about.
I seem to remember it was sold as a Russian spy item.  This idea is that you can wrap your thumb and first finger around the eyepiece and when you close your hand the unit is completely concealed.  Focus is by screwing/unscrewing the objective.  Metal construction. Clear image.  Not easy to hold steady.
Weighs 3.4 ounces (no case)
Back
Russian yM8-2
                    8x16 Monocular
Front
ussian yM8-2
                    8x16 Monocular

Chinese 8x20 Monocular

Weighs 1.5 ounces (no case).
Note the calculated exit pupil is 20mm / 8x = 2.5mm so is only good in Sunlight.  Looking at the mountains shows good detail and can be hand held.
Note:  the holding power is 1.5 oz x 20x = 30 which is will below 200 so the idea of hand holding a 20x scope is consistent with the holding power metric.

Chinese 8x20 Monocular
Whereas the Russian monocular is made from machined metal I get the feeling that this one is made from sheet metal.


I saw a magazine ad that was couple of inches wide and ran from the top to bottom of the right hand page (an expensive ad) for what appears to be this 8x20 monocular for $59.95 list price.  I got it for $6.57 including shipping from China, i.e. about 10x lower in price.  I expect it's the same unit since the marking on the monocular is the same.
marking: 8x20mm, Fully Coated Optics, 282Ft/1000Yds, 96M/1000M (meaning the field of view at 1000 Yds is 282 Ft or the field of view at 1000 meters is 96 meters.

Army Signal Corp B&L 6x30 (aka: Type EE)

These may be the precursor to the M3, M13, M13A1 family of 6X30 binoculars?  But this family does not have the cylindrical barrel shaped objectives that fit the MC-430 red filters.

Got these to see if the MC-430 red filters fit.  These red filters are used with the M-227 and M-132 Signal Lights.  30mm / 6 = 5mm exit pupil so intended for daytime use.

The combination of the compass built into the carry case and the stadia reticle in the left telescope means this set can be used for mapping.  The Army M1913 Sketch Set would be a good compliment.
But more likely a note would be made of the bearing and distance to a point of interest.

The objective lenses can be unscrewed allowing cleaning of the back of the objective lens.  It's not clear how to get access to be area behind the prisms.  Let me know.

Fig 1 Carry case has built-in compass.
Loops on sides for carry strap. Belt loop on back.
Missing hold close elastic at front center.
Army Signal
                  Corp B&L 6x30 Binoculars
Fig 2 Thread at front is not 1.4-20.
The thread I.D. is 0.145" try 8-40 & 10-24
Note the 30mm objective lenses and34mm dia body.
Signal Corps
U.S. Army
Serial  No. EE 73809


Army Signal
                  Corp B&L 6x30 Binoculars
Fig 3  Focus the stadia reticle with the left eyepiece adjustment.
Focus the target with the right eyepiece adjustment.
Center pivot calibrated for inter pupil distance in mm.
Prism stereo
30mm
6 Power
Baush & Lomb Optical
U.S.A.
Rochester N.Y.


Army Signal
                  Corp B&L 6x30 Binoculars
Fig 4 The MC-430 filters fit with the small end to the binocs.
Army Signal
                  Corp B&L 6x30 Binoculars
Fig 5 both eyepieces adjusted to Zero.
Note right fiducial line is toward the top while left line
is toward left.  But when both are zeroed, as shown,
both the reticle and distant objects are in focus.
Army Signal
                  Corp B&L 6x30 Binoculars
Fig 6 Reticle photo taken using LG G6 cell phone.
This is the early style reticle shown in Fig 7 of TM 9-575.
The numbers on the scales are mils (Wiki).
also see Stadia.

Army Signal
                Corp B&L 6x30 Binoculars
Fig 7. The Compass sticks.  Note 4 pin spanner holes.
42mm dia circle, 1mm dia pins?
Army Signal
                  Corp B&L 6x30 Binoculars


Leica Vector IV Laser Range Finder

Vector IV Laser Range Finder

Shown on Manfortto 055 Tripod with 410 Gear Head - a very solid tripod setup.

The Laser Range Finder, Compass and Elevation sensor all have RS-232 output data that links directly to a DAGR or PLGR GPS receiver.
This allows finding the GPS coordinates of the scene viewed through the binoculars like would be needed to make a Way Point or designate a target for close air support.

Fraser-Volpe Stedi-Eye

12x47mm Marine Monocular

Based on patent 4465346 see below.

exit pupil of 3.9mm

Fig 1
Fraser-Volpe Stedi-Eye 12x47mm
Fig 2
Fraser-Volpe Stedi-Eye 12x47mm
Fig 3
Fraser-Volpe Stedi-Eye 12x47mm
Fig 4
Fraser-Volpe Stedi-Eye 12x47mm
Fig 5 Looking into objective
Gimbal, prisms & rubber bumper w/central rod
Fraser-Volpe Stedi-Eye 12x47mm



M25 Gyro Stabilized Binocular

14x40 i.e. exit pupil of 2.86mm calculated, 3mm according to manual (just a rounding up difference?)
Stabilization Freedom +/- 8 degrees.
best at compensating for high frequency/low amplitude vibrations
Independent (+/- 5) Diopter adjustment for each eye.
Reticle marked in mills.  Dist = (Known size/No. of mills) * 1000
Max scan rate 5 to 10 deg/sec
Has optional Gen III Night Vision eyepieces.
4.6 pounds.
Interpupillary adjustment (60 to 72mm) is on the eyepiece ring closest to the body (Item 5 in the TM)
Power:  either two AA batteries, or external 6 to 30 VDC source  <0.5 Amps.
Reference Numbers
NSN: 1240-01-410-7418
TM 9-1240-408-7418
TM 9-1240-408-13&P
Accessories
5935-01-467-7452 ADAPTER, CONNECTOR(M1 TANK)
5395-01-467-7446 ADAPTER, CONNECTOR,(BRADLEY FV)
6130-01-467-7445 BATTERY POWER SUPPLY (ARCTICPACK) - 8 AA cells (13.6 VDC with L91 cells)
5855-01-469-6123 NIGHT EYEPIECE

3437397 Double-mirror system for optical stabilization, William E Humphrey, Optical Research and Development Corp, 1969-04-08, -  for telescopes and binoculars.

4235506 Image stabilized optical system, Takemi Saito, Kenjiro Okamura, Kunio Ando, Fuji Photo Optical (Fujinon), 1980-11-25, -
Cites 12 patents
Cited by 43 patents
re this patent: "Two rhomboid prisms are employed for adjusting the inter-ocular distance.  These rhomboid prisms have no other function than this.  For real solutions this means that the instrument will be considerably larger and heavier than what would be the situation without the rhomboid prisms."  quoted from WO2001092945 below for improved version.


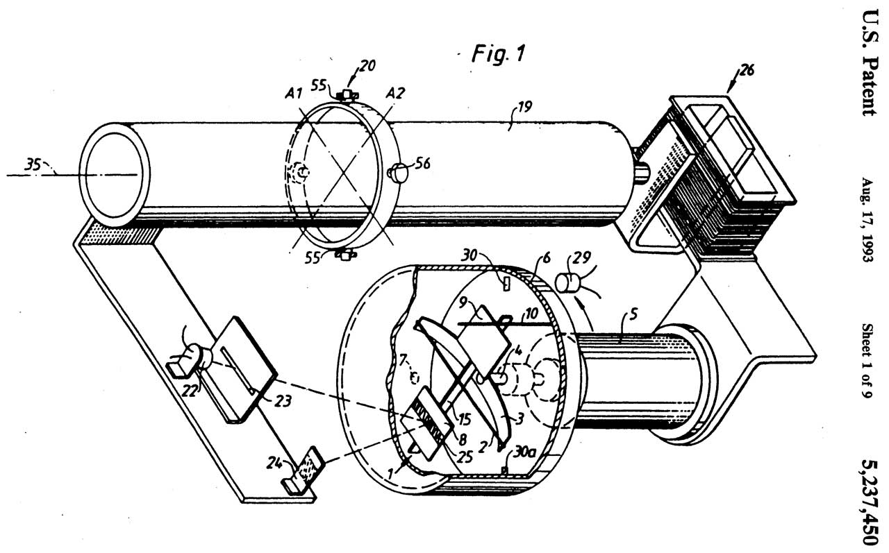
5237450 Inertial stabilizing system, Rolf
                  Stromberg, 1993-08-17 - - Fraiser-Volpe Image
                  Stabilized binoculars M25
5237450 Inertial stabilizing system, Rolf Stromberg, 1993-08-17, - inertial stabilizing system to be used preferably in connection with image stabilization for hand-held optical- "... to obtain best stability is to refrain from connecting the gyro mechanically to the stabilized part, but to detect instead the position of the gyro by means of electronics so that signals are generated which are then used to urge, via small electromechanical actuators, the gimbaled part towards stability. The expected advantage of this solution is i.a. that it ought to be possible to design the gyro much smaller, resulting in reduced total weight and volume,..."
Ref: The Journal of Mechanical Engineering Science 1967, Vol. 9, No. 1, pp 55-61, by R. Whalley, MJ Holgate and L 10 Maunder, "The Oscillogyro'.
Science Museum Group, UK: Prototype Oscillogyro Design Notes and Calculations Book 1 -
2688456 Stabilizing system, Jensen Homer, 1954-09-07, - has great disadvantages among which sensitivity to bearing friction and play can be mentioned. Balancing of the gimbaled part must be carried out extremely accurately, still, good properties are never attained.
3546931 Strain-coupled servo-control system, John H Crews Jr, William T Davis, NASA, 1970-12-15, - In order to solve these nutation problems a resilient and viscous coupling between the gyro and the gimbaled part can be used, which increases complexity, weight and volume.
4465346 Optically stabilized telescope, David B.
                  Fraser, 1984-08-14, - prior to founding Fraser-Volpe -
                  passive fluid dampening
DE2353101 Telescopic device with image stabilization, David B Fraser, Fraser-Volpe Corp, 1979-01-18, - Figures 1 to 9
4465346 Optically stabilized telescope, David B. Fraser, 1984-08-14, - prior to founding Fraser-Volpe - passive fluid dampening - Figures 1 to 9
Cited by 24 patents

EP0890259, AU2529197, eSpaceNet) Real-time, multiple path video imaging system, Joseph B. Volpe, Fraser-Volpe Corp, 2003-01-29, -


6067194 Image stabilizing instrument, Rolf
                  Stroemberg, Stable Eyes Ab), Leica Camera AG,
                  2000-05-23, - Fraiser-Volpe Image Stabilized
                  binoculars M25
DE29701683 (eSpaceNet) Image stabilizing optical instrument, Stable Eyes Se AB Leica Camera AG,
 6067194 Image stabilizing instrument, Rolf Stroemberg, Stable Eyes Ab), Leica Camera AG, 2000-05-23, - probably the M25
 Calls:
 
2829557 Stabilized optical sighting device
3475073 Accidental-motion compensation by triple reflection
3582180 Device for stabilizing the images of optical instruments against movement caused by vibration of the instrument
4235506 Image stabilized optical system
"...an image stabilized binocular is shown where only one part is cardan pivoted. A drawback here is that the objectives are non-stabilized which leads to a Small aperture, considerable aberrations during panning or heavy, complicated objectives. Another great disadvantage is that the two image erecting prisms are joined together in a Stabilized part, which leads to a double image at horizontal panning. The Stereo characteristics are also inferior. In spite of these shortcomings this seems to be the most commonly used concept today, which should illustrate the difficulty of the problem." comment in 6067194

4542962 Image-stabilized optical instrument, such as telescope and cameras
"...suggests a binocular without the above drawbacks. Unfortunately there are others instead: The image is tilted when the binocular is moved in the Vertical plane, which may be seen as a drawback by the user. Special So-called roof mirrors-two precisely aligned plane mirrors-are employed for the maybe most interesting design (see FIG. 11). Complicated mechanics is required for the variable inter-ocular distance. It is hard to find Space in the light path for Barlow lenses without adversely increasing the size of the binocular. The system also exhibits other drawbacks.comment from 6067194

JPH02284113 Binoculars with anti-vibration means
5029995 Telescope having image field stabilization by cardanically journalled inverting systems
5122908 Non-linear controller functions for inertial optical stabilizers
5237450 Inertial stabilizing system
5521758 Variable-magnification optical system capable of image stabilization
5644413 Optical head for adjusting a positional relation between the information medium and the optical head


WO2001092945 Adjustable inter-ocular distance for image-stabilised binocular, Rolf STRÖMBERG, Stable Eyes Ab, 2001-12-06, -


TM 9-1240-372-10  Binoculars: M3, M7, M13, M13A1, M15A1, M16, M17A1 Operator's Manual.

Model
Function
Power X Objective
Exit
Pupil
NSN
TM
M3
Binocular
6X30
5.0mm
1240-00-670-2491
SNL F-210
M7
Rangefinder
?X?
?
1240-00-620-2500

M13
Binocular 6X30
5.0mm
1240-00-670-2508
M13A1
Binocular 6X30 5.0mm 1240-00-503-0973
M15A1
Binocular 7X50
7.1mm 1240-00-530-0959
M16
Binocular 7X50
7.1mm
1240-00-670-2514
M17A1
Binocular 7X50 7.1mm 1240-00-530-0974

Resource: Collecting Military Binoculars - USA -

TM 9-1580 (T.O. 38-1-1)

Ordnance Maintenance
Binoculars M3, M7, M8, M9, M13, M13A1, M15, M15A1, M16, M17, M17A1 and BC Telescope M65, 11 February 1953, 293 pages (Liberated Manuals pdf, Radio Nerds pdf)

Model Function Power X Objective Exit
Pupil
NSN TM
M8
Binocular 6X30
5


M9
Binocular 6X30
5


M65
Binocular 10X45
1.5

TM 9-2601

TM 9-575 (archive.org pdf)

Auxiliary Fire-Control Instruments (Field Glasses, Eyeglasses, Telescopes, and Watches), May 4, 1942 (replaced by TM 9-1580)

Model Function Power X Objective Exit
Pupil
NSN TM
EE
Binocular 6X30
5

SNL F-146







Leica Vector IV Laser Range Finder

Vector IV Laser Range Finder

Shown on Manfortto 055 Tripod with 410 Gear Head - a very solid tripod setup.

The Laser Range Finder, Compass and Elevation sensor all have RS-232 output data that links directly to a DAGR or PLGR GPS receiver.
This allows finding the GPS coordinates of the scene viewed through the binoculars like would be needed to make a Way Point or designate a target for close air support.


DynaSciences Antioscillation Monocular Military Aircraft Sighting Device XM76

DynaSciences
                  Antioscillation Monocular Military Aircraft Sighting
                  Device XM76
DynaSciences
                  Antioscillation Monocular Military Aircraft Sighting
                  Device XM76 DynaSciences
                  Antioscillation Monocular Military Aircraft Sighting
                  Device XM76

Photos courtesy of  Magna-Tech Electronic Co. Inc.

My guess is that the model XM76 means eXperimental Model of 1976.
3212420 Image motion compensator, Cierva Juan De La, Whittaker Corp, Dynasciences Corp, App: 1962-11-23, 396/8; 359/557; 250/214LA - optics in front of fixed camera lens
3503663 Gyroscopically controlled motion compensator for optical devices, Juan De La Cierva, Leonard Goland, Whittaker Corp, Dynasciences Corp, App: 1964-01-06, 359/557; 359/832; 396/13 - image stabilized binoculars
3514192 Achromatic variable-angle fluid prism,
Juan De La Cierva, Whittaker Corp, Dynasciences Corp, App: 1967-04-11, 359/557; 359/832 -
3503318 Target acquisition system for high power optical devices, Juan De La Cierva, Whittaker Corp, Dynasciences Corp, App: 1967-10-06, 396/55; 359/431; 359/554 -
3638883 Cross-rate axis sensor, Andre Lanzaro, Whittaker Corp, Dynasciences Corp, App: 1968-05-21, 244/165 - eliminate the coning motion of space vehicle

3728948 Image
                  motion compensation mechanism, D Fraser, Whittaker
                  Corp, Dynasciences Corp



3728948 Image motion compensation mechanism, D Fraser, Whittaker Corp, Dynasciences Corp, Pub: 1973-04-24, 396/421; 359/557 - hand held monocular


3756687 Dual gyro mechanically coupled image motion compensator having non-linear damping means, I Shin, J Richards, Whittaker Corp, Dynasciences Corp, Pub: 1973-09-04, 359/557; 359/665 - a pair of gyros, looks like needs to be mounted on aircraft or satellite.
3892467 Inertial stabilization system, Ihsuk Shin, Whittaker Corp, Dynasciences Corp, Pub: 1975-07-01, 359/557; 356/149 - simple flywheel coupled to optics

Literature & Information

12.5" Binocular Telescope -
7 by 35 by Keith Burnett
8" Bino Scope by James Lerch
American Association of Amateur Astronomers - bino based "First Light Introductory Astronomy Kit"
Astronomical League Binocular Messier Certificate  - Messier List - Deep Sky List -
Astronomical Observing with Binoculars -
Astronomical Resources - Silicon Sky - Links -
Audio Output for Binocs - used for Earth bound sources of light
Binocular (and Naked Eye) Guide to the Stars -Binocular Menu - Richard Dibon-Smith -
Buying Binoculars for Astronomy - FAQ - The Astronomical Unit by Stephen Tonkin
BVD Better View Desired - birding bino info
Clear Skies,,,Two Eyes by Rob Castle - page is devoted to binocular astronomy
Cloudy Nights Telescope Reviews - Big Binocular Reviews - Big Binocular Observation Page -
Exploring the Night Sky with Binoculars by Patrick Moore
Fred F. Feddeck's Bino page - log of observations
Giant Binoculars & Binocular Telescopes -
Head Mounted - new design
Interactive moon map -
Intercon-Spacetec - German dealer that carries very big Binocs - photo of man holding Fujinon 25x150ED
M18 Military IR binocs - See some stars but not all
Miyauchi 20x77 Exceed Binoculars - review by Chris Heapy
NGCView 6.0 - build and manage an observing list
Observing Double Stars -
Paul S. Walsh - Binocular reviews (scroll down)
Phil Harrington's Star Ware - Author of book "Star Ware 2nd edition pg201 -205 on Binoc viewing with some info on the web -
Ratings by user votes  -
Recreational Astronomer by Jon Stewart-Taylor
Resource for the Binocular Astronomer -
Sky & Telescope - binocular articles - Image Stablization Test Report -
Stars: A New Way to See Them - book
Todd Gross (weatherman) Binocular Evaluation -  testing over 24 pairs of binoculars
Touring the Universe through Binoculars by Phil Harrington
Turn Left at Orion_ by Guy Consolmagno - book

Binocular Mounts

Amateur Telescope Making (Practical Astronomy)  - including Binocular mount plans
Anacortes ATWB- dealer in binoculars & scopes - with good product description data
Bino Mount - by Scott Wilson
Bino Mount w/encoders - Touring the Universe on Crutches -  By Glen Warchol
Binocular Astronomy - by Ricky Spears Binocular highlights from Sky&Telescope (with permission)
Binocular Mounts by 43°S ASTRO  - Portable and Large models for sale
Binocular mount for astronomy by  Dr Euan G. Mason - wood
Binocular Observing Chair by the  Houston Astronomical Society computer controlled chair for 2  people!
Building an aluminium binocular mount by Jan van Gastel
Getto Bino Mount by Jim Schneringer
Jan van Gastel's -Building an aluminium binoculair mount -
Light Speed Telescopes - Alt-AZ Mount 70  to 100 mm binoculars $825 (has encoders +$210 for 2,100-object computer)
Nisur Systems - mounts
Platter Master by Gary Wolanski, uses a microphone stand
Poor Man's Flexible Parallelogram Website -
S&T Test Report: In Search of a Good Binocular Mount -
Sky Rover StarChair - joystick control of chair & bino holder - Star Chair USA -
Sky Scanner Binocular Dob Mount - mirrors so binocs point down - user URL - Ian Teixeira of Ontario
Sky Window™ - uses a large single mirror
T&T Binocular Mounts - @S&T - made to order so customization is OK-18 Strong St. Ext., East  Haven, CT 06512; phone: 203-469-2845 or 203-272-1915.
Universal Astronomics - UniMount - $180 to $420
Virgo Astronomics - High Quality, Professional Grade Binocular Holders and Mounting Systems

References

Ref 1. Vintage Binocular Masterclass (Part 1), 13:38 -
Ref 2. Vintage Binocular Masterclass (Part 2), 12:36 -
Ref 3. Binoculars and the triumph of the roof prism, 50:00 -

Patents

CH7791
                          (eSpaceNet) Double telescope with increased
                          distance between the objectives, Abbe Dr
                          Ernst, App: 1893-10-30, Pub: 1894-06-30, -
                          prism binoculars
CH7791
                          (eSpaceNet) Double telescope with increased
                          distance between the objectives, Abbe Dr
                          Ernst, App: 1893-10-30, Pub: 1894-06-30, -
                          prism binoculars CH7791
                          (eSpaceNet) Double telescope with increased
                          distance between the objectives, Abbe Dr
                          Ernst, App: 1893-10-30, Pub: 1894-06-30, -
                          prism binoculars

CH7791 (eSpaceNet) Double telescope with increased distance between the objectives, Abbe Dr Ernst, App: 1893-10-30, Pub: 1894-06-30, Exp: 1908- prism binoculars

Wiki: Binoculars\Prism\Poro

The Porro patent had expired so Zeiss found the increased stereo feature to get a patent on what amounts to the Porro binocular design. Ref 3.

CH8079 Doppelfernrohr (Binoculars), Abbe Dr Ernst, App: 1894-03-15, -

3434771 Gyroscopic lens, Luis W Alvarez, (Wiki, Ref 16)Bell and Howell, 1969-03-25, - see my Gyroscope web page

3468595 Optical stabilization by reflecting means, William E Humphrey, Optical Research and Development, 1969-09-23, - passive corner cube reflecors
3728948 Image motion compensation mechanism, D
                  Fraser, Dynasciences Corp, 1973-04-24, - fluid
                  dampening
3728948 Image motion compensation mechanism, D Fraser, Dynasciences Corp, 1973-04-24, - fluid dampening
3892467 Inertial stabilization system, Ihsuk
                  Shin, Dynasciences Corp,1975-07-01, - Gyroscope based
3892467 Inertial stabilization system, Ihsuk Shin, Dynasciences Corp,1975-07-01, - Gyroscope based

DE2353101 (4465346) Telescopic device with image stabilization, David B Fraser, Fraser Volpe Corp, 1979-01-18, -
4465346 Optically stabilized telescope, David B.
                  Fraser, 1984-08-14, - prior to founding Fraser-Volpe -
                  passive fluid dampening 4465346 Optically stabilized telescope, David B. Fraser, 1984-08-14, - prior to founding Fraser-Volpe - fluid dampening -

8378279 Portable integrated laser optical target tracker (& designator), Edward R. Mourar, Mario Carlo, Ilias Syrgabaev, Fraser Volpe LLC, 2013-02-19, - "Triservice code"

Binocular Manufacturers

Adlerblicks @Carton Optics, 1037 Enderby Way, Sunnyvale, California 94087, Tel:  (408) 245-4818
Binocular Smart - Eastern Block binos and night vision scopes -eBay Store -
Big Binoculars - imports Chinese 25/40x100mm 45-degree Astronomy Binoculars - a special parallelogram mount is in the works
Bruce Sayre - home built 12 1/2" Bino scope -
Bushnell - Bausch & Lomb/Jason -
Canon - 15 x 45 IS BinocularsS&T road test - These Image Stabalization Binocs are gettng rave reviews
                                                                            BUT others say the jump that occurs can be VERY distracting
             Orion price $1399 (7/26/99) FOV 4.5 deg.  $894.69 -
Since I first published this web page Cannon has introduced new models.  It interesting that they have increased the power, you can now get 18x50 IS binocs.  This indicated that the quality of the stabilization must be good.  These would give your a VIS # of 900 and my holding number is 2076 without the IS factor applied.
Celestron -
Eagle Optics - dealer for Fujinon's new CD series -
Fraser Optics - Gyroscopic stabilized binoculars Stedi-Eye" Army M25A1, NSN:1240-01-410-7418,  TM 9-1240-408-13&P
Fujinon - Large-size Waterproof Super Power Binoculars -(973) 633-5600 is Fujinon in Wayne, NY
                Orion has the 14x40 Stabi for $1099 (7/26/99) FOV = 4.0 deg.-  Fuji page shows the 12X40
               at Adorama Camera - at Ponoco West -
Dedal-Kalimex Czech Republic, - binoculars - telescopes -
Fraser Volpe Corp. - Stedi-Eye MK-X Stabilized 10X-14X Binocular  -
LABT 100 - 4" Chinese copy of a Carl Zeiss Jena design
Lan Optics International - Russian - Giant Binoculars20x60, 30x90, 16x40 IS -
Large Binocular Telescope - ? X 8,400 binocs
Leica - binoculars & spotting scopes -
Litton Electro-Optical Systems20 X 120 Binocular, Mark III, Mod 5, (Big Eye) -
Leupold -
Meade -
Minolta -
Minox - Binoculars - spy camras
Miyauchi @True Technology Ltd   @http://www.miller.at/auswahl.htm  @ ATWB - $8,000+ @ christophers, ltd
Nikon -
Olympus -
Optolyth - German but at a good price @Deutsche Optik
Orion - I got the Orion 9x63 on sale - they are great
Pentax -
Pelengs - a Russian Image stabilization binocular with reportedly very good results
Pro-Optic = Vixen = Orion = Helios
SanJO Instruments - 6" & 10" objectives
Sherwoods - dealer in the UK - has the new Miyauchi 22x60 @ 699 pounds sterling
Sovietski Collection
S.W.F.A. - M24 Apache - US Army binocs
Steiner Germany -
Sunagor - Hi power & zoom
Swarovski Optik -
Swift Instruments, Inc. -
Takahashi Astronomer - 22x60 Fluorite @ATWB - Tod's review -
TeleHOON - Chinese
Tento (Russian) -
TL Systems, Astronomical Products  - Binoviewer II for a telescope (not yet reviewed by Todd)
Unitron, Inc. - telescopes, microscopes, binoculars
University Optics, Inc. - CCD kit & other home brew supplies & good value 11X80 Binoculars
Vixen - not only binoculars, but also scopes & mounts, compass, pedometer
           mount (Germal language) - also offered by Orion
            Giant Binos & optional Stellar Guide (3860) & encoders (3830) for mount (under Telscope Accessories)
Zeiss - binoculars20x60 Stablized - better image stab. than the Canon 15x45
S&T list of Binocular Dealers -
Back to Brooke's Astronomy page, CCD astronomy page, home page
page created 30 Jan. 2000.