FN FAL Rifle

Brooke Clarke 2010 - 2025

Background
Figures:
Fig 1 Right
Fig 2 Left
Fig 3 Scope
Fig 4 Bayonet
Fig 5 22 Adapter
Fig 6 PVS-4 Starlight Scope, Night Vision Sight, Individual Served Weapon
Fig 7 Picatinny rail
Markings
Video
Related
Ballistics
    Internal
    External
        Ballistic Coefficient
        Gyroscopic Instability
        Rifling
        Smooth Bore
    Terminal
        Guidance
Picatinny Rail
Method of Stadia (Range-Finding)
Stoner
SOPMOD M4 Accessory Kit
    Sights
TrackingPoint
High Standard 10B Shotgun
Interesting 22LR
    FN 22 Adapter
    AR-15 22 Adapter (and Bolt Bounce)
Survival Guns
    Marble Game Getter
    Savage Model 24
    M4 Survival Rifle (T38)
    M6 Aircrew Survival Weapon
    ArmaLite AR-7
    Ruger 10/22 Take Down
    Rossi Brawler
    Mossberg 590 Shockwave
    Taurus Judge
Miscellaneous 22s
    Marlin Model 60
    Ruger SR22 Pistol
    ROTC 22 Rifle
        M12 (Winchester 52 standard, 52 Heavy Barrel, 52B & 52C; Remington Model 40X-S1
    22 Reloading
    Gallery Guns
        Take-down 22 Rifles
        Parlor Pistols
        22 Short Guns
Kel-Tec
Federal Firestick
Silencers
Related
References
Links


Fig 1 Right
x
Fig 2 Left
x
Fig 3 Scope
x
Fig 4 Solingen Bayonet
x
Fig 5 22 Sub Caliber Adapter
x
Fig 6 PVS-4 Starlight Scope, Night Vision Sight, Individual Served Weapon
AN/PVS-4 Starlight Scope Night Vision Sight,
                Individual Served Weapon Mount FN FAL Rifle


Background

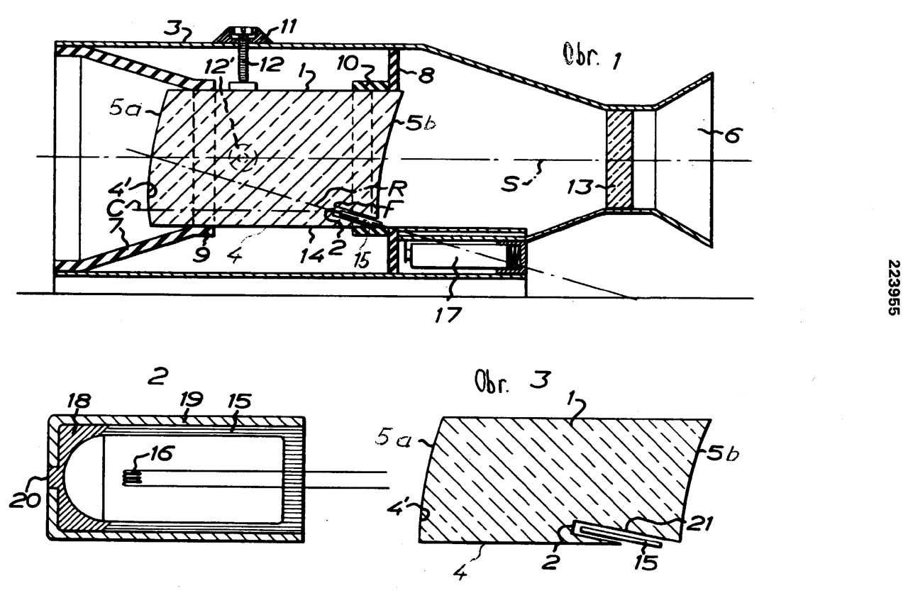
I saw an FN FAL (Wiki)at the Aldershot military show (Wiki) in England and they allowed civilians to fire it using a 22 sub caliber adapter.  It took many years to find that H&K made the adapter and get one.

DE1093265 (eSpaceNet) Device for firing small caliber ammunition from an automatic rifle, August Weisser, JG Anschuetz GmbH, 1960-11-17, -

This is classified as a battle rifle because it uses rifle ammunition, not a sub machine gun (Wiki) which uses pistol ammunition (Wiki) and not an assault rifle (Wiki) which uses ammunition in between pistol and rifle cartridges.  It's not a machine gun (Wiki) because it's not specified for continuous use.  The M14 (Wiki) is a battle rifle.  Years ago I had a Sig PE57 which was the civilian (semi auto (Wiki) only) version of the SIG SG510 (Wiki).

Miniguns (Wiki) are motorized Gatling guns (Wiki) that were used on Gunships (Wiki) and Gun Trucks (Wiki).

Markings

The rifle markings: ".308 Match", "Fabrique Nationale D'Armes De Guerre-Herstal-Belgique", "Browning Arms Co, Morgan, Utah".
The scope markings: "Hensoldt Wetzlar" (Wiki: Carl Zeiss)), "12-120-9556", "BMVtdg 30", "Made in Germany"
Bayonet markings: "Solingen, Germany"
22 Adapter markings: Box: "Einsteckgert 5,6mm x 16 fur Gewehr G1, -Ausfuhrng B-" (note this label is not correct, i.e. the box was for an M16 sub caliber device)
                                         " Conversion Kit 7.62 Millimeter Rifle .22 Inch Caliber L12A1 (for the L12A1 FAL or similar rifle)
                                         "6920-12-147-6954" (NSN)
                                          made by H&K

Video

YouTube - FN FAL (full disassembly and operation) - computer animated

Related

40mm Gernades & Related
Hammerlli M150 Free Pistol
Ruger SP101 357 Magnum Revolver
Daisy BB Guns
Pop Guns
Survival Kit with pen flare gun
Semi-automatic Weapons

Ballistics

There are three regimes: Internal (Wiki), External (Wiki) and Terminal (Wiki).  Each of these contains some non intuitive aspects. 
YouTube: Fundamentals of Ballistics, 18:04 - W.W. II vintage. Covers: Interior, @ 8:52: Exterior & @12:08: Terminal
also see Ref 9 Fundamentals of Ballistics.

Internal

When trying to do computations in order to design a line thrower based on a commercially available blank, either pistol, rifle or construction, I found it impossible to get from powder type and weight to the amount of gas generated.  It turns out that because of the high pressures the chemical reaction is much different than what happens in an open crucible.
Wiki: Gunpowder Chemical Reaction -

2 KNO3 + S + 3 C  K2S + N2 + 3 CO2. is the simplest reaction.

Symbol
atomic wt.
g/mole
K
39.0983
N
14.0067
O
15.9994
S
32.065
C
12.0107
The left side weight= 2 * (39.0983 + 14.0067 + 3*15.9994) + 32.065 + 3*12.0107 = 270.3035
The right side weight= 2*39.0983 + 32.065  + 2*14.0067  + 3*(12.0107 + 2*15.9994) = 270.3035
The gases are Nitrogen 14 grams and carbon dioxide 66 grams.

for any gas at STP (Wiki) 1 mol= 22.4 L.
so there's 22.4 L of Nitrogen and 67.2 L of CO2 for a total of 89.6 l of gas at STP.

Combined Gas Law (Wiki):


The purpose of rifling could be placed here, but I put in under External because of the effect it has while the projectile is in flight.

YouTube: Loading black powder 38spl blanks, 12 grains (0.777 grams) of Schuetzen FFFg black powder for a .38 special blank + 0.7 cc of cream of wheat to fill the space below a 1/2" thick cork plug.

0.777 / 270.3035 * 89.61 L = 0.2575 L = 257 cc of gas from the .38 blank.
The case capacity of a .38 special (OO Cities) is 24 grains and is 1.160" tall.

A grain = 64.79891 milli grams (Wiki) unit of weight.

So the volume of the case is less than 1.160" * 0.38" = 0.4408 cu in (7.223418 cc).

If the temperature after firing was 273 K (not likely, but a place to start) then the pressure would be 257cc / 7.22cc = 35.59 atmospheres or 523 PSI.
If the temperature also went up the pressure would be higher.
A (Very) Short Course in Internal Ballistics - says flame temperature is about 3300 F (2089K) so:

P2 = V2/V1 * T2/T1 * P1 = 257cc/7cc * 2089K/(273 +25)K * 14.7 PSI = 3783 PSI.
This is a first order approximation.  The actual chemical reaction is much more complex than shown above.  But this should be in the ball park.
If the flame temperature is not known, but the chamber pressure is known, the above equation could be rearranged to solve for temperature.

567536 Gunpowder, Edward Dickson, Sep 8, 1896, - just parking this here.

Ballistics by the Inch - Raw Data - 2011 Data on .22 - .22 summary - Muzzle Energy v. Barrel Length -
table based on BBTI data above using plots of muzzle velocity v. barrel length to choose shortest barrel to get highest velocity.
This is because once the barrel is long enough to burn all the powder making it longer adds nothing.
Round
End of Burn
Barrel Len In.
Vel
fps
Muzzle Energy
ft lbs
Time in Barrel
ms
CCI 27 gr. CPHP
9
1100
73
0.68
CCI 29 gr. CPRN
14
1100
78
1.06
CCI 32 gr. CPHP
Stinger
13
1500
160
0.72
Remington 33 gr. HVTCHP
Yellow Jacket
16
1400
144
0.95
Remington 36 gr. HVTCS
Viper
12
1300
135
0.77
Remington 36 gr.
Golden BUllet HP
11
1180
111
0.78
CCI 40 gr. CPRN
MiniMag
11
1200
128
0.76
Winchester 40 gr.
Super XRN
13
1250
139
0.87
CCI 40 gr. CPHP
Volocitor
16
1380
169
0.97
Aguila 60 gr.
SSS
12
900
108
1.11

YouTube:
Thunderf00t: Understanding Explosions! - Wiki: Expansion ratio; common Adiabatic flame temperature; Table of explosive detonation velocities (near speed of sound in solid);
Tom Scott: Why Real Explosions Don't Look Like Movie Explosions -

External

While the trajectory is parabolic when there is no air resistance, the actual trajectory is far from parabolic in the real world.

References

Exterior Ballistics with Applications by Gjergj Klimi.  Got this while learning about Mortars with Proximity fuzes.  The Piton-Bressant procedure is mentioned in THE book on proximity fuzes (Ref 11) in relation to testing mortar rounds and in Elements of Exterior Ballistics.doc also by Klimi.

Quora: Why do modern tanks have cannons with smoothbore barrels instead of rifled guns that should be more accurate?  -

NDRC, Div 7, Vol 1, Gunfire Control, 1946 - This is all about how to realize functions in electrical circuits and totally missis the practical problems with long time of flight.
4536928 Manufacture of projectiles, Roger W. Nicklas, John E. Reynolds, Randall L. Schiestl, Honeywell, 1985-08-27, -

Time of Flight

This is a critical factor that does not get enough attention.  When shooting at a moving target the probability of a hit (Wiki: CEP) goes down as the time of flight goes up.  If a someone thinks they might be a target it is not difficult to do anything other than stand still or move in a straight line at a constant speed.  This applies to animals as well as military vehicles. For example: acting squirrely.

Some Rifle Grenades contain a small rocket motor the purpose of which is to shorten the time of flight to increase accuracy against moving tanks.  This is probably one of the key advantages of the RPG-7 (Wiki). 

This is the basis of my comments on torpedoes, big guns that fire at high elevation angles i.e. indirect fire (Wiki), dumb bombs

Ballistic Coefficient

When shooting at a range of 1,000 yards (about the same as 1,000 meters) or more there are a number of corrections to the aiming point that need to be made.
Wiki has a section titled "Long Range Factors" on their External Balistics web page.  Wiki also has web pages for:
Internal ballistics
Trajectory of a projectile
I've ordered the book "New Exact Small Arms Ballistics: The Source Book for Riflemen" by Arthur J. Pejsa (Wiki: Pejsa Model)
The key idea is that the "Ballistic coefficient" (BC) (Wiki) was developed in antiquity and has a problem at some bullet Mach numbers.

In addition it turns out that the Coriolis Effect (Wiki) is very important at 1000 yards (more important than some of the more common ideas).
The Eötvös effect (Wiki) may also be important (don't remember it being in the book).  Both of these are because the Earth is rotating.
For example where a bullet goes depends on the azimuth the gun is pointing.

Pejsa points out that the stability of a projectile is improved if the center of gravity (Cg) is at the same location as the center of pressure (Cp).  When these are at different locations the projectile is less stable.  Is there a commercial .308 round where these are at the same location?  Let me know.
From the gyroscopic discussion below I would expect that if the Cp was far behind the Cg, like an arrow, that would lead to higher stability.  This is covered in the book "Spinning Flight: Dynamics of Frisbees, Boomerangs, Samaras, and Skipping Stones", see: 40mm\Ref 33.  Because of the conservation of momentum rockets can become unstable and tumble end over end.
Does someone make a shotgun round that contains a cross bow bolt (Wiki, Projectiles)?  Some engineering would be needed to balance the weight of the bolt and the amount and type of gunpowder.  In addition the cg location, shaft length and fin area also need to be optimized.  The goat would be to get the arrow to have an angle of attack that is parallel to its trajectory.  That minimizes wind resistance, minimizing flight time and maximizing accuracy.

2025 Remington MSR (Wiki); YouTube: Why Every U.S Sniper Switched to this Extreme Rifle, 19:41 - .338 Lapua Magnum (Wiki)

Gyroscopic Instability

While learning about gyroscopes I read (Gyroscope Reference 3, 1913) that (1) the purpose of rifling in a gun barrel is to slow down the bullet so the (black) powder has more time to burn and develop higher pressure and that (2) at long ranges the spinning of the bullet makes it less accurate.  The second effect comes about because the bullet is gyroscopically stabilized and it's centerline stays parallel to the centerline of the barrel throughout the trajectory.  That means that as soon as the trajectory bends the bullet is no longer pointing along it's path but instead pointing to one side.  The larger the angle difference between the barrel centerline and the trajectory the more the bullet is pointing the wrong way.  Note that an arrow is aerodynamically steered so that it always points in the direction of travel.  If a bullet was made like an arrow with a tail that could keep it pointing forward it would be much more stable (accurate).  Note the gyroscope book reference 3 is about 100 years after the below papers on Gunnery and Rifled Barrels.

The Mk44 Bushmaster II (Wiki, Alliant Techsystems) is demonstrated on Future Weapons Season 3 (Netflix streaming video).  The interesting thing is that after using a laser range finder to determine the distance to the target then programming the shell to explode either just prior to the target, at the target or after going some distance behind the target.  This is similar to the capability of the XM 25mm grenade rounds that are being developed.  The Mk44 does this by measuring the Earth's magnetic filed and using that to count the rotation of the round.  Patent 5497704 Multifunctional magnetic fuse explains how it works.  Note the fuse includes an impact sensor, time delay, turn counting, magnetic (proximity) sensor .  After the programmed number of turns the shell explodes.  The muzzle velocity is about 1,000 meters/second so for 1 meter stability the rifling pitch is about 1 turn per meter.  Trivia:  A similar method was used in the Kettering Bug where propeller turns were counted.

The CheyTac Intervention (Wiki, ) fires the .408 Chey Tac (Wiki) round which includes the patented Balanced-flight controlled-spin projectile concept. 
6629669 Controlled spin projectile, Warren S. Jensen, Cheytac (Lost River Ballistic Tech), 2003-10-07, -

The outline of the .408 is very similar to the Barrett .416 (Wiki) (I wonder if Barrett copied the .408 but made it a little different?).  The
Barrett Optical Ranging System (BORS) is based on the old fashioned BC idea and includes left-right tilt which Pejsa has shown to be faulty.

Accuracy International (Wiki) makes sniper rifles in various calibers but not the .408 or .416.
Trijicon CCAS Continuously computed aiming solution 50 - 2000 meter auto ranging, baro pressure, inclination,
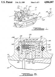
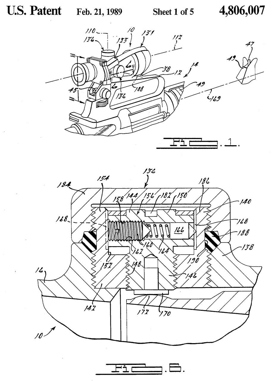
4806007 Optical gun sight, Glyn A. J. Bindon, Armson, Inc., Feb 21, 1989, 359/424, 42/122, 359/429, 359/431
7676137 Optical sight, Darin W. Schick, Newton Quan-Chung Kwan, Timothy H. Miller, Jerry Glen S. Elpedes, Trijicon, Inc., Mar 9, 2010, 385/147, 385/134, 42/111, 33/298, 42/132, 33/297 - has provision for digital data in field of view. - What is model number of just scope with data display?
The Kestrel 5700 is mechanically and electrically identical to the Kestrel 5500 Fire Weather meter, except it has firmware for Ballistics.

The 4.2" Mortar (Wiki: M2, M30) has a rifled barrel and so the firing tables have a correction for wind/spin drift that's caused by wind resistance acting through the gyroscopic moment of the projectile.  Smaller caliber mortars with smooth bores do not have the drift correction.

Rifling (Gyroscope)

New Principles of Gunnery 1805 (Free Google Book) has papers from the prior 50 years.  The first 380 pages are about interior and exterior ballistics of round projectiles fried from black powder guns (3/4" lead balls and 24 pound iron balls).  In those pages he shows that air resistance greatly reduces the range you would get in a vacuum and so the trajectory is far from parabolic.  I expect this is also true of dumb bombs, that's to say the trajectory is far from parabolic. (The same as water from a nozzle).

In the section titled  On the Nature and Advantage of Rifled Barrel Pieces the reasons those on the continent (Europe) said were it's advantages are:

The projectile was a round lead ball, either forced into and down the barrel where the lead deformed to match the barrel or in a leather patch where the lead was not deformed.  The latter had much higher muzzle velocity because there was much lower friction, but still for the same powder charge used with the smooth bore the velocity was lower than a smooth bore.

The author then makes that case that the main advantage is that the effect of air resistance on a ball with any defects (in Cg or aerodynamics) will be averaged because of the rotation of the ball. (This is the stability improvement provided by rifling, not the gyroscopic effect which is destabilizing)
But, he also says "And in the first place I must observe, that though the bullet impelled' from them keeps for a time to its regular track with sufficient nicety; yet; if its flight be so far extended, that its track is much incurvated, it will then of ten undergo considerable deflections. This, according to my experiments, arises from the angle at last made by the axis, on which the bullet turns, and the direction in which it flies; for that axis continuing nearly parallel to itself, it must necessarily diverge front the line of the flight of the bullet; when that line is bent from its Original direction; and when it once happens; that the bullet whirls on an axis, which no longer coincides with the line of its flight; then the unequal resistance described in the former papers will take place, and the deflecting' power hence arising will perpetually increase, as the track of the bullet, by having its range extended, becomes more and more incurvated."

Note in none of the above arguments (both European & English) is improved accuracy a benefit of rifling.  In the case of the English analysis it helps accuracy at short ranges by averaging imperfections in the ball but at longer ranges causes a lot of problems (because of gyroscopic action).

But he didn't do any experiments relating to the amount of powder that's useful in rifled barrels.  Remember with black powder that once the bullet leaves the muzzle any unburned powder is pushed out and will fall on the ground (easy to detect if a white bed sheet is on the ground).  I expect that you can use more power to useful effect in a rifled barrel, confirming the first bullet above leading to higher muzzle velocity.

Wiki: Alfred George Greenhill, formula for rifling twist for stability
Wiki: Miller twist rule - supposed to me more accurate than the Greenhill formula. How Good Are Simple Rules for Estimating Rifling Twist by Don Miller, 2000 - spin rate also depends on air density/temperature and barrel elevation angle.  Good overview paper on twist & stability.  Good list of References.

Smooth Bore

It may be the case that a modern smooth bore gun using a round made from material with uniform properties throughout would be more accurate.  That in fact is the case for modern long range artillery (Ref 4; Ref 5; Ref 6; Ref 7; Wiki: Gerald Bull, Project HARP, Super High Altitude Research Project, Other web pages:  Operation Plumbbob (Scroll to Test: Pascal-B), Learning to Contain Underground Nuclear Explosions)
note that G. Bull (Wiki: SRC, Base Bleed, Fineness ratio, GC-45 Howitzer, G5 Howitzer) developed long range accurate artillery by using a smooth bore
Torpedo: Range & Accuracy, Big Gun Disconnect
3886009 Projectile containing pyrotechnic composition for reducing base drag thereof, Walter J Puchalski, US Army, App:1973-12-13
4213393 Gun projectile arranged with a base drag reducing system, Nils-Erik Gunners, Rune V. Hellgren, Torsten Liljergren
4807532 Base bleed unit, Kurt G. Andersson, Nils-Erik Gunners,Yngve L. Nilsson, 1989-02-28, -
SE507777C2 Artillery shell firing method, Foersvarets Forskningsanstalt, 1998-05-28
Note Pascal-B was the second underground nuclear test where the ground level cover (a 4' diameter 4" thick steel plate (about 1 ton weight) was blown off at about "Six times the escape velocity from the earth."
This was caused by many tons of concrete that were vaporized by the explosion that went up the shaft and propelled the cover.  The cover vaporized like a meteor.

The US Abrams M1A1 tank (Wiki) uses a German design smooth bore gun (Wiki).  I found "Fin-stabilised projectile" while searching for patents where "Rheinmetall" was the assignee.  The US M829A2 (Wiki) projectile resembles an arrow.

YouTube: Ballistics: "Fundamentals of Ballistics" 1948 US Army Training Film TF9-1512" 1948 (18:05) - interior, exterior & Terminal, but the gyroscopic effect causing the centerline of the projectile to not align with the trajectory was not mentioned.

Terminal

The ballistic pendulum (Wiki) is not only a way to make measurements of the projectile it's also a way to understand the effect of a projectile striking a target.

Guidance

YouTube:
Extreme Accuracy Tasked Ordnance (Wiki: EXACTO) now based on .50 BMG round.

Smart Bullet (Wiki)5788178 Guided bullet, Rolin F. Barrett, Jr., 1998-08-04, -

Picatinny rail, MIL-STD-1913 rail, 2324 rail, or tactical rail, (Wiki)

eBay seller outdoorzone described as: "11.5" 2-Piece FN FAL .308 Rifle Weaver/Picatinny Aluminum Mount Accessory System"


Fig 7


Picatinny
                    rail add on for FN FAL
Rail Patents
5704155 For holding and aiming accessories for a firearm, Daniel F. Primeau, IV, Jan 6, 1998, 42/114, 362/249.11, 362/110, 42/146
There are a number of flashlights designed for rail mounting.

Method of Stadia (Range-finding)

In order to use your favorite exterior ballistics method you first need to know a number of things including the range to the target.
Most sporting telescopic sights do not include any rangefinder features and it's left to the spotter to determine range.
Most military telescopic sights include some form of ranging based on the method of stadia.
There are many types of Range Finders, a popular one is the laser range finder, but the good ones are expensive and can give away the shooter's position.

The Wiki page for angular mil really does not make it clear how it works.  The idea is that for very small angles the value of the sine of an angle (Wiki) is the same as the angle if the angle is expressed in radians (Wiki).  This comes about because of the Taylor expansion (Wiki) for the sine function.  So, if we say an angle is very small if it's 1/1000 of a circle.
So there are 1000 * 2 * PI milli radians in a circle (6283.185307....).
360 degrees / (2000* PI) = 0.057296... deg.
SIN(0.057296... deg) = 0.0010000000    That's a perfect ratio of 1 to 1000.
So... if you have two marks on a telescopic sight that are separated by 1 milli radian an object that's 1 yard tall will perfectly fit between the marks at a range of 1,000 yards.
If the object is 8" tall and fits a 1 milli radian angle it's range is 8,000 inches or 666.66 feet or 222.22 yards.

Note:  Minute of Angle (MOA) (Wiki) is a different thing.
A rule of thumb is that 1" at 100 Yards is a MOA.  Note: 100 Yards = 300 feet = 3600 inches.
Since a minute of angle is 1/60 of a degree and SIN(1/60) = 0.000291, and 3600" * SIN(1/60) = 1.047" the rule of thumb is close enough. 
This is also a very small angle but is different than an angular mill which would be 3.6" at 100 yards.
MOA is typically used to express the accuracy of a rifle whereas angular mils are used for range finding or aiming artillery.

Stoner

Added paragraph after watching Forgotten Weapons: Yes, the AR-14 is a Real Gun...Sort Of - where patent 2951424 is disclosed.  Note Fairchild used aluminum for planes so wanted to use it for firearms.

2903809 Cartridge magazine of aluminum or magnesium, Eugene M Stoner, Fairchild,App: 1956-02-21, Pub: 1959-09-15, -
2951424 Gas operated bolt and carrier system, Eugene M Stoner, Fairchild, App: 1956-08-14, Pub: 1960-09-06, - this is the AR-14
3035495 Cartridge feeding mechanism, Eugene M Stoner, Fairchild, App: 1958-07-03, Pub: 1962-05-22, - An AR-15/M-16 with either belt or magazine feed
3045555 Automatic trigger mechanism with three sears and a rotatable control member, Eugene M Stoner, Fairchild, 1962-07-24, - M16 trigger group
D188193 Gen, Eugene M Stoner, 1960-06-14, M16.  - cites: 2400422 Johnson & 2826848 Davies
D192032 Rifle, Eugene M Stoner, , Fairchild, 1960-01-09 - AR-7 Survival Rifle (Wiki)
5284081 Lightweight grenade launcher, Eugene M. Stoner, Seth Bredbury, John Wilson, Saco Defense Inc, 1994-02-08, - 40mm belt fed machine gun. An improvement of the Mk 19.  Explains how conservation of momentum and recoil kinetic energy are managed the gun is lighter AND easier to control.

SOPMOD M4 Accessory Kit

In the Wiki page for this kit there's an image showing a number of accessories and their name & NSN.
This is really about a variety of optical sights.1960-01-09, - AR-7 Survival Rifle

Nomenclature
Description
NSN
Link
M4A1
Carbine w/Carrying Handle
1005-01-382-0953

Reflex Sight Trijicon, RX01M4A1, 1X24, Amber Reticle and Dot 1240-01-435-1916
eBay-Trijicon, Wiki
5653034 Reflex Sight
20040047586 R.S. mult pwr sources
ECOS-N
Aimpoint CompM2 (M68 Close Combat Optic))
1240-01-495-1385
Wiki,

Trijicon ACOG 4x32, 4X Day Optical Scope 1240-01-412-6608
eBay
7676137 Optical sight
8336776 Ballistics computer
8364002  ACOG
8919650 Optical device, Browe Inc, Cites 40,

AN/PEQ-5
Insight, Carbine Visible Laser 5860-01-439-5409
Wiki,
AN/PEQ-2
Infrared Illuminator 5855-01-422-5253
L3, Wiki
AN/PVS-17A
Mini Night Vision Sight (replaces the PVS-4)
5855-01-474-8904
eBay, Optics4Birding

Backup Iron Sight
1005-01-449-6306

PVS14 (Wiki)
PVS18
M68
Universal Pocketscope Mount
5855-01-482-6164
5855-01-485-7749
5855-01-465-7755


Forward Handgrip
1005-01-416-1091


Visible Bright Light
Surefire M952NXM07 Millennium
5855-01-501-3081 eBay, Surefire, KM3 LED

Sound Suppressor Kit
1005-01-437-0324
patent 6595099 ?

Rail Interface System
1005-01-416-1089

M203 (Wiki)
9" (40mm) Barrel Assembly
1010-01-410-7422
eBay,

40mm Grenade Launcher Sight
1010-01-418-4588

AN/PSQ-18A
M203 Day/Night Sight (DNS)
1010-01-516-0953
eBay,
M320 Grenade Launcher Module (Wiki) - to replace the M203
M26 Modular Accessory Shotgun System (MASS) (Wiki) - Option instead of the M203 or M320 - 5 shot pump 12 ga shotgun.
Probably based on the C-More Systems CMC-M1 straight pull 12ga clip feed shotgun.

9459060 Modular firearm, Kevin Langevin, Kevin Audibert, Colt's Manufacturing, 2016-10-04, - "
The receiver is adapted to couple with a plurality of upper receivers having different calibers."
cites 116 patents;
 
Close Quarters Battle Receiver (Wiki CQBR) & close quarter combat (Wiki)
7325354 Weapon aiming device, Richard P. Grauslys, Allen R. Harding, Insight Technology, Feb 5, 2008, 42/131, 42/123 -
corrects many of the problems with the red dot sight.

Sights 

A subset of Sights (Wiki) are Optical Sights, which include (also see aircraft Sights):
Iron sight (Wiki) in M16 Carry Handle
3742636 Firearm having a carrying handle and associated rear sight, J DealyM York, Fairchild Ind, 1973-07-03, - line of sight parallel to barrel and closer than stock.  Stock sight is at top of handle so at an angle to barrel.
Telescopic (Wiki) - A telescope with adjustable cross hairs.  Parallax compensation (Wiki) for more accuracy
                                To test for parallax move eye left <-> right and see if reticle stays fixed relative to target.
                                Surveyors do this as part of the procedure of adjusting the eyepiece focus on the reticle.
                                Dragunov PSO-1M2 Scope.
                                476874 Telescopic rifle-sight, Lawson C. Cummins, 1892-06-14, - right side up optics, similar to the Day or Night Telescope
                                737872 Gun-sight telescope, George N Saegmuller, Mar 17, 1903, 359/421 -
                                2207124 Rifle-sighting telescope, Frederick L G Kollmorgen (History), 1940-07-09, - long eye relief rifle scope
                               M32 IR Tank Gun Sight;
                              
Reflector (Reflex) Sight (Wiki). The heads up display (Wiki) is based on the reflex sight developed in W.W.II., now thery are in cars (Wiki).
   PSS                      Included are Red Dot sights (Wiki) and Gyro (Gyroscopes) sights (Wiki); RPG-7 Reflex sight;
                               PS a big problem with the original Red Dot was that the small coin cell battery would be quickly drained if you forgot to turn it off.
                               4330706 Photocell controlled power supply circuit for an LED, Aimpoint Ab, May 18, 1982, 250/214.0AL, 250/208.4
                               The CompM2 (M68/CCO) has been replaced by the CompM4 (Wiki)
                               Howard Grubb (1844 - 1933) Wiki: Optical work: Reflex sight & periscope
                               Book:  Victorian Telescope Makers: The Lives & Letters of Thomas & Howard Grubb by I.G. Glass, 1997
Collimator sight (Wiki) - the cross hairs appear to be at infinity, common on mortars and field guns, and aircraft gun sights.
                                  also see: Optics\Collimators; Mk20 Gun-Bomb sight; Panoramic Telescope M12; Navy Mk. 18 Gun Sight;
                                
The Bindon aiming concept (Wiki: BAC)) has been incorporated in the Advanced Combat Optical Gunsight (ACOG)
                                 (Wiki: ACOG) and combines reflex,prisim and collimator sights.
                                  Where the MARINES right to leave IRON SIGHTS behind?, 9:05
                                   4806007 Optical gun sight, Glyn A. J. Bindon, (Armson, Inc., Trijcon), Feb 21, 1989, 359/424, 42/122, 359/429, 359/431 - ACOG

Holographic Sight
(Wiki) - uses a laser diode to illuminate a hologram in a reflex sight type housing.
                                    4012150 Holographic light line sight, Juris Upatnieks, Environmental Research Institute Of Michigan (EO Tech), Mar 15, 1977, 356/247, 89/41.06, 359/32, 89/41.19, 359/15
                                   
Holographic weapons sight as a Crew Optical Alignment Sight - NASA  - the COAS is a collimator type sight                                  

Add On Optics - Note that the light coming into the front of all the above sights is collimated (Wiki) and so an optical accessory can be placed on the Picatinny rail (Wiki) and if it's output is also collimated will work with the sight.  For example a night vision adapter.  In a similar fashion an optical device can be placed behind sights that have collimated outputs, like the reflex and collimator sights.  For example a low power telescope.  Note for this type of add-on optic to work the output optical centerline of the front device needs to be the same as the input optical centerline of the rear device.  This might happen because the manufacturer of both devices made them to work together or because a height adapter is used (just an idea).
So in these cases the Picatinny rail is working as an Optical Bench (Wiki).

TrackingPoint (Wiki, YouTube)

2022Sep5: YouTube: Dark Tech: The Aim Bot Rifle that Turns Any Loser into a Deadly Sniper, 8:56 - had many problems.

It allows trigger pull only when properly aimed.  Modes of Operation:
Suppressive Mode (YouTube, 2:26) - like conventional scoped rifle.
Pecision Targets Mode (YouTube, 1:33) - half trigger pull turns on stabilization, similar to camera half shutter press.
Auto Acquire Mode (YouTube, 1:14) - "To eliminate human error when grouping multiple shots on the same target, use Auto-Acquire Mode. In this mode, the system remembers both your target’s outline and the designated lock point within it from prior shots."
Precision Movers Mode (YouTube, 1:17) - moving targets
Night Mode (YouTube, 1:03) -

WO2011102894 Advanced firearm or air gun scope, John Hancock Lupher, John Francis Mchale, TrackingPoint, 2011-08-25, - Cites 34 prior art patents, Cited by 23 patents, "An integrated firearm or air gun sighting scope that measures and automatically compensates for human unsteadiness (Jitter and Trigger Jerk), angle of shot, distance of shot, and bullet ballistics. The scope uses a combination of shot simulation, attitude tracking and synchronized fire control to achieve excellent accuracy without major modifications to the firearm or air gun."

20150211828 Automatic Target Acquisition for a Firearm, John Hancock Lupher, TrackingPoint, 2015-07-30, - See Talon Precision Optics;

High Standard 10B Shotgun

A few decades ago I had one of these and today saw a YouTube video about it where the inventor's name was mentioned, so here's the patent:
2970398 Mechanism to enable firing of shotgun with one arm, Alfred H. Crouch, Feb 7, 1961, 42/69.1, 42/106, 42/72, 42/70.6, D22/103, 89/4.5, 89/1.42, 42/41, 42/73, -
Forgotten Weapons: High Standard 10B: Disassembly and Attempted Shooting  - loose pin in trigger group caused malfunction.

Interesting 22LR

FN 22 Adapter

The FN FAL with the H&K 22 sub caliber adapter, Fig 5 above, is my most interesting 22 gun. 

AR-15 22 Adapter (and Bolt Bounce)

Bolt-Bounce

Mentioned in relation to the FN P90.
Patent 3771415 seems to be the oldest that contains "Bolt Bounce".
Searching Wiki for "Bolt Bounce" brings up a number of hits.
The Sterling SMG used two recoil springs to suppress bolt bounce (Wiki) but did not patent that aspect.
Mitigation measures are sort of like a dead blow hammer (Wiki).

I also had a 22 conversion kit for my AR-15. 
3771415 Rifle conversion assembly, H Into, R Costello, Colt Ind Operating Co, 1973-11-13, 89/16; 42/25; 89/29; 89/197; 42/16; 42/49.02; 89/128; 89/198 - "bolt bounce" mitigation measures  -
3776095 Weapon conversion bolt assembly device, M Atchisson, 1973-12-04, - works in full auto or semi auto modes.
4098016 Automatic and semiautomatic small caliber conversion system, John P. Foote, US Armament Corp, 1978-07-04, - note that the .223 round is fired through a .22 barrel so no barrel sleeve is needed.
4169329 Weapon conversion apparatus, Maxwell G. Atchisson, 1979-10-02, 42/16; 42/49.02 - AFAICR: this seems like the one I had - weight (88) works like a dead blow hammer to lower cyclic rate of fire and more important to mitigate "bolt bounce".
4297800 Cartridge magazine for firearms, Maxwell G. Atchisson, 1981-11-03, 42/49.02- "The weight (8) thus eliminates or reduces bolt bounce during full-automatic fire, as well as reducing and controlling the cyclic rate of fire with the present conversion apparatus."
USH926 (statutory invention registration) Rimfire blank adaptor (sic) kit for m16 rifles, Raymond A. Mahtook, Army, 1991-06-04, 89/128; 42/77; 89/29 - "...conversion kit for allowing an M16 rifle to fire .22 caliber ball and blank ammunition in semi-automatic and automatic firing modes,..." "FIG. 2, showing detent means for preventing bolt bounce;..."
5909002 Buffer for firearm, Maxwell G. Atchisson, 1999-06-01, 89/130; 42/1.06; 89/199; 89/198 - for the M-16 "... improved buffer for reducing the cyclic rate of fire..." from 750RPM to 500 RPM.
"The modified buffer assembly 50 is intended to minimize occurrence of bolt bounce or rebound, which may interfere with dependable operation of a firearm such as the M-16 rifle. Bolt bounce occurs when the forward end of the bolt carrier suddenly strikes a confronting steel surface when the bolt carrier reaches the battery position. The bolt carrier momentarily bounces or rebounds from the full-forward position, and this rebound may cause a misfire to occur in full-automatic firing if the hammer of the rifle strikes the firing pin during rebound.

Survival Guns

Marble Game Getter (Wiki, Marble Arms)

YouTube: Marble's Game Getter Gun ... Pre M6 Scout!, 13:01 -
Model 1908: 1908 - 1918
Model 1921: 1921 - 1962
3rd Generation: 2009 (replica of Model 1908 but with 18.5" barrel)

931328 Firearm, Webster L Marble, 1909-08-17 -
                  Marble Game Getter Marble Game Getter
931328 Firearm, Webster L Marble, 1909-08-17, -
cited by 22 patents:

961511 Folding stock for firearms, Webster L
                  Marble, 1910-06-14 - Marble Game Getter
961511 Folding stock for firearms, Webster L Marble, 1910-06-14, -
982150 Lock
                          for multibarreled guns, Webster L Marble,
                          1911-01-17, - Marble Game Getter
982150 Lock
                          for multibarreled guns, Webster L Marble,
                          1911-01-17, - Marble Game Getter

982150 Lock for multibarreled guns, Webster L Marble, 1911-01-17, - 
982151 Rear sight, Webster L Marble,1911-01-17, -
                  Marble Game Getter
982151 Rear sight, Webster L Marble, 1911-01-17, - 
982152 Hammer for double-barreled guns,
                  1911-01-17, - Marble Game Getter
982152 Hammer for double-barreled guns, 1911-01-17, - 

Savage Model 24 (Wiki .22/.410-3")


2259397 Firing-pin selector device for firearms,
                  Wilfred I Smith, Savage Arms, 1941-10-14, - Savage
                  .22/.410, Model 24
2259397 Firing-pin selector device for firearms, Wilfred I Smith, Savage Arms, 1941-10-14, -


M4 Survival Rifle (T38) (Wiki)

M4 Survival
                  Rifle (T38)
1949 - 1952 .22 Hornet
FSN: 1005-575-0070
Fires the 0.22 Hornet center fire cartridge.  Wire folding stock. bolt action with 4 round magazine. peep sights.
See TM 9-500 page 2-67 (pdf page 68).
A precursor to the M6 Scout (Wiki).

YouTube: H&R M4 Survival Rifle: the Pilot's Game-Getter, 9:53 -
@0:40 M4 Aircrew Survival Rifle - precursor: Stevens model 22-410, 16" barrel so ...NFA
@1:11 M30 Survival Drilling - German
@5:25 M6 Aircrew Survival Weapon - 15" folded, i.e. survival seat size.
YouTube: M4 Survival Rifle At The Range (For Real This Time!), 9:38 - problem with misfires,
YouTube: H&R M4 Survival Rifle: Handy But Short-Lived, 9:38 - failed to fire

M6 Aircrew Survival Weapon

There were different versions that utilized .22 Hornet or 22LR on the top barrel and .45 Colt/.410 shotgun on the bottom barrel.

M6 Aircrew
                  Survival Weapon
1952 - 1970s  .22 / .410
The M6 Aircrew Survival Weapon (Wiki) aka Springfield Armory M6 Scout (Wiki) looks very interesting. YouTube: Forgotten Weapons - M6
 
TM 9-500 page 2-77 (pdf page 78) (TM_9-500.pdf)

ArmaLite AR-7

I had one of these and while it may be practical seems cheap.   The long clip probably can not be stored in the stock.  when closed up (and maybe when in shooting condition) it floats.
ArmaLite AR-7
1958 22 Long Rifle
Stock holds receiver-barrel and clips with the butt cap as a lid.  Based on the Armalite AR-1 bolt action .22 Hornet
D192032 Rifle, Eugene M. Stoner, 1962-01-09, -
                  AR-7 design
D192032 Rifle, Eugene M. Stoner, 1962-01-09, - AR-7 design

Henry AR-7 Survival Rifle (based on ArmaLite AR-7 (Wiki) -
Armalite AR-7: the Survival Rifle Evolves, 20:39 -

Ruger 10/22 Take Down

With the Magpul X-22 Backpacker Stock - See Ref 3.

Rossi Brawler

See Ref 10.
9" barrel, 45 Colt/410 pistol, rifled barrel (1 turn in 24")

Mossberg 590 Shockwave

See Ref 10.

12 Gauge, 20 Gauge, and .410 Bore, pump action, 26.37" overall length, 14.375" barrel, so not a shotgun and not an AOW.

Taurus Judge

45 Colt/410, 3" rifled barrel.
See Ref 10.

Miscellaneous 22s

This 2012 YouTube "5 Awesome .22 LR Firearms" mentioned the following:
Ruger 10/22 rifle rotary magazine semi auto (Wiki) - What ammo is he shooting at 1:04? - there is a take down version
3239959 Removable magazine for repeating gun, Mcclenahan Douglas S, Sefried Harry H, Sturm Ruger & Co, Mar 15, 1966 - 10/22 10-shot mag 

Marlin Model 60 (Wiki)

Marlin Model 60 tubular magazine semi auto - maybe the most popular 22 rifle made prior to the Ruger 10/22.

Ruger SR22 Pistol

Ruger SR22 Pistol -I like the prior Mk IV semi auto pistol that has a long history of plinking fun.
D164735 Pistol, William B. Ruger, Sturm, Ruger Co. Oct 2, 1951, - The Mk I 22 pistol
2585275 Receiver and grip connection for autoloading pistols, Ruger William B, Sturm Ruger & Co, Feb 12, 1952 - The Mk I 22 pistol
2624969 Breech block and firing pin assembly for small arms, Ruger William B, Sturm Ruger & Co, Jan 13, 1953 -The Mk I 22 pistol   
2655839
Blowback autoloading pistol, Ruger William B, Sturm Ruger & Co, Oct 20, 1953 - The Mk I 22 pistol
2933983 Semi-automatic pistol, Ruger William B, Sturm Ruger & Co, Apr 26, 1960 -

ROTC 22 Rifle

I earned a number of marksmanship medals shooting at the Stanford ROTC range.  Don't remember the make or model of the rifle but it had a military style wooden stock, leather sling and peep sights.  I've since learned that my dominant eye is the left one, so when shooting a rifle in the standard right handed way (I am right handed), i.e. using my right (weak) eye is not a good formula for good results.  Note when shooting a pistol, like the Hammerli 150 Free Pistol, you can hold it in your right hand while using your left eye.

M12 (Winchester 52 standard, 52 Heavy Barrel, 52B & 52C; Remington Model 40X-S1

These look like the rifles I used in the Stanford ROTC rifle training.

Model
FSN
52 std
1005-317-2473
52 HB
1005-317-2472
52B
1005-736-7845
52C
1005-829-6785
40X-S1
1005-694-4123

See: TM 9-1005-226-14 (TM-9-1005-226-14.pdf)
Cal. 22 high-standard automatic pistol (supermatic)
Cal. 22 Ruger Mark I automatic pistol (target model)
Cal. 38 Special, Smith and Wesson revolver K-38 (masterpiece)
Cal. 22 Rifle M12 (Winchester Rifle, Model 52) (heavy barrel)
Cal. 22 Rifle M12 (Remington Rifle Model 40X-S1)
Cal. 30-06 Winchester Rifle Model 70 (special match grade)
CZ 452 bolt action - they mention the "Trainer" as having the look and feel of a 308 rifle.
Savage Mk II  bolt action rifle  adjustable trigger
GSG STG-44 a 22 rifle with the look and feel of the MP-44. fires only 22LR High Velocity ammo.

22 Reloading

Sharpshooter 22LR Reloader - YouTube: Sharpshooter: Sells kit based on the below patent.
9335138 Combination hand tool for molding and trimming bullets, and crimping a rimfire case to a bullet to make a rimfire cartridge, Brian Nixon, Dennis Schultz, 2016-05-10

There may be a problem in that the reloaded shell may not have any primer under the dent caused by prior firing.  The more prior firings the more likely that the reloaded shell will not fire.

Gallery Guns (Wiki)

These were for use indoors and typically fired .22 BB cap (Wiki), CB cap (Wiki) or short (Wiki) rounds.

Take-down 22 Rifles

This YouTube "Top 5 .22 Takedown Rifles" mentioned the following:
Winchester 1890 led to the Winchester 62 (Wiki) - called Gallery Guns (Wiki) because of their use in shooting galleries firing 22 short or CB cap ammo.  I remember shooting these at the Santa Cruz beach boardwalk.
Since the gun breaks down into two parts a gallery owner may on purpose mismatch the parts to degrade their accuracy.

261667 Magazine Firearm, J.M. & M.S. Browning, July, 25, 1882, 42/17 -Winchester model 1890 tubular magazine pump action
Browning SA-22 Take Down (Wiki) - tubular magazine semi auto load magazine through port in stock.  My uncle had one of these and it had a very nice feel.
1065341 Take-down construction for firearms, John M Browning, Jun 24, 1913, 42/75.2, 42/1.7 - uses interrupted threads between barrel and receiver so only a quarter turn is needed 

Marlin 70PSS Papoose take down - based on the Marlin Model 60 (see above) - 22LR only in clip magazine - host to build suppressed 22
Ruger 10/22 Takedown - Sparrow Silencer 7856914 Noise suppressor, Jonathon Shults, Steven Michael Pappas, Silencerco, Llc, Dec 28, 2010 - ATI kit for 1-/22 take down  -
Chiappa little badger - seems cheap
------------------------------
Winchester 1890 "Model 90" 22 Short only (Wiki) - octagonal barrel
385238 Magazine Fire Arm, John M. & Matthew S. Browning, 1888-06-26, -
487465 Means for separably Uniting Barrels to Stocks of Guns, Thomas G. Bennett, Winchester Repeating Arms Co,  1892-12-06, -
837072 Firearm, Thomas C Johnson, Winchester Repeating Arms Co, 1906-11-27, - leaver action
993817 Tubular-magazine repeating gun, Winchester Bennett, Winchester Repeating Arms Co, 1911-05-30, -
-----------------------------
Winchester Model 1906 (Wiki) - round barrel, 22 S, L, or LR, Patent dates: 1914-05-10, 1906-11-27 (837072), 1892-  , 1888-06-26, 1911-05-30
1065342 Safety device for firearms,
John M Browning, 113-06-24, - for .22 rifle
1083384 Firearm,
John M Browning, 1914-01-06, - tubular mag in stock.
1095801 Cartridge-tube, John M Browning, 1914-05-05, - for use outside gun, i.e. for quick loading.
1143170 Firearm,
John M Browning, 1915-06-15, - pump shotgun M1912? (Wiki) internal hammer (M1897 (Wiki) has external hammer)
-----------------------------

1065341 Take-down construction for firearms,
John M Browning, 1913-06-24, - not clear which rifle this applies to.

1083384 Firearm, John M Browning, 1914-01-06, - Eleven shots of .22 LR load into tubular magazine.  The spring follower is at butt plate but the loading port is on the right side of the butt stock, semi-auto - The Browning SA-22 (Wiki) Remington made it as their Model 241.

421663 Magazine fire-arm, J.M. & M.S. Browning, Winchester Repeating Arms Co, 1890-02-18, - Pump Shotgun, Model 97 (Wiki)
1276716
Firearm, John M Browning, 1918-08-27, - Colt Woodsman (Wiki)
1372336
Firearm, John M Browning, 1921-03-22, - extractor works with greased 22 ammo.
1381448
Firearm, John M Browning, 1921-06-14, extractor works with greased 22 ammo.
1424553
Firearm, John M Browning,1922-08-01, - FN Trombone (Wiki) take-down 22 Short, Long or LR

Parlor Pistols (Wiki)

25470 Breech-Loading Fire-Arm, Joseph Rider, E. Remington & Sons, 1859-09-13 - Remington Rider Single Shot Pistol (Wiki).

22 Short Guns

I'm guessing that these must have bolt, pump or lever actions if a rifle because I suspect that semi-auto 22 rifles need at least Long Rifle ammo.
Pistols might be of the Derringer type, revolvers and there are a number of .22 short semi-auto pistols (Beretta 950 BS Minx M4: YouTube), Walther, Colt, High Standard, Astra, (some of these are "Olympic" pistols since there is a 22 short competition).

Kel-Tec

KSG Shotgun - Bull Pup (Wiki) with two 6 round magazines (I used to have a High Standard 10B (Wiki)
8819976 Tubular magazine firearm with sheet metal receiver, George Kellgren, Kel-Tec Cnc Industries, Inc., Sep 2, 2014, 42/6, 42/75.03

Federal Firestick

The Federal Firestick (Wiki: .50-120) was introduced in 2019 and technically qualifies as a muzzle loading system in half the U.S. states in terms of the hunting rules.
So far there are a couple of muzzle loading rifles chambered for this round.
Traditions Firearms NitroFire & CVA Crossfire (to be introduced in 2023).

The ammunition has three components:
1. The Federal Firestick waterproof blank cartridge that comes in 80, 100 and 120 grains of Hodgdon Triple Eight powder (probably based on their Blackhorn 209 powder),
2. The Federal 0.50 sabot round,
3. A 209 shotgun primer (Wiki) supplied by the user.

The rifles that use the Federal Firestick have a necked down chamber so that they can not be used to fire cartridge ammunition, but even so these guns require ATF firearms transfer Form 4473 (Wiki).

9146086 Muzzleloader bullet system, Bryan P. Peterson, Drew L. Goodlin, Erik K. Carlson, Lawrence P. Head, John W. Swenson, Sharon Jones, Federal Cartridge Co, App: 2013-09-30, Pub: 2015-09-29, - this is just the sabot round.
9562754 Muzzleloader systems, Bryan P. Peterson, Drew L. Goodlin, Erik K. Carlson, Lawrence P. Head, John W. Swenson, Sharon Jones, Federal Cartridge Co, App: 2015-09-29, Pub: 2017-02-07, - this is just the sabot round.
10030956 Muzzleloader systems, Bryan P. PETERSON, SR., Drew L. Goodlin, Erik K. Carlson, Lawrence P. Head, John W. Swenson, Sharon Jones, Federal Cartridge Co, App: 2017-02-07, Pub: 2018-07-24, - 46 figures.
11668549 Muzzleloader systems, Bryan P. Peterson, Drew L. Goodlin, Erik K. Carlson, Lawrence P. Head, John W. Swenson, Sharon Jones, Federal Cartridge Co, App: 2021-06-24, Pub: 2023-06-06, - Figures 1 to 19 are about the gun, Figrues 20  to 25 are about the blank cartridge, Figures 26 to 31 are about the sabot round, Figures 32 to 36 are about the constriction between the blank cartridge and the sabot round, Figures 37 to 38 are about a ramrod for hollow point rounds, Figures 39 to 40 are about a ramrod for pointed rounds, Figures 41 to 44 are about different types of rounds, Figures 45 to 46 are about the design of the blank cartridge.

Silencers (suppressor)

Added this paragraph after watching YouTube: Forgotten Weapons: Q&A: Silencers with Kevin Brittingham of AAC & Q -
Mentioned were: Silencer shop, PEW Science, Hiram Percy Maxim (Wiki) (son of Hiram "machine gun" Maxim (Wiki)
Also Winchester 94 w/ Maxim Silencer - marked Patd. March 30, 1909 (see 916885 below)
Advanced Armament Corp -

Fundamental Concepts

Sub v. Super Sonic
Mechanical noise
Barrel Length
Can Volume
Baffle v. Wipe
Weight
First Shot Pop
Amount of quieting
Nielsen Device (Wiki: Muzzle booster)
37193 Rifling
                  Fire-arms, Charles R. Alsop, App: 1862-12-16
37193 Rifling Fire-arms, Charles R. Alsop, App: 1862-12-16, 42/78; 42/79; 42/76.01 - rifled attachment screws onto a smooth bore rifle.
Claims that a fully rifled barrel has more friction that a smooth bore with his added rifled stub. Minie ball (Wiki) is mentioned.
880386 Silent firearm, Hiram Percy Maxim, Maxim
                  Silent Firearms,App: 1907-03-07, Pub: 1908-02-25
880386 Silent firearm, Hiram Percy Maxim, Maxim Silent Firearms,App: 1907-03-07, Pub: 1908-02-25, 89/14.6; 89/14.3; 89/14.05; 89/14.4 -

Fig 1: Piston closes after bullet trapping gas
Fig 2: Valve attached to back of bullet closes port trapping gas
Fig 3: holes in barrel (28) allow gas to escape

916885 Silent firearm, Hiram Percy Maxim, Maxim
                  Silent Firearms, 1909-03-30
916885 Silent firearm, Hiram Percy Maxim, Maxim Silent Firearms, 1909-03-30, 181/223; 89/14.4 -

941642 Sand-box for rifle practice, Hiram Percy Maxim, Maxim Silent Firearms, 1909-11-30, 273/410 - bullet trap
958935 Silent firearm, Hiram Percy Maxim, Maxim
                  Silent Firearms, App: 1908-11-30, Pub: 1910-05-24
958935 Silent firearm, Hiram Percy Maxim, Maxim Silent Firearms, App: 1908-11-30, Pub: 1910-05-24, 181/223; 89/14.4 -
971083
                          Muffler for firearms, Andy C Shipley, Maxim
                          Silent Firearms, App: 1909-10-02, Pub:
                          1910-09-27
971083
                          Muffler for firearms, Andy C Shipley, Maxim
                          Silent Firearms, App: 1909-10-02, Pub:
                          1910-09-27

971083 Muffler for firearms, Andy C Shipley, Maxim Silent Firearms, App: 1909-10-02, Pub: 1910-09-27, 181/223; 89/14.4 -
1017003 Silencer for Firearms, Charles H Kenney,
                  1912-02-13
1017003 Silencer for Firearms, Charles H Kenney, 1912-02-13, 181/223; 89/14.4 -
1018720 Silencing device for firearms, Hiram
                  Percy Maxim, Maxim Silent Firearms,1912-02-27
1018720 Silencing device for firearms, Hiram Percy Maxim, Maxim Silent Firearms,1912-02-27, 89/14.4; 89/14.3; 89/14.05 -
1111202 Silencer Construction for Firearms,
                  Walter E Westfall, 1914-09-22
1111202 Silencer Construction for Firearms, Walter E Westfall, 1914-09-22,  89/14.4; 181/223 -

Expansion chamber outside normal barrel.

1140578 Noiseless Gun, 181/223 -

1173687 Firearm, Eugene W Thompson, 1916-02-29, 89/14.4; 181/223 -

1229675 Gun-silencer and recoil-reducer, Eugene W Thompson (not Tommy gun Thompson Wiki), 1917-06-12, 89/14.3; 89/14.4 -

1341363 Silencer and Flash-obscurer, 181/223; 89/14.4 -

1401667 Machine-gun, 89/137; 89/193; 89/14.1; 89/33.1; 89/149; 89/191.01; 42/70.02; 42/75.01; 89/14.4; 89/33.17; 89/187.01 -

1427802 Gun Silencer, Flash Cover, and Recoil Check, 181/223; 89/14.4; 89/14.3 -

1487214 Firearm and Ammunition Therefor, 89/1.1; 89/14.2; 89/16; 89/1.7; 89/14.4; 102/435 -
1611475 Silencer, Maxim Hiram Percy, Maxim
                  Silencer Co, 1926-12-21
1611475 Silencer, Maxim Hiram Percy, Maxim Silencer Co, 1926-12-21, 181/249; 165/174 -

"The present invention relates to silencers or mufflers such as are used in connection with gas or oil engines to reduce the noise of the exhaust or in connection with various is kinds of steam and pneumatic machinery for deadening the discharge or intake noises thereof."  Wiki: Automotive muffler

Note this is assigned to the "Maxim Silencer Co" not "Maxim Silent Firearm"
2448382 Silencer, Warren P Mason, Bell Labs, App:
                  1944-10-26
2448382 Silencer, Warren P Mason, Bell Labs, App: 1944-10-26, W.W. II, Pub: 1948-08-31, 89/14.4; 181/223; 181/256 -

Wiki: High Standard HDM, High Standard,

2503491 Gun Silencer, Including Side Branch Chamber, Janz Robert, 1950-04-11, 181/223; 89/14.4 -

3385164 Silencer for small arms, Walther Karl-Heinz, Siegfried F Hubner, Carl Walther GmbH, 1968-05-28, - 

4008538 Gun, Warren A. Center, (Wiki: Thompson/Center Arms)1977-02-22, 42/78; D22/104; 89/14.3; 42/79 -

4501189 Silenced Hand-held Firearm with Rotating Tube and Sleeve, Rudolf Brandl, Herbert Doll, H&K, 1985-02-26, 89/14.4; 181/223 -
MP5 Tube can be rotated to leave barrel holes open (sub sonic & quiet) or closed (super sonic & loud).

4576083  Device for silencing firearms, Oswald P. Seberger, Jr., 1986-03-18, -

4939977 Gun Silencer and Muzzle Protector, Larry J. Stroup, 1990-07-10, 89/14.4 -

5029512 Firearm Muzzle Silencer, Gregory S. Latka, 1991-07-09, 89/14.4; 181/280; 181/223 -

5164535 Gun Silencer, John D. Leasure, Silent Options, Thirty-Eight Point Nine, 1992-11-17, 89/14.4; 181/223 -

5461962 Gun silencer arrangement, Herbert Krumm, Karl Wiemers, Rheinmetall, 1995-10-31, - for armored tank

6302009 Gun noise and recoil suppressor, Carl L. O'Quinn, Raymond W. Andrews, Jr., 2001-10-16,89/14.4; 42/79 -

6575074 Omega firearms suppressor, Joseph Daniel Gaddini, 2003-06-10, - 

7987944 Firearm sound suppressor baffle, Kevin Brittingham, Mike Smith, Hunter Terhune, Advanced Armament

8424441 Firearm suppressor booster system, Kevin Brittingham, Michael Leighton Smith, Advanced Armament Corp, 2013-04-23, - Nielsen Device - cites 177 patents. No special tools needed.
Prior Art: Advanced Armament Corp. ASAP system,
Gemtech Tundra or the (poor: set screw)
SWR Trident-9.

8579075 Blackout silencer, Kevin Tyson Brittingham, Michael Leighton Smith, Advanced Armament, 2013-11-12, - "...new cone baffle minimizes the weight of a silencer, maximizes internal volume, and effectively reduces sound and flash which are the result of a discharging firearm."  "The most efficient silencers have used combinations of baffles and varying sized expansion chambers, and/or liquid media to cool hot expanding gases."
137 patent citations,

https://patents.google.com/?inventor=Kevin+Brittingham

https://patents.google.com/?assignee=MAXIM+SILENT+FIREARMS+Co&sort=old

10969187 Inertial decoupler for firearm sound suppressor, Joseph DeJessa, Smith and Wesson, 2021-04-06, - Nielsen Device


Ammunition

487125 Cartridge, J.A.C. de la Touche, 1892-11-29, 102/430 - pointed on both ends & sabot & lubrication

Related

40 mm Grenade launchers, Rifle Grenades, Bazooka,
Aircraft
Bayonets
Blasting Machines & Land Mines
China Lake Patents - Proximity Fuze, Sidewinder Missile, +++
Daisy BB Rifles
IR Gun Sight, Tank M32
Mk 20 Mod 4 Aircraft Gun Bomb Torpedo Rocket Sight
Navy Mk. 18 Gyro Gun Sight
Pop  Guns, Water Pistols, &Etc.
PSO-1Scope Dragunov PSO-1M2 Scope night illumination
PVS-4 Starlight Scope, Night Vision Sight, Individual Served Weapon
RPG-7 Rocket Propelled Grenade Launcher
Ruger SP101 357 Magnum Revolver
Submarines
Survival Kit with pocket pen gun flare launcher
Survival Radios
Semi-automatic Weapons
Torpedoes

References

Ref 1. M1903 Sniper Rifle with Warner & Swasey M1913 Musket Sight, 14:35 -

812464 Optical instrument, Ambrose Swasey, Gottlieb L Fecker, Warner and Swasey, 1906-02-13, - a prism sight very similar to a binocular.
819948 Optical instrument, Ambrose Swasey, Gottlieb L Fecker, Warner and Swasey, 1906-05-08, - a prism sight very similar to a binocular.
820998 Telescopic sight for firearms, Ambrose Swasey, Warner and Swasey, 1906-05-22, - earlier version of sight in video.
906751 Sight device for firearms, Ambrose Swasey, Warner and Swasey, 1908-12-15, -This is the sight in the video.
Ref 2. Intro to Prism Scopes: What are they Anyway?, 13:19 - See the Warner and Swasey, Gideon Optics Micro Prism Scope - size gorws exponentially with power so not suitable for powers above 5X.  The ACOG 5.5x50 is a monster.
Ref 3. Minimalistic 22LR survival rifle battle! Who will win? Little Badger, 10/22 Takedown, Henry Survival, 16:48 -
Ref 4. 155mm ERFB Shell: Faster, Farther, Deadlier, 17:21 -
Ref 5. Gerald Bull │ Super Gun │ History Documentary, 55:22 - Frontline The Man who made the Super Gun
Ref 6. HARP Space Gun: Gerald Bull's High Altitude Research Project and the Martlet Launch Vehicles, 37:17 -
Ref 7. Book:
Paris Kanonen - The Paris Guns (Wilhelmgeschütze) and Project HARP (Wehrtechnik und Wissenschaftliche Waffenkunde), Gerald V. Bull, Charles H. Murphy, 1988, ISBN 3-8132-0304-2 - (Google Books) Wiki: Paris Gun;
Ref 8. Euler's Work on Ballistics, 39:39 - New Principles Of Gunnery by Robinson: Interior & Exterior ballistics , Magnus Effect (Wiki); Euler names "e" (Wiki);
Ref 9. Fundamentals of Ballistics, TF 9-1512, 19:11 - Interior, Exterior, Terminal.
Ref 10. ATF Hates This One Trick to Get a Short Barreled Shotgun!, 10:44 - Rossi Brawler, Mossberg 590 Shockwave,
Ref 11. How Red Dot Sights Work (What is a Collimator?), 8:13 -

2633051 Gun sight, Clinton S Davis, Swain
                    Nelson Co, App: 1945-09-28, W.W. II, Pub:
                    1953-03-31, - Nydar Model 47 Shotgun Sight
2633051 Gun sight, Clinton S Davis, Swain Nelson Co, App: 1945-09-28, W.W. II, Pub: 1953-03-31, - Nydar Model 47 Shotgun Sight
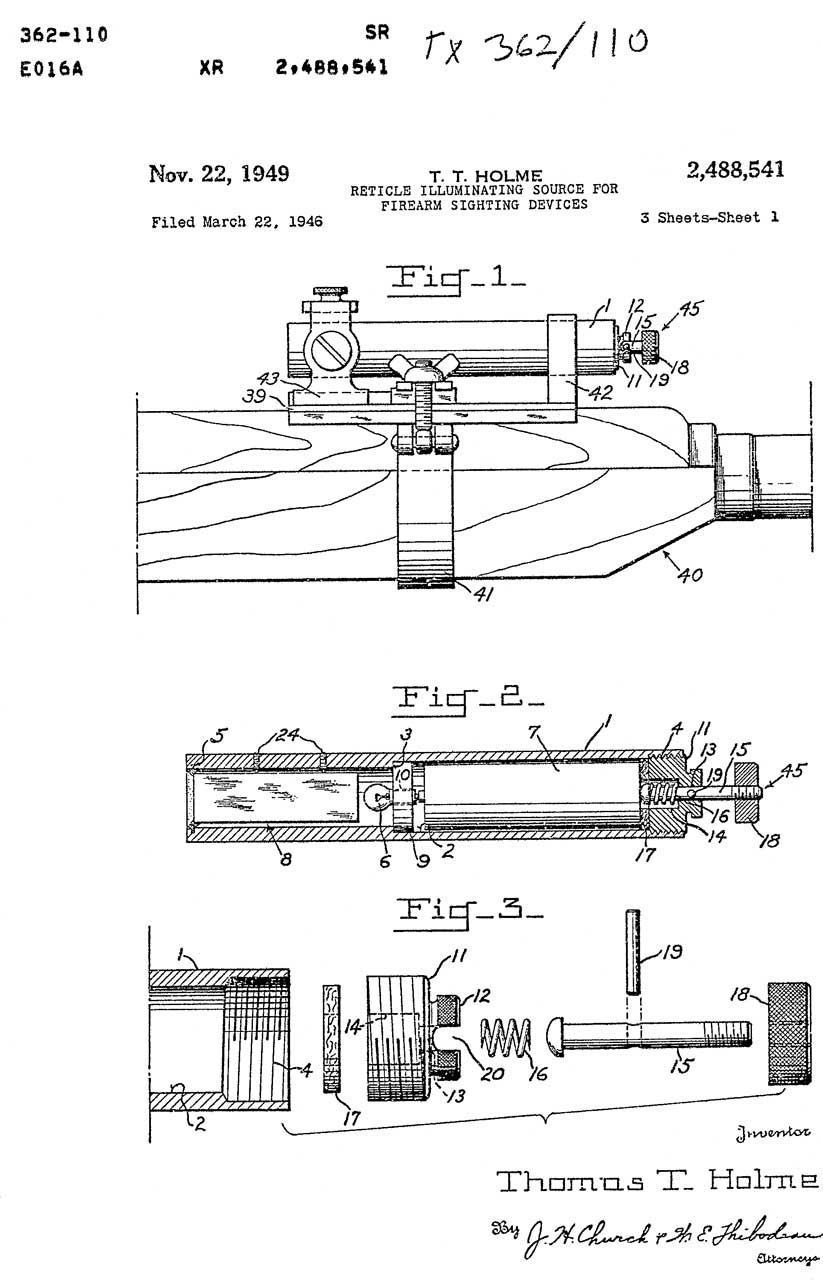
2488541 Reticle
                    illuminating source for firearm sighting devices,
                    Thomas T Holme, App: 1946-03-22, W.W. II, Pub:
                    1949-11-22, - Armson Oculled Eye Gunsight (OEG)
                    black field of view & illuminated reticle
2488541 Reticle illuminating source for firearm sighting devices, Thomas T Holme, App: 1946-03-22, W.W. II, Pub: 1949-11-22, - Armson Oculled Eye Gunsight (OEG) black field of view & illuminated reticle; cited by 14 patents
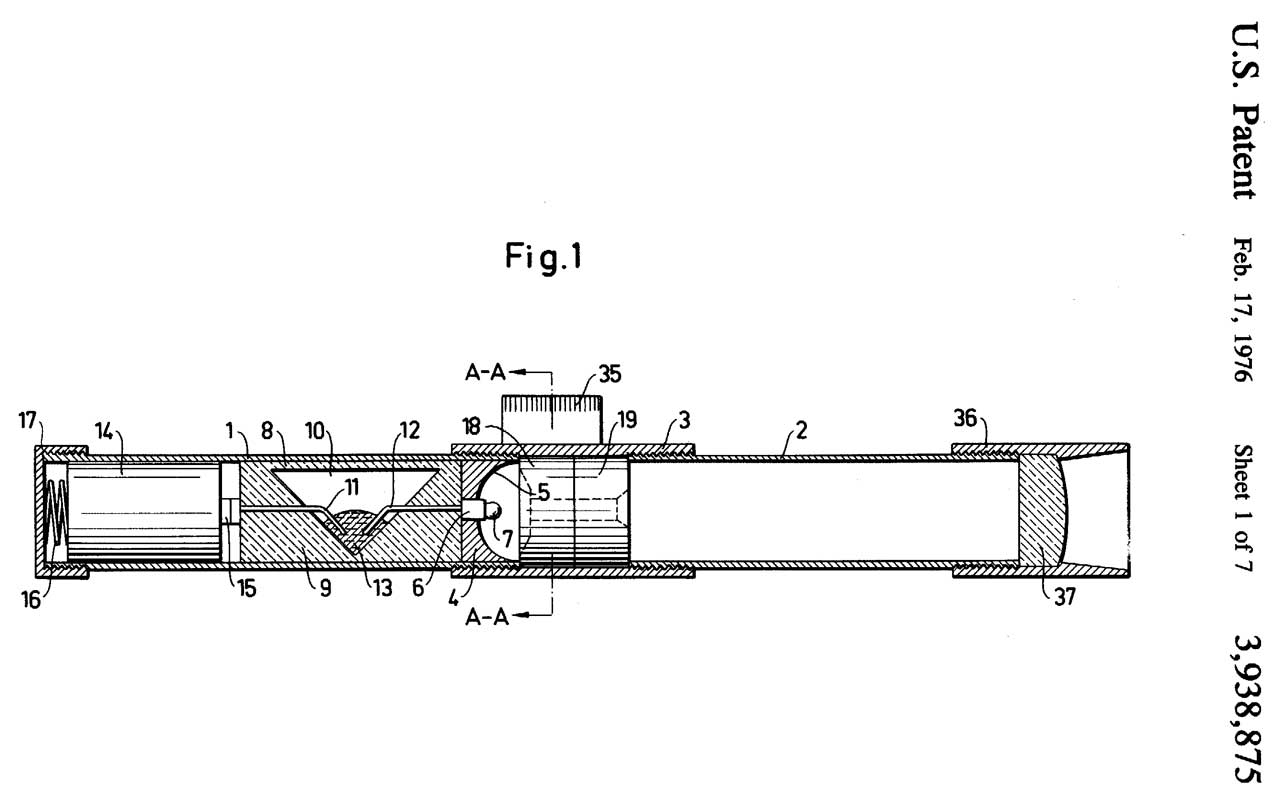
3938875 Sight for use on hand firearms and a
                    method of using it, Nils Inge Algot Ruder,
                    1976-02-17, - Armson Oculled Eye Gunsight (OEG)
                    includes Az & El knobs at center of scope tube,
                    Mercury switch turns on light when rifle is held
                    horizontal
3938875 Sight for use on hand firearms and a method of using it, Nils Inge Algot Ruder, 1976-02-17, - Armson Oculled Eye Gunsight (OEG) includes Az & El knobs at center of scope tube, Mercury switch turns on light when rifle is held horizontal
3897158 Sighting device, William F Steck, WR
                    Weaver Co, 1975-07-29, - Weaver Quick Point
3897158 Sighting device, William F Steck, WR Weaver Co, 1975-07-29, - Weaver Quick Point
4806007 Optical gun sight, Glyn A. J. Bindon,
                    Armson Inc (Trijicon), 1989-02-21, - ACOG
4806007 Optical gun sight, Glyn A. J. Bindon, Armson Inc (Trijicon), 1989-02-21, - ACOG cites 54 patents; cited by 93 patents
5189555 Parallax free optical sighting device,
                    Rickard Jorlov, Aimpoint AB, 1993-02-23, -Powered
                    Red Dot - battery & LED so works in the dark -
                    simple low cost
5189555 Parallax free optical sighting device, Rickard Jorlov, Aimpoint AB, 1993-02-23, -Powered Red Dot - battery & LED so works in the dark - simple low cost
Ref 12. The First Red Dot Sights: Aimpoint Electronic, MkIII, and Aimpoint 1000, 15:47 - Collimator sight (Wiki) where the LED is the reticle.
1975
Aimpoint
                    Electronic (CS223955B2/en) Optical sights, J
                    Ekstrand, App: 1974-05-07, Pub: 1983-11-25, -
                    Aimpoint Electronic
Aimpoint Electronic (CS223955B2/en) Optical sights,  J Ekstrand, Aim Point Ab, App: 1974-05-07, Pub: 1983-11-25, - Aimpoint Electronic



Ref 13.  The Forgotten Gun That Changed Everything, 39:38 - History of gunpowder and the French "White powder" (Wiki) in Lebel 8X50R cartridge (Wiki) & the 1886 Lebel Rifle (Wiki).  Saltpeter (Wiki)
Ref 14.  All Types Of Sights Explained, 8:51 - Iron, Peep, Red Dot, Holographic, ACOG, Telescopic, LPVO, Laser, Thermal

Links


Back to Brooke's Products for Sale, PRC68, Alphabetical Index of web pages, Home web page

page created 7 July 2010.