Torpedoes

© Brooke Clarke 2017 - 2025

Background
    Project Nobska
    Range & Accuracy
    Time Line
Torpedo Description
    USS Indianapolis & Kaiten Type 93 Torpedo
    Launch Platform and Target
    Components
        Strategy
        Explosive
        Energy Source for propulsion
        Engine
        Propellers or . . .
        Depth Control - The Secret
        Navigation- Homing
            Hedy Lamarr
        Gyroscopic Steering
        Torpedo Data Computer
            Big Guns Disconnect
        Acoustic Homing
        Exploder
        Mk 6-5  Exploder of 1945
        Exploder Patents
Human Torpedo
Torpedo Countermeasures
Naval Mine
    Spherical Contact  and Other Early Types
    Mk 25 Aerial Mine
    Anti-Mine Operations
    Concussion detonator
Hedgehog
Depth Charge
    Ash Can
    Mk IX Depth Charge
Attack on San Francisco
Related
References
Links

Background

My interest in what I called outdoor intrusion alarms used in the Vietnam era led me to study Sonobuoys which are mostly used in Anti Submarine Warfare (Wiki: ASW).  Some of the technology used in a sonobuoy is the same as used in a torpedo, so I've started reading about them.  Torpedoes also make use of Gyroscopes as part of their guidance system and magnetic sensors (Sensors: magnetic, Flux Gate Patents) which are areas that interest me.

Reading about the problems of the Mk 14 Torpedo (Wiki) that made it pretty much useless for the first half of W.W.II got me interested in it's technical details.

The Wiki page lists the following problems:

  • It tended to run about 10 feet (3.0 m) deeper than set.
  • The magnetic exploder  caused premature firing or failure to fire.
  • The contact exploder often failed to fire the warhead.
  • It tended to run "circular", failing to straighten its run once set on its prescribed gyro-angle setting, and instead, to run in a large circle, thus returning to strike the firing ship. (Wiki: USS Tullibee (SS-284), USS Tang (SS-306)), USS_Swordfish_(SSN-579), "On 22 June 1977, Swordfish launched a Mark 14 torpedo (Wiki) which made a circular run and hit the port screw. Fortunately, it was an exercise torpedo. Swordfish returned to port for 24 hours, did a screw change, and went back to sea."
YouTube:  World War II Submarine Warfare - rare footage -
I'm not sure that's correct.  It may be more accurate to say the Mk VI magnetic exploder (Wiki: Mk 6 exploder) failed to explode the torpedo under a variety of conditions and that occasionally it also caused a premature firing.

I have a book (forget title) where, in a chapter on the start of W.W.II, they talk about the ultimate weapon, i.e. one where there is no defense. 

The torpedo that could be launched from a small boat (Wiki: Torpedo Boat) was a threat to the naval ships of the time no mater how big and powerful they were.  The first response was for navies to develop torpedo boat chasers aka torpedo boat destroyers.  The latter name got shortened to destroyer (Wiki) and means a boat that is fast in order to chase torpedo boats.  Destroyers are a part of a battle fleet (Wiki) that was used up to W.W.II.  With the advent of air power they are now called Carrier Battle Groups (Wiki).  For a short time there were Battle Ships (Wiki) that had big guns, but they were never a viable weapon and are no longer the center of naval strategy and in fact were obsolete before Pearl Harbor.

The VT-8 (Wiki) torpedo bombers flying the Douglas TBD Devastator (Wiki) in the battle of Midway (Wiki) carried the Mk 13 torpedo (Wiki), most of which did not work.
  • Ran Cold 36%
  • Sank: 20%
  • Poor deflection performance: 20%
  • unsatisfactory depth performance: 18%
  • Ran on surface: 2%
  • Satisfactory run: 31%
  • Note 111% total means some had multiple problems.  These are similar to the problems with the Mk 14 torpedo above.

Project Nobska (Wiki)

In the summer of 1956 the Nobska Study added a large spherical SONAR dome to the front of many subs (Wiki: Thresher) which required the torpedo tubes to be located midships and angled outward.  It also found that a high speed homing torpedo (the19" Fido Mk 24 (Wiki) was a low speed torpedo) was possible leading to the 19" Mk 27 "Cutie" (Wiki),  12-3/4" Mk 46 (Wiki) and the 21" Mk 48 (Wiki) torpedoes.

Range & Accuracy

While the Wiki page for battleships says "the value of investment in battleships has always been contested", my guess is that like torpedoes there was no way to accurately aim big guns at long ranges.  The technology available at the end of W.W. II was embodied in the Torpedo Data Computer and the Gun Director (Wiki) to aim naval guns.  Both these are based on the idea that the optimum firing solution can be computed at the time of firing but from then on there is no guidance of any kind.  This puts a real limit on the maximum range for a 50% chance of hitting a target for both big naval guns, torpedoes and horizontal bombing.  My guess is that the accurate range is much shorter that the physical range of shells or torpedoes.

The Japanese W.W. II type 93 torpedo (Wiki) has a stated range of 20,000 to 40,000 meters but as far as I know there is no way it could have been aimed with enough accuracy to hit a capital ship at that range.  They solved that by putting a man in a longer version (Wiki: Kaiten).

A similar thing happened with air-to-air missiles.  i.e. their range far exceeds the vision of a pilot.  That means that if a pilot fires an air-to-air missile based on his RADAR he may very well shoot down a friendly aircraft (this happened and changed the rules of engagement).  So as of now the useful range of air-to-air missiles is far shorter than what they are physically capable of achieving. 

This also applies to horizontal bombing, see Norden Bomb Sight and the guns on battleships, or any gun fired at a high angle, see Big Guns Disconnect below and Ballistics

The Naval Gun at Iwo Jima 1945 US Navy Tactical Report; Battleship Gun Performance - an example of how horizontal bombing and naval guns are ineffective.

Here's a Wiki page talking about the
Dreyer Fire Control Table that may be dated in the 1930s.  When you read it there's a feeling that nothing will really work, which is the case.  This is because of the problems with high angle fire from barrels with rifling (see External Ballistics)

1370204
                      Range-keeper, Hannibal C Ford, Ford Instrument Co,
                      1921-03-01
1370204
                      Range-keeper, Hannibal C Ford, Ford Instrument Co,
                      1921-03-01 1370204 Range-keeper, Hannibal C Ford, Ford Instrument Co, 1921-03-01, - makes use of ball (145 & 146) and disk (100) integrator.

Time Line

This may be helpful to figure out which patents go with which devices.

1866 Whitehead Torpedo (Wiki) starts to be used
1891 Italian Illustration

Note "The Secret" (2) is in front of the air flask (3). Appears to be using the Brotherhood 3 cly radial engine (4).
1891
                      Whiethead torpedo illustration from Wiki Torpedo
                      web page

The Wiki American 21-Inch Torpedo (1904 - present) page lists torpedoes in Mk number order along with subs the have 21" tubes.
There is a similar page American 18-Inch Torpedo. (1894 - 1922)

1892 Whitehead Mk 1 designed 1892, used 1894–1913
1892 Whitehead Mk 1B designed for E.W. Bliss production, used 1894–1922
1893 Whitehead Mk 2 designed for E.W. Bliss production, used 1896–1913
1893 Whitehead Mk 3 designed for E.W. Bliss production, used 1898–1922 (adds Orby steering Gyro)
1898 Whitehead Manual Illustration (Wiki)
Whitehead
                      torpedo 1898 Wiki photo

1901 Whitehead Mk 5 designed, Mfg in UK, used: 1910–1922
1904 Bliss-Leavitt (Wiki) Mk 1 to Mk 6 designed, used: 1904–1922
1913 Mk 7 (Wiki) 18" anti-surface ship torpedo for use on destroyers & submarines, first use of steam, prior was compressed air
1911 Bliss-Leavitt Mk 7 to Mk 9, used: 1912–1945 (Wiki)
---- W.W.I 1914 to 1918 ----
1920 Mk 8 (Wiki) 21" Bliss-Levitt for use on destroyers - many problems
1920 Mk 9 (Wiki) 21" anti-surface ship torpedo designed for use on battleships but used on subs (&aircraft?)
1925 Mk 11 (Wiki) 21" 3-speeds, replaced by Mk 12
1925 Mk 13 (Wiki) 22.5" air or PT boat launched anti-surface ship torpedo, used: 1936–1950 (16,600 built) only 1/3 worked
1928 Mk 12 (Wiki) 21" single speed and a little slower than the Mk 11
1931 Mk 10 (Wiki) 21" fast/short range torpedo for use on submarines, some were used in W.W. II
1931 Mk 14 (Wiki) Sub launched anti-surface ship torpedo designed, used: 1931 to 1980 (13,000 made)  Many Problems See Background above.
1938 Mk 15 (Wiki) 21" destroyer launched anti-surface ship torpedo designed, used: 1938-1956 (9,700 built) (replaced Mk 11 & Mk 12)
1940 Mk 17 (Wiki) 21" heavy torpedo, not used
--- W.W. II 1939 to 1945 ----
1942 Mk 19 (Wiki) 21" Westinghouse follow on to the Mk 18 - only prototypes built
1942 Mk 24 (Wiki) 19" "Fido" aircraft launched anti-sub torpedo designed, used: 1942–1948, (4050 built), made by GE & WE
1943 Mk 20 (Wiki) 21" NTS Newport prototype sub launched
1943 Mk 16 (Wiki) 21" sub launched anti-surface ship torpedo, used 1943–1975, (only 1,700 built) redesigned Mk 14
1943 Mk 18 (Wiki) 21" sub launched anti-surface ship electric torpedo, used 1943–1950 (9,000 built)
1943 Mk 21 (Wiki) Westinghouse attempt at the Mk 24 - only prototypes built
1943 Mk 27 (Wiki) 19" "Cutie" electrically-propelled,  passive acoustic guidance
1944 Mk 34 (Wiki) 19" Improved Fido aircraft launched anti-sub torpedo designed, used: 1948-1958, made by AMF, NOS Forest Park
1963 Mk 46 (Wiki) 12.75" air & ship launched - light weight anti submarine, NATO standard
--- Post W.W.II ----
1955 Mk 37 (Wiki)  19" electrical propulsion, initial passive homing, terminal 60 kHz active sonar homing.
1972 Mk 48 (Wiki)  21" in service. 21" dia x 19' long. Wire guided plus active & passive SONAR terminal guidance.  Magnetic Exploder

Torpedo Description

The word Torpedo refers to an explosive that's in the water, so includes sea mines.  "Damn the torpedoes, full speed ahead" (Wiki) is in reference to Naval mines, not what we think of a torpedoes today.  The word also is used in conjunction with small explosive devices that are used on rail road tracks to warn a train engineer of a problem.  The idea is that the first wheel on the engine will cause an explosion that can be heard over the noise.  These may be used in some pattern.  The "Bangalore torpedo" (Wiki) is a long explosive used to breach a barbed wire obstacle, like at the Normandy landing.

The automotive or fish torpedo is one that has its own propulsion.  Without propulsion it would be a sea or Naval mine.

Launch Platform and Target

Torpedoes are designed with the launch platform and target in mind since these are key design parameters used to optimize function.  Since the original meaning of the word "torpedo" is something like "explosive" there can be four launch platforms and four target types.
Links to Wiki.

             Target

Launch
Air
Surface
Underwater
Land
Air (airplane)
Dogfight
Guns
Missiles
Torpedo bomber Fido, the Mk 24 Mine Bomb
AGM
Surface (ship/boat)
Phalanx Type 93
Battleship
Depth Charge
ASROC
Tomahawk
Underwater (Sub)
Deck Gun
Torpedo
Torpedo Tomahawk
Land SAM
AA
Ballistic Missile
?
Artillery
Kettering Bug
V-1
YouTube

The above table is just to give an idea and no attempt was made to present an exhaustive list of options. Like at the start of W.W.II where the high altitude bomber was considered the ultimate weapon because there was no defense, a similar situation exists today (2017) when ballistic missiles are used with conventional warheads.  The approach speed combined with the range of a radar warning system results in a warning time of much less than a minute, i.e. not enough time to do anything.  If an enemy has a satellite system similar to NOSS (Wiki) that can locate large capital ships and a ballistic missile system with terminal guidance (like China has), there is the potential of targeting ships in mid ocean.  With a missile coming almost straight down at high speed there is no defense.

2026 Jan 10 - Update:  There have been two attacks on Ukraine using the Oreshnik (Wiki) IRBM.  In both cases using dummy weights, probably tungsten.  In both cases there was no terminal guidance.
Terminal guidance may be impossible during re-entry of the Earth's atmosphere because of the ionization of the air preventing any electromagnetic signal from being used.  This would include light, radio, radar, GPS/Glonass, Etc.  All that to say using a Ballistic Missile, i.e. one that travels at hypersonic speeds with conventional explosive war heads does NOT work.

There seems to be no current weapon system for submarines to attack aircraft or for land based attacks on submarines.

The Patrol Torpedo Boats Documentary -
PT Boat Forum -
Note the a small PT boat can sink a very large ship and so the PT boat destroyer was developed.  Since PT boats were very fast the destroyer also needed to be vary fast.  But SONAR does not work when a ship is going fast.

USS Indianapolis & Kaiten Type 93 Torpedo

On 19 Aug 2017 the wreckage of the USS Indianapolis (Wiki) was found.  It was sank by the Japanese sub I-58 (Wiki) using Type 95 (Wiki) 21" torpedoes.  The loss of life was the highest for a single war time attack at sea.  In the movie USS Indianapolis: Men of Courage (IMDB) it was pointed out that the ship was doomed even if the captain had zig-zaged because the I-58 was carrying 6 each Kaiten torpedoes (Wiki).  These were the Kamikaze (Wiki) version of the 24" Type 93 torpedo (Wiki).  Note no torpedo tube was used for the Kaiten torpedoes.  They were mounted on the deck on a couple of "V" blocks with an air lock between the sub and torpedo so that the Kamikaze could climb on board just prior to firing.  If the sub captain had observed Zig-Zaging then he would have used the Kaiten instead of the type 95 torpedoes.  Note that the gyro was removed from the Type 93 and replaced by the Kamikaze for guidance in the Kaiten.

Also this month a report on what happened to the Hunley submarine (Wiki) came out.

Components

Body

For mines that will be placed by submarine the body diameter must be compatible with the torpedo tube (typically 19 or 21 inches dia.).

Strategy

Early torpedos were dumb.  That's to say they just ran in a more or less straight line.  But the more modern torpedos are designed for a specific task and to that end have an embedded strategy.  For example an early strategy for a torpedo designed to attack a surface ship would include a rule that it can not go below some depth so that it would not attack a firing submarine.  A converse strategy would be used for a ship launched torpedo designed to attack a submarine, i.e. it would always be below some depth that would protect the firing ship.

There are also strategies for search patterns of the torpedo does not detect a target and that strategy will depend on  the characteristics of the target, i.e. surface ship or submarine.
2341287 Torpedo controlling device, George Pookhir, Rubissow George A, Feb 8, 1944, 114/23 - cams for search strategies

5229541 Torpedo safety system, Albert S. Will, Armand Cioccio, Navy, App: 1975-12-08 TOP SECRET, Pub: 1993-07-20, - "Still another object of the present invention is to provide a safety system whereby the detonator of a returning warhead may be neutralized without interrupting the operation of the weapon's search and acquisition system." If an enemy learned how to do this it would make that torpedo useless, hence the long classification period.

Explosive

This ranges from tens of pounds to a couple of thousand pounds of various explosives.  In one case any unused fuel is also "exploded" increasing the yield.  The destructive power of the explosive depends on its location relative to the target.  For example a torpedo hitting the side of a ship and exploding using a contact fuze is much less effective than the same amount of explosive detonating directly under the keel.
977438 Automobile torpedo, Gregory Caldwell Davison, Dec 6, 1910, - I think he saw the result of a shaped charge (Wiki) by placing the explosive behind the air tank, but that idea was not yet realized. The Bazooka (Wiki) was based on understanding how shaped charges work and came out in 1942.  This idea might have been good for torpedoes ramming the side of ships, but they soon worked by exploding under the hull.

Energy Source for propulsion

Whatever energy source is used to power a torpedo (or anything) it represents a liability in that if the energy is released at some time other than when it's wanted there's a big problem.  The more energy the bigger the problem.

In The Devil's Device (Ref 5) it's mentioned that the Japanese Type 93 Long Lance was powered by Hydrogen Peroxide although the Wiki page for the Type 93 says it was pure oxygen.  Some key specs: 24" diameter, 20,000 to 40,000 meter range at 58 to 39 miles/hr., 1000+ pounds of explosives, no bubbles since the products of combustion were CO2 (dissolves in water) and pure water.  See Background for a discussion of physical range and useful range above.

The Howell Torpedo (Wiki) used the energy stored in a flywheel that started out at 10,000 PRM as both the energy source and acted as a gyroscope for maintaining a true azimuth.

121052 Improvement in propulsion of marine torpedoes, John A. Howell, Navy, 1871-11-21, - Not practical since the flywheel spin axis is along the torpedo centerline.  The Gyroscopic action will cause unintended movements.  The two patents below have the flywheel (gyroscope) spin axis vertical to reduce these problems.
311325 Marine Torpedo, J.S. Howell, Jan 27, 1885, 114/24; 114/122; 114/20.1; 114/22; 440/66  -
311326 Apparatus for Launching Torpedoes, J.A. Howell, Jan 27, 1885, 114/239 - Required to spin up flywheel.

The Whitehead Torpedo (Wiki) started out using a flask of compressed air to drive a piston engine.  (Note: it's very common to power model steam engines using compressed air).   Over time the technology to make compressed air containers improved allowing higher and higher pressures.  But the US was not able to make the high pressure air flasks.  (PS the US was not able to make a 1 arc second surveying transit like the Wild T1 during W.W.II)  The Bliss Co. bought rights to make the Whitehead torpedo.

693872 Propulsion of torpedoes, &c., by compressed air, Frank M Leavitt, Bliss E W Co, Feb 25, 1902, 114/20.1; 60/727; 60/786 - adds a heater for the air by burning liquid fuel
943833 Air-heater for automobile torpedoes, Frank M Leavitt, Bliss E W Co, Dec 21, 1909, 60/39.48 - improvement relating to the pressure of liquid fuel going into burner.
858266 Automobile torpedo, Gregory C Davison, US Navy, Jun 25, 1907, 114/20.1 -Curtiss turbine for Whitehead torpedo
1036082 Automobile torpedo, Gregory Caldwell Davison, Electric Boat Co, Aug 20, 1912, 60/39.91, 60/39.57, 60/39.53, 60/39.823 - burn oxygen and add water for steam.

Later the air was heated using some fuel which increased the energy.  Later still water was added both to cool the engine and to get more energy from the steam.
Some Torpedoes were powered with what amounts to rocket fuel being used as a gas generator, but there were safety issues transporting the fuel.
There is a problem with the various types of air power, they leave a trail of bubbles in the water which traces a path back from the torpedo to the submarine that fired it.  Needless to say escort ships will quickly be attacking the sub.

Finally batteries were used with an electric motor.   Battery powered torpedoes do not leave any trail, so the escort ships do not know where to find the sub.
3005864 Sea water battery, Duncan T Sharpe, Bell Telephone Lab, Filed: Mar 29, 1945 (16 year delay) Pub: Oct 24, 1961 - maybe the Mk 18 torpedo (Wiki)

Calls:
405196 Galvanic battery, John A. Barrett, J.A. Barret Battery Co., Jun 11, 1889 - chloride of-silver battery
1332483 Sea-water battery for vessels, Bridge Arthur, Mar 2, 1920 -
2176428 Secondary or storage battery, Kershaw William Ernest, Electric Storage Battery Co, Oct 17, 1939 -
2317711 Accumulator, Andre Henri Georges, Priority: Feb 4, 1936 Pub: Apr 27, 1943 -

Engine

Whitehead
The early engines were specially built, but were conventional piston designs (Wiki) used for steam/compressed air.  Turbines can also be used with compressed air, heated compressed air, or heated compressed air with water added to make steam.  Note that an air breathing Otto Cycle (Wiki) or Diesel Cycle (Wiki) engine will not work because there's no source of combustion air.  The Brotherhood Co. made a 3-cylinder radial motor that was used for many decades.  It was a flathead engine (Wiki) which made it fit into a smaller space than an Overhead Valve Engine (Wiki).

323270 Valve Gear, Peter Brotherhood (Wiki), UK, Jul 28, 1885, 91/353 - like all radial engines (Wiki) this one has an odd number of cylinders (3) but unlike aircraft radial engines that have overhead valves (Wiki) this engine has side valves, i.e. a flat head design (Wiki) making it smaller in diameter.

Dieter knows about engines and holds a number of torpedo patents that are assigned to E.W. Bliss.

701857 Motor, William Dieter, Hartvig Orum, Irving O'Hara, 1902-06-10, - for boats or motorcycles
746626 Steam-engine, William Dieter, 1903-12-08, -in-line 3 cylinder
927434 Air-heater for compressed-air engines, Harold W Shonnard, William Dieter, EW Bliss Co, 1909-07-06, - "In utilizing compressed air as a source of power it is desirable to provide means for heating the compressed air before admitting it to the engine, in order to increase the energy of the engine and avoid the inconveniences attending the expansion of unheated compressed air. This method is of especial importance in automobile torpedoes. For this purpose, owing to the brief time available, the heating is necessarily performed by the burning of a fluid fuel such as alcohol or gasolene directly in the compressed air, so that the hot products of combustion commingle with the heated air and flow to the engine. The heater or combustion chamber is in some cases placed within the compressed air reservoir; in other cases it is formed as an enlargement in the pipe or conduit leading from the reservoir to the engine."

1152004 Fluid-pressure motor for driving torpedoes, Georges Henri Marius Canton, France, Aug 31, 1915, 92/70, 74/60, 92/71, 123/51.0AA, 123/56.6, 92/163 - maybe a swash-plate motor.  These offer inherent balance thus reducing vibrations.
1609361
Radial cylinder engine, Edward Jones Albert, Whitehead Torpedo Company Ltd, Dec 7, 1926, 91/481, 123/90.6, 91/185, 123/54.2, 91/331, 91/492, 92/72 - 4 cylinders in the first pancake then another similar pancake offset by 45 degrees making for a very compact engine (motor?).
3151527 Barrel engine, Hamlin Halley H, Clevite Corp, Oct 6, 1964, 91/507, 91/176, 74/60, 92/57, 91/503, 114/20.2 - wobble plate, low vibration design

Turbine
858266 Automobile torpedo, Gregory C Davison, Jun 25, 1907, 114/20.1 - counter rotating turbine wheels cancel gyroscopic action so as not to interfere with stability.  An especially big problem when the torpedo is launched above the water.  The "balanced" design.
1088080 Driving mechanism for torpedoes, Frank M Leavitt, Bliss E W Co, 24. Feb 1914, 416/129, 416/171, 114/20.1 - 

Special fuels can be used where the fuel provides the oxidizer (Wiki).

Propellers or . . .

In 19th Century Torpedoes (Ref 13) there's a discussion of the propeller and how John Ericsson (Wiki), Robert Wilson (Wiki), Francis Pettit Smith (Wiki) and Victor von Scheliha all had something to do with the invention of the propeller (Wiki).
After steam engines (Wiki, my cars web page) were being used on land; the first use on water was the river steam boat (Wiki).  At that time the two propulsion methods were sail and paddle wheel steam.  The military would not consider a paddle wheel boat because it presented too big a target.  But they were also reluctant to test rotating sculls which we now call propellers.  The propeller not only is under water and out of sight (not a target) but it also allows positioning the engine below the water line so it's also not a target.  Propellers also do not do as much damage to the bank of a river as does a paddle wheel.  Note that a disaster can occur if a steam powered paddle wheel gets lifted out of the water, like in rough seas.  That's why most paddle wheel boats operate on lakes or rivers where the water is calm.

The early Torpedoes used a single propeller, but the problem is that tends to rotate the body of the torpedo in the opposite direction.  The first fix for that was to use coaxial counter rotating propellers or parallel shaft counter rotating propellers.  All of the above requires some type of gearing.  An alternate way is to make a special motor were the rotor and stator each have their own output shafts that are naturally counter rotating, but these may not be well balanced.  A similar turbine design may have been tried to get direct counter rotation.
2462182 Motor having coaxial counter-rotating shafts, Bluman John E, Guerdan Dikran A, Westinghouse Electric Corp, Filed: Nov 28, 1945, Pub: Feb 22, 1949, 310/115, 114/20.2, 417/69 - counter rotating coaxial output shafts

Starting with the Mk 48 Torpedo (Wiki) a Propulsor (Wiki) or is used instead of the counter rotating propellers.  One of the key advantages of this is reduced noise caused by the moving water.

Depth Control

The first generation torpedoes used hydrostat (Wiki) only depth control and it was a failure.  Sometimes the torpedo would hit the bottom and other times it would oscillate and at the top of the cycle "porpoise" and break the surface.  When Whitehead solved this by using a combination of a hydrostat and pendulum, instead of patenting the idea, it was kept Secret and became part of the information a company or government got when they paid him for the design.

There are a couple of problems with the hydrostat plus pendulum working together on the Uhlan principle.

1. The static pressure going to the diaphragm depends on the depth under water.  For sea water it's about 0.445 pounds per foot of depth.  But when the torpedo has forward motion the dynamic pressure at the diaphragm depends on both the depth of the torpedo and the
Bernoulli effect (Wiki) or Venturi effect (Wiki) associated with the location of the diaphragm on the torpedo body.  The problem is that the diaphragm was located on the tapered tail section where, because of the Bernoulli effect, the dynamic pressure is lower than the static pressure causing the torpedo to sense a lower pressure (like when near the surface) than it should causing it to run deeper.

2. When gyroscopes are used in aircraft or ships for navigation it's important that they be located at the center of mass of the vehicle.  Otherwise there is a lever arm acting between the center of mass and the location of the gyro that adds an error acceleration to the gyro thus causing an error.  I suspect that the same thing happened to the Mk 14 (and other) torpedoes if the depth setting pendulum location was not at the center of mass of the torpedo.

The Secret

There seems to be two different inventors for the depth regulating mechanism The Hotchkiss Ordance Co and Whitehead & Co.

Hotchkiss Ordance
478813
                                Depth Regulating Mechanism for Marine
                                Torpedoes and Other Vessels, Frederick
                                H. Paine, Hotchkiss Ordance Co,
                                1892-06-12
478813
                                Depth Regulating Mechanism for Marine
                                Torpedoes and Other Vessels, Frederick
                                H. Paine, Hotchkiss Ordance Co,
                                1892-06-12

478813 Depth Regulating Mechanism for Marine Torpedoes and Other Vessels, Frederick H. Paine, Hotchkiss Ordance Co, 1892-06-12, - "...consists, essentially, of a piston, which determines by hydrostatic pressure the depth of immersion of the torpedo, a pendulum. which controls the vertical angle of the torpedo's course, and an impulse-rack and a pallet, which latter, actuated by the piston and pendulum, either singly or jointly, as the case may be, imparts to the driving-rudders by means of the rack an impulse and direction proportionate to the the deflection of the torpedo either above or below the required depth to restore it to its proper course.", Fig 4 Pendulum (H), Fig 5 water pressure

478814 Speed Regulating Mechanism for Torpedoes and other Vessels, Frederick H. Paine, Hotchkiss Ordance Co, 1892-06-12,

Whitehead

881930 Immersion-regulator, Albert Edward Jones, Mar 17, 1908, 114/25 - pendulum v. pressure cylinder

1145355 Diving-gear for torpedoes, William Dieter, E.W. Bliss Co, Jul 6, 1915, 114/25 - Hydrostat and pendulum

899304 Immersion-regulator particularly adapted for torpedoes, Albert Edward Jones, Whitehead & Company,
Sep 22, 1908, 114/25 - "..a hdrostatic piston and a pendulum is employed".
Immersion-regulator particularly adapted
                        for torpedoes, Albert Edward Jones, Whitehead
                        & Company,

2604065 Depth control system for torpedoes, Elmer William B, Sec of Navy, Filed: Aug 31, 1945 (7 year delay) Pub: Jul 22, 1952, 114/25 - but is positioned on the sloping part of the tail = hydrodynamic problem.
Calls prior patents:
899304 see The Secret above
1080116 Steering mechanism for automobile torpedoes, Frank M Leavitt, Bliss E W Co, Dec 2, 1913, 114/24, 114/25 - Hydrostat (K), pendulum (F) and Gyroscope (G) provide steering inputs.  again hydrostat is located on sloping part of tail = hydrodynamic problem..
1323347 Broaching Device for Torpedoes, L. M. Aspimwall, Westinghouse, Dec 2, 1919, 114/25 - causes the torpedo to broach (to break the surface from below) at the end of its run to make recovery easier when practicing.
1360325 Horizontal steering-gear for torpedoes, Simmon Karl A, Westinghouse Electric & Mfg Co, Nov 30, 1920, 114/24, 114/144.00R - Gyro
1370688 System of radiocontrol, Jr John Hays Hammond, Filed: Jan 22, 1914, Pub: Mar 8, 1921, 91/459, 342/423, 114/21.1, 91/464, 324/140.00R, 343/855, 91/465, 92/131 - Crude radio control of torpedo
1378291 Driving and governing means for torpedoes, Sperry Elmer A, Filed: Apr 2, 1915, Pub: May 17, 1921, 114/20.1, 114/23, 114/122, 114/24, 114/25 - not clear if only a pendulum is used for depth control - huge gyro takes up a lot of space.
1378740 Autogubernator, Thomas Walkup Samuel, Filed: Jul 30, 1917, Pub: May 17, 1921, 318/589, 200/183, 114/23 - depth is not mentioned
1532616 Equilibrating mechanism for flying machines, Erastus E Winkley, Filed: Jun 25, 1918, Pub: Apr 7, 1925, 244/177, 244/80, 185/29, 185/2, 244/14 - pendulum

2974623 Torpedo depth steering engine control, Ballou Jack W, Harvey Brooks, Filed: Aug 17, 1951, (10 year delay) Pub: Mar 14, 1961, 114/25 - "3. A depth control device for underwater vehicles comprising, in combination, a depth controlling means having a Uhlan principle type pendulum and hydro-diaphragm assembly linked to the valve of an air depth engine,..."  The Uhlan principle is mentioned in Chapter 4 The Afterbody and its mechanisms of OP 635 Torpedoes Mk 14 and 23 Types, 24 March 1945.

3045627
Depth control system, Eck Robert C, Sec of Navy, Filed: May 24, 1956 (6 year delay) Pub: Jul 24, 1962, 114/25, 367/95, 114/277 - prior art systems have +/- 3% depth error.  An increasing problem for depths of 1,000 feet.  Intended for towed submersibles, not torpedoes.

3393655 Gas steering and propulsion system for missiles, Eastma David P, Clevite Corp, Jul 23, 1968, 114/20.1 - Figure shows counter rotating props.  Pendulum & bellows for depth - mainly about using high pressure CO2 as control energy.

Navigation- Homing

The early torpedos were straight line devices.  Either the launcher was on a turntable and could be aimed or the ship needed to be brought to a heading pointing in the launch direction.  Note that the launch direction is not a line pointing to the target, but rather is the result of solving the target triangle (Wiki).  This triangle has sides proportional to the speed of the target and the speed of the torpedo where the solution is to aim the torpedo ahead of the target by the correct amount to get a hit.  The Torpedo Data Computer (Wiki: TDC) of W.W.II was a electromechanical computer that could solve the triangle and take into account the use of a settable gyroscope.

Later torpedos had settable gyroscopes (see a couple on my Gyroscopes web page) which allow firing the torpedo with the launching ship at any azimuth.  The output of the TDC is the gyro setting and for W.W.II or newer torpedoes can be set while the torpedo is in the tube ready to launch.  The gyro is constantly being updated so the time of launch is determined by the captain and not where the tube is pointing.
The torpedo will:
1. Run in a straight line for the "reach" distance, then...
2. make a turn with a known radius ending on the azimuth that was set into the gyro, then...
3. run in a straight line to the target, then...
4. if a modern torpedo with a strategy  misses the target it will search for a new target.
This means a torpedo can be launched from either a bow or stern tube toward a target at any azimuth.

The more modern torpedos (and some of the very earliest versions) use an electrical wire to control their heading.  In the more modern ones this allows the SONAR (Wiki) in the launching ship to be used to initially guide the torpedo to prevent the problem of the torpedo acquiring it's target using an active SONAR.  The latest torpedos have 2-way communication on the wire allowing the launching ship to see what the torpedo SONAR is seeing and thus help it lock on the correct target.

Another option is to replace gyroscopes with an Inertial Navigation System (Wiki).  Note that the drift of MEMs gyroscopes used in an INS is high but the run time between launch and the explosion of the warhead is measured in minutes so may not be a problem.

Starting with Fido, the Mk 24 Mine (Wiki) was an anti submarine torpedo that was the first to use acoustic homing.  The key problem was to minimize the noise generated by the torpedo itself.  This involved mechanically isolating noisy parts using gaskets including separating the warhead/sensor from the propulsion end.  But there remained the water noise similar to the noise a microphone experiences when it's windy.  The deeper the torpedo is the higher the water pressure and so the higher speed that's allowed on the propeller without cavitation (Wiki).

It turns out that Fido could only hear loud submarines, i.e. when they were cavitating (Wiki) which happens when a propeller is run a a high speed and happens less as the water pressure is higher.  W.W.II subs could avoid Fido if they ran silent rather than at full speed.  The same applies to the CRT-1 Sonobuoy, i.e. it could hear a cavitating sub but probably not a silent running sub.

San Francisco Maritime org:  Torpedo Angle Solvers Mark 7 and Mods., Description and Instructions for Use

Hedy Lamarr (Wiki)

Her intent behind patent 2292387 Secret Communication System, Hedy K. Markey & George Antheil, Filed: June 10, 1941, Pub: Aug 11, 1942 was to have a jam proof signal which would be the basis of a radio remote control for a torpedo (USNI: Naval Warfare and the Most Beautiful Woman in the World). 

The USNI article says: "The sinking of the SS City of Benares (Wiki) by a German U-boat on 18 September 1940" was a key motivating factor.  The idea was to make U.S. torpedoes more accurate so they could better sink German boats.

Note this patent does not seem to have been classified or "locked in a safe" as many of the current articles say since the time between filing and publication was only 10 months. It was made public during the early days of W.W.II.  Patents that have military value and which are classified have delays on the order of 5 to 30 years, see Crypto Patents and China Lake Patents or the Fido Mk24 Torpedo patent 2615416 below.

The USNI article says: "The military dismissed the Secret Communication System largely because of sexist biases about women’s roles that were amplified by Lamarr’s screen persona."  I wonder if there was also a technical basis.  For example W.W.II torpedoes run under salt water where a radio antenna does not work.  Any "Radio" remote control will have a problem since it needs an antenna that's out of the water.  Also the launching submarine typically dives after the launch to hide since the bubbles coming from the torpedo point to the launching sub, i.e. direct destroyers to the sub.  So the idea of a sub staying at periscope depth and following the path of it's torpedo (how? I doubt a periscope can see the bubble trail, i.e. the point of view needs to be much higher) and sending steer right or left commands does not make a lot of sense.  This approach would devolve into a small surface ship filled with explosives, and so not be effective.

The patent includes provisions to start both paper tapes at the instant the torpedo is launched and to synchronize the two tapes after launch.  This is necessary for a practical system.  The stock ticker "Unison" device was the subject of much work.  It's purpose was to keep the type wheel on the printing telegraph at the same position as the wheel on the sending telegraph.

YouTube: The History Guy: Hedy Lamarr and the Torpedo - mentions a possible use on sonobuoys, but the CRT-1 has a simple voice transmitter that can only be heard within a short distance from the buoy since it is a low power VHF signal that is line of sight, so no problems with eavesdropping or jamming.

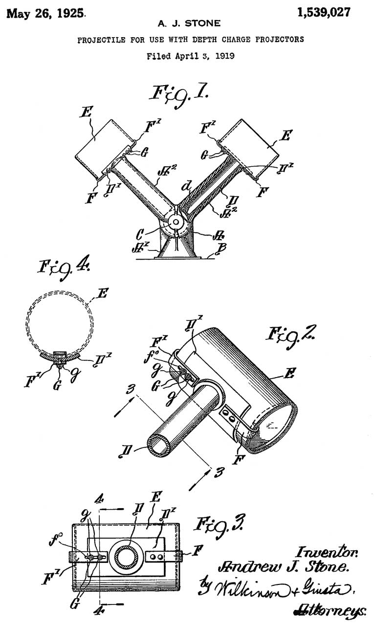
Gyroscopic Steering

The first generation Whitehead torpedoes were intended to run in a straight line.  They had short fins that ran in a helix around the body to counter the tendency of the torpedo body to spin in a direction opposite to the rotation of the single propeller.  Even after switching to coaxial counter rotating twin propellers, eliminating the need for the helix fins, the torpedo would not run straight at 100 or more yards.  So the Obry Device, a spring powered gyroscope, was added to keep it straight.

Later the gyroscope was combined with the idea of launching the torpedo in whatever direction the launch vehicle was going and then having the torpedo make a controlled turn to a line that would intersect the path of a ship on a constant heading with  the correct timing so the torpedo would hit the ship.


621364 Device for starting torpedoes, Ludwig Obry, Mar 21, 1899, 114/24; 74/5.12  - applied to the Whitehead Torpedo (Wiki)

785425 Steering mechanism for torpedoes, Frank M Leavitt, E.W. Bliss Co, Mar 21, 1905, 114/24; 114/122; 74/5R - complains that the Orby gyro is delicate and hard to adjust.  gyro controls a SPDT switch which in turn controls electromagnets.

795045 Gyroscopic control apparatus, Frank M Leavitt, E.W. Bliss Co, Jul 18, 1905, 114/24; 114/21.1; 74/5R - general purpose gyro stabilized platform
839161
                        Steering apparatus for automobile torpedoes,
                        Frank M Leavitt, E.W. Bliss Co, Dec 25, 1906
839161 Steering apparatus for automobile torpedoes, Frank M Leavitt, E.W. Bliss Co, Dec 25, 1906, 114/24; 114/122; 74/5R - Leavitt gyro to replace the Orby gyro (Wiki)

Fig 1 Launch and initial turn toward target.
      a: shortened course by means of this patent
      a': old longer time wasting course where there's only one turning radius.
Fig 2 showing the gyro in relationship to the torpedo.
Fig 3 torpedo on course

894838 Gyroscopic steering-gear for torpedoes, Frank M Leavitt, E.W. Bliss Co, Aug 4, 1908, 114/24; 74/5.12 - ability to "set" the course prior to launching the torpedo

925709 Gyroscopic steering-gear, Frank M Leavitt, E.W. Bliss Co, Jun 22, 1909, 114/20.1; 114/24; 74/5.22 - easily removed gyro assembly


1030134 Automatic steering device for torpedoes, H W Shonnard, Jun 18, 1912, 114/24; 114/238; 74/5.12 - spin up gyro prior to releasing torpedo
1145025
                        Gyroscopic steering device, Frank M Leavitt, EW
                        Bliss Co, 1915-07-06
1145025 Gyroscopic steering device, Frank M Leavitt, EW Bliss Co, 1915-07-06, -

Fig 1. Dynamo (G) driven from prop shaft supplies DC for motor that's part of the flywheel.

BC Note:  I doubt this was put into production since most torpedo hits happened at ranges far less than the catalog spce Max Range.  So keeping the gyro spinning for more time does not improve anything and so a waste of time.
1148154
                        Gyroscopic device, William Dieter, EW Bliss Co,
                        1915-07-27
1148154 Gyroscopic device, William Dieter, EW Bliss Co, 1915-07-27, -

has the look and feel of the Mk 12-3
1153678 Gyroscopic steering
                                mechanism, William Dieter, EW Bliss
                                Co,1915-09-14
1153678 Gyroscopic steering
                                mechanism, William Dieter, EW Bliss
                                Co,1915-09-14

1153678 Gyroscopic steering mechanism, William Dieter, EW Bliss Co,1915-09-14, -

Fig 1 Prior Art of angle fire
Fig 2 Improvement of present invention.
Fig 3 Torpedo in plan view
Fig 4 Plan view of gyro mechanism
Fig 5 Vertical longitudinal section of gyro echanism
1185210 Gyroscope-spinning
                                mechanism, Frank M Leavitt, EW Bliss Co,
                                1916-05-30
1185210 Gyroscope-spinning
                                mechanism, Frank M Leavitt, EW Bliss Co,
                                1916-05-30

1185210 Gyroscope-spinning mechanism, Frank M Leavitt, EW Bliss Co, 1916-05-30 -

1204852 Gyroscopic steering mechanism, William Dieter, EW Bliss Co, 1916-11-14, -
1318980
                        Gyroscopic steering mechanism, William Dieter,
                        EW Bliss Co, 1919-10-14
1318980 Gyroscopic steering mechanism, William Dieter, EW Bliss Co, 1919-10-14, -
Reduced pressure compressed air impinges on the buckets on the outside of the flywheel to keep it going
1322232
                        Gyroscopic mechanism, William Dieter, EW Bliss
                        Co, 1919-11-18
1322232 Gyroscopic mechanism, William Dieter, EW Bliss Co, 1919-11-18, -

"When a gyroscope is thus spun up and un locked, it continues running during several minutes under impulse of the momentum stored up in the fly-wheel,..."  BC: this is long enough.

"...provides means, whereby the gyroscope after being initially spun up in the ordinary manner may be maintained at speed by the turbine driving effect of compressed air. In the preferred development of the invention high pressure or flask pressure air is employed for initially spinning up the gyroscope, and low pressure air is employed for the subsequent driving of the gyroscope, so as to keep it up to speed. "

BC Note:  I doubt this was put into production since most torpedo hits happened at ranges far less than the catalog spec Max Range.  So keeping the gyro spinning for more time does not improve anything and so a waste of time.


1440822
                        Gyroscope steering mechanism, Dieter William,
                        Vittlea Dev Corp, 1923-01-02
1440822 Gyroscope steering mechanism, Dieter William, Vittlea Dev Corp, 1923-01-02
1791755 Gyroscopic steering
                                mechanism, Dieter William, EW Bliss Co,
                                1931-02-10
1791755 Gyroscopic steering
                                mechanism, Dieter William, EW Bliss Co,
                                1931-02-10

1791755 Gyroscopic steering mechanism, Dieter William, EW Bliss Co, 1931-02-10, -

This is about the low pressure air that impinges on the flywheel to extend the range.  No the high pressure air used to get the gyro spinning quickly

2537929 Timer, Thomas A Daly, Harry A Gill, App: 1945-10-29, Secret, Pub: 1951-01-09, - sequence torpedo operations by counting prop shaft turns.

2557401 Remote control apparatus, Agins George, Richard Y Miner, Arma Corp, App: 1945-01-10, Top Secret, Pub: 1951-06-19, - RADAR guided torpedo like on a destroyer- citations


1303038 Automobile Torpedo, W. Dieter,
E.W. Bliss Co, - "This invention relates to automobile torpedoes having automatic steering mechanism, such as the well-known gyroscopic steering mechanism. The purpose of the invention is to make provision for interrupting the normal steering after the torpedo has completed a predetermined portion of its normal run and to thereupon cause the torpedo to steer in an approximately circular course."

Torpedo Data Computer (TDC) Patents

While reading The Devil's Device (Ref 5) the author never talks about the problem of guiding the torpedo to its target. By stating the speed and range of a torpedo (like the Japanese Type 93 (Wiki) makes is seem that it is effective at that range, but as far as I know no torpedo has been effective at anywhere near that kind of range because there's has not been a guidance system that good.

The inputs to the TDC are the bearing of the sub and it's speed.  The bearing of the target from the periscope and the distance to the target from active SONAR (Wiki) pings.  Torpedo parameters like: dead time (from firing command to torpedo movement), torpedo speed, turning circle radius, "reach" distance, latitude where gyro calibrated &Etc.  The output is the gyro angle.

When the ideas from Ref 8 are taken into account the prediction of the target's position can have an error bar added depending on the predicted time between the fire command and the explosion of the torpedo.  Also based on these same ideas of energy maneuverability (see: Ref 8) the characteristics of the torpedo and be optimized for its target list.

The term "Torpedo Director" may be applicable to the device used in aircraft to solve the firing triangle for torpedoes.  It may apply to other platforms.  April 2022 saw it on an eBay listing for "USAAF Army Navy Aircraft Type B-2 Torpedo Director Sight - B-26 A-26" Howell & Sherburne, Douglas Aircraft.  It's also a term for calculating devices similar to circular slide rules for solving the firing triangle.  Also was on the ww2aircraft.net forum "Torpedo Director Mk. 30 Mod 3 Bell & Howell Co.

See Ref 42 for some TDC history

736557 Electrical Range-finder, Harry Shoemaker, Aug 18, 1903 - two transits have readouts to allow doing triangulation
970431 Torpedo-Director, Gregory Caldwell Davison, Electric Boat Corp, 1910-09-13, telescope with mechanical parts to solve triangle using a graphic type solution.
1468712 Sighting Device, Hannibal C Ford, FORD INSTR CO Inc, 1923-09-25 - the primary patent for TDC and GD.
                   
also see 2439209 below which was filed in 1925 - i.e. was a secret for 23 years.
1811624 Intermittent drive, Hannibal C Ford, Ford Instrument Co, 1931-06-23, -
2022275
Device for indicating the position of ships, Davis Arthur Pattison, David M Mahood, Arma Eng Co., Filed: Nov 10, 1927, Pub: Nov 26, 1935, 73/178.00R, 114/144.00E, 340/988, 235/61.0NV - continuously computes the Lat and Lon of a ship by using its speed and heading.  A precursor to the TDC.
2206875 Fire control device, Earl W Chafee, Bruno A Wittkuhns, Sperry Gyroscope, 1940-07-09,  - for anti-aircraft gun on ship,
2248072 Motor control, Fry Macon, Ford Instrument Co., 1941-07-08, - motor driven disc-ball-drum integrator used on torpedo data computer & gun director.
2363363 Automatic system for controlling the direction of moving bodies, George A Rubissow,
1944-11-21 - senses magnetic compass - poor idea
2406324
Gun control system, Pattison Davis Arthur, Arma Corp, Filed: Sep 6, 1933, Pub: Aug 27, 1946, 89/41.2, 318/595, 89/41.4 - aiming guns mounted on a moving ship trying to hit another moving ship is very similar to the problem solved by the TDC.  Arma Engineering worked on both problems.
2402024 Torpedo director, Crooke Raymond E, Ford Instr Co Inc, Filed: Jan 27, 1940, Pub: Jun 11, 1946, 235/403  - diagram shows torpedo making a 90 deg turn, is that always the case and" no
2402025 Torpedo director, Raymond E Crooke, Ford Instrument Co, App: 1940-01-27, TOP SECRET, Pub: 1946-06-11, - tail show, >90 deg turn
2402088 Torpedo director, Ross Elliott P, Ford Instr Co Inc, Filed: Apr 29, 1940, Pub: Jun 11, 1946, 235/403 - includes curve in path due to gyro angle
2403505 Torpedo director, Crooke Raymond E, Ford Instr Co Inc, Filed: May 15, 1941, Pub: Jul 9, 1946, 235/403 - includes curve in path due to gyro angle, torpedo run distance (time) is an output,, patent includes equations solved.
2413846 Torpedo director, Ross Elliott P, Ford Instr Co Inc, Filed: Jun 20, 1941, Pub: Jan 7, 1947, 235/403 -
2426584 Data smoothing and position predicting apparatus, Willard L Baker, David J Campbell, Albert P Good, Sperry Gyroscope, App: 1944-02-16, Secret, Pub: 1947-09-02, - Predictor: the change in the target position during the time of flight of the projectile.
2439209 Torpedo director,  Halsey Arthur Sherman, US Secretary of Navy, App: 1925-06-15 (23 year delay) Pub:1948-04-06, 235/403; 235/84; 89/203 - mechanical computer
2476746 Director for computing torpedo attack courses,
Earl E Libman, Control Instrument Co, 1949-07-19, - "This invention relates to improvements in torpedo control Systems and has particular reference to a director for computing the values of the factors involved in firing a torpedo in line with the fore and aft axis of a ship and the point of intercept with a target." Cites 4 patents, Cited by 6 patents.
2570276 Fire control system, John E Reierson, 1951-10-09, - guns firing at moving targets -"lead" based on range, elevation, speed & course
2911145 Torpedo director, Eugene Odin, Noel Urquhart, Bosch Arma Corp, Filed: Jan 28, 1939 (20 year delay), Pub: Nov 3, 1959, 235/403, 235/405 - "The general method of this invention is predicated upon the solution of the torpedo problem equation R*sin(G-Br) = H*sin( I+J+P) * sin(G), where all of the terms of the equation are functions of G.  (the Gyro angle)" The first very large TDC
3007635 Ordnance apparatus for computing target observation error correction factors, Richard Y Miner, Clifford F Abt, Arma Corp, App: 1946-01-19, Top Secret, Pub: 1961-11-07, -
3019969 Torpedo intercept calculating apparatus, Clifford F Abt, Richard Y Miner, Arma Corp, App: 1953-05-25, Secret, Pub: 1962-02-06, -
3083666 Projectile aiming system, Agins George, Arma Corp, App: 1947-01-07, TOP SECRET, Pub: 1963-04-02, - minimizes dependence on accuracy of range by using bearing rate instead.
3882808 Torpedo control, Robert E Francois, William R Davis, Wayne M Sandstrom, Navy, App: 1962-10-30, Secret, Pub: 1975-05-13, - Sub-to-Sub torpedo control,

Big Guns Disconnect

The same ideas used in the Torpedo Data Computer (TDC) are also used in Fire Control Computers (Wiki, Mk 1 FCC) for Naval Guns and they attempt to solve the same problem relating to the movement of the target, weapon launching ship/boat and the time of flight.  It seems to me that there's no way a ballistic round can have enough accuracy to hit the largest target at the stated range of a big naval gun in W.W.II.  They did not understand the modern corrections made for long range shooting, that's to say only very fundamental corrections were made.  Note Ford Instruments has the patents on both the TDC and GD.

The Wiki page for 16"/50 caliber Mark 7 gun says the muzzle velocity is 2500 feet per second and the max range is 24 miles.  The actual path is a modified parabola and the round slows down as it flies, so using a straight line calculation of the time of flight will under estimate the actual time of flight.
24 miles = 126,720 feet
126720 / 2500 = 51 seconds.  I expect if the actual path was used and the slowing of the shell taken into account the actual flight time will be closer to 3 to 5 minutes.
A ship moving 16 miles per hour, moves 84,480 feet/hour, 23 feet per second, so in 51 seconds moves 1,197 feet or about 400 yards.
The big gun that shelled Paris in 1918 had a flight time of 170 seconds (Popular Mechanics)

In the book Wired for War it's mentioned (pg 56) that Pioneer drones (Wiki, RQ-2) were used as spotters for the 16" guns on a battleship.  That implies the accuracy was not good and the gun needed to be "walked onto the target". (short article Wired for War by Singer)

Note the same problem exists with Depth Charges.  They are launched from a moving ship, take some time to sink (especially the early cylindrical "ash can" type) and are intended to be near enough to a moving submarine to cause damage.  The streamlined Mk 9 depth charge was designed to reduce the time between launch and detonation.  I'm sure it did that, but was it enough to improve the results?

Another case where the actual range far exceeds what's practical is the air-to-air RADAR guided missile.  When using a missile Beyond Visual Range (Wiki) there is always the chance of fratricide (Wiki) which is hard to fix.

2413573 Fire control system, Earl E Libman, Control Instrument Co, Filed: 1944-08-21, W.W.II, Pub: 1946-12-31, 235/406; 235/416 - gun on m moving ship firing on another moving ship
2403506 Gunfire Control Computer, anti aircraft 1941, 1946
2762565 Anti-aircraft gun computer, Earl E Libman, Aaron D Fialkow, John W Bozeman, Gerst Irving, Control Instrument Co, 1956-09-11, -

Also see Norden Bomb Sight (It did NOT work as advertised)
YouTube: Mechanical Computer (All Parts) - Basic Mechanisms In Fire Control Computers

Mk 15 torpedo Run Times

Note that the speed is coupled to range because more fuel is burned at higher speeds. Or you could say when selecting the range (the numbers look better, i.e. 6, 10 or 15 thousand yards) the speed is determined (45, 33 or 26 knots).

Range
Speed
Run Time
5,500 m (6,000 yards)
45 k (25 y/s)
240 sec (4 min)
9,150 m (10,000 yards)
33 k (18.5 y/s)
540 sec (9 min)
13,700 m (15,000 yards)
26 k (14.6 y/s)
1027 sec (17 minutes)

So, the run time to maximum range is so great that it's questionable that any moving target could be hit.  If the target ship was not aware that they were being fired on and continued in a straight line (i.e. did not Zig-Zag) then MAYBE they could be hit, but even then the probably of a hit would be very small.  Add in any ocean current and the odds go to near zero.

Acoustic Homing

114/23 Ship/Torpedo/steering  mechanism

2409632 Guiding means for self-propelled torpedoes, Robert W King, AT&T, App: 1942-06-13, Top Secret, Pub: 1946-10-22, - ultrasonic transmitter, water turbulence (ship's wake)  reflects signal.
2452068
Sound pickup device, Robert E Peterson, Submarine Signal Co, Filed: Jan 23, 1943, Pub: Oct 26, 1948, 367/150, 181/176, 367/165  
2382058 Torpedo, Hull Maury I, Aug 14, 1945, 114/23, 89/1.51, 318/480, 361/183, 244/190, 318/460, 367/133, 318/16, 114/21.2 - acoustic homing
2420676 Submarine signaling apparatus, Robert E Peterson, Submarine Signal Co, May 20, 1947, 114/23, 367/150, 114/21.1, 116/27, 181/402, 114/21.3 - torpedo application
2447639 Torpedo battery compartment, Daly Thomas A, Westinghouse Electric Corp, Aug 24, 1948, 114/20.1, 114/65.00R - Fido Mk 24???
2572116  Sectionalized torpedo, Daly Thomas A, Filed: Oct 7, 1946, Pub: Oct 23, 1951, 114/22, 114/21.1, 114/24 - Fido Mk 24
2615416 Variable enabler for acoustic torpedoes, Daly Thomas A, Gill Harry A, Sec of Navy, Filed: Nov 21, 1946 (6 year delay), Pub: Oct 28, 1952, 114/23, 200/38.00R - can set the turn on of the acoustic homing to start from 500 to 4000 Feet. - Fido Mk 24
2938486 Torpedo depth control system, Beatty Charles G, Daly Thomas A, Jones Leonard S, Osbon William O, Stephen, Sec of Navy, May 31, 1960, 114/25 -
2974620 Triaxial control system, Daly Thomas A, Malick Franklin S, Voorhees John C, Sec of Navy, Filed: Jul 15, 1953, Pub: Mar 14, 1961, 114/23 - El, Az & Roll
3021807 Homing system for torpedo, Cecil K Stedman, Navy, App: 1946-05-01, TOP SECRET, Pub: 1962-02-20, - "...may reduce its noise by proceeding slowly or stopping. Another countermeasure is the release of a noise-making decoy by which the mine is guided away from the submarine. The present invention is intended to meet such counter measures and to render the mine far more effective against enemy craft, both surface and sub-surface."
Calls:

1892431 Echo torpedo
Fido Mk 24
Jr John Hays Hammond
1928-04-02 1932-12-27

2176469 Steering device responsive to radio signals
(UHF radio for weapon guidance)
Moueix Henri CSF
1936-01-23 1939-10-17

2262931 Radio direction finder
(ground station, Watson-Watt Ant + Goniometer
Guanella Gustav Radio Patents Corp 1938-08-23 1941-11-18

2349370 Radiant energy locating system
(home on sound coming from airplane)
Orner Harry
1940-09-19 1944-05-23

2382058 Torpedo (Acoustic Homing)
Maury I Hull Maury I Hull 1940-10-17 1945-08-14

2408395 Object locating system
(binural, 2-chan, I&Q detection)
Jr James B Hays Western Electric Co 1944-04-26 1946-10-01

2409632 Guiding means for self-propelled torpedoes
(active ping to home on surface ship)
Robert W King American Telephone & Telegraph 1942-06-13 1946-10-22

2416155 Position locator (aircraft)
Lewis W Chubb Westinghouse Electric Corp 1943-03-27 1947-02-18

2420016 Reflected wave navigation device
(home on target so path is straight line)
Jr Royden C Sanders RCA Corp 1944-05-23 1947-05-06

2431854 Apparatus for suppressing reverberation (W.W.II - "In accordance with this invention, use is made of the Doppler effect to distinguish between echoes from a moving target and reverberation..." Leon G S Wood Navy 1944-08-03 1947-12-02

3180296 Continuous wave acoustic guidance system, William H Hamilton, Nelkin Arthur, Navy, App: 1954-03-05, TOP SECRET, Pub: 1965-04-27, - active sonar looking for Doppler shifted signal.  This avoids self noise and other noises.
3228370  Electrical control systems, Daly Thomas A, Kowalyshyn Jr Stepben, Sec of Navy, Filed: Jan 28, 1950 (16 year delay) Pub: Jan 11, 1966, 114/20.1, 388/854 - Fido Mk 24??? - electric motor drive = no wake, battery voltage variation problem for tube filaments, slow speed for low noise OK for freighters (and subs)
3728982 Acoustic homing torpedo, R Dunlap, Us Navy, Filed: Jun 15, 1964, Pub: Apr 24, 1973, 114/23, 367/150, 114/21.1, 367/151, 367/96 -
3938456 Automatic steering system for a torpedo, Paul C. Gardiner, Robert S. Gardner, Clifford Mannal, John H. Payne, Navy, App: 1950-10-04, Top Secret, Pub: 1976-02-17, -
USH1038H Isolated transducer nose section, Roger F. Snyder, Navy, App: 1981-06-18, SECRET, Pub: 1992-04-07, -
"One embodiment of the apparatus is a transducer nose section of a torpedo which includes a pliable gasket for isolating the acoustic transducers housed therein from extraneous shell-born and mechanical vibrations."  Note "H" is a Statutory Invention Registration (SIR) patent, not a utility patent.
3976968 Underwater target detection apparatus, Jack H. Slaton, Halley Wolfe, Navy, App: 1954-11-19, Top Secret, Pub: 1976-08-24, 367/95; 367/93; 367/904; 367/96 - active Sonar guided torpedo

Exploder

The early torpedos just used a "contact pistol" (Wiki) that also included some Safe and Arm (Wiki) features.  For example a propeller at the nose that need to make some number of turns before contact can cause an explosion.  This would prevent a shipping accident from setting off an an unwanted explosion.

At the start of W.W.II the Mk 14 torpedo (Wiki)  used a magnetic influence exploder (Wiki: Magnetic Pistol) that should have triggered the explosion under the keel of a surface ship, but because, among other things, the depth control caused the torpedo to run about 12 feet too deep it did not work most of the time.  I guessing that there was also a polarity problem in that the influence exploder was developed in the Northern Hemisphere so when used in the Southern Hemisphere or near the Equator the polarity of the coil output would act to cutoff the Thyratron tube (Wiki) rather that start it conducting.  This was compounded by a defect in the contact fuze resulting in a very high number of duds for the first half of W.W. II.  The later Mk VI exploders included an improved metal ball contact exploder that worked at any practical contact angle.

1047157 Device for determining direction, Donald M BlissDec 17, 1912, 33/362, 324/257 - a coil is motor driven and the Earth's magnetic field generates a voltage that can be used as a compass.  This earth inductor compass uses a motor to rotate the coil, but in the case of the Mk 14 torpedo the magnetic exploder depends on the the movement of the torpedo.  The problem is that depending where in the world it's located and it's magnetic bearing and how much vibration the coil is experiencing and which hemisphere it's in the coil output may or may not trigger either when there's a ship nearby or not.

I'm guessing that details on the exploder for each torpedo is part of the classified aspect since it does not show up in tabulated descriptions.

 Essentially the exploder was just a fluxmeter.  This is just a coil that senses the voltage generated when the magnetic filed changes.  The amount of voltage depends on the strength of the magnetic field AND how fast the field changes AND the polarity of the field.  The polarity of the output voltage depends on the polarity of the magnetic field and the relative direction of motion between the target and torpedo.

A thyratron, such as the 2D21 (Valve Museum), will conduct when the grid No. 1 voltage exceeds 2 to 6 Volts.  One thing that might cause that is a vibration of the torpedo body and passing near a moderate magnetic filed either a target (but far from it) or not near any target but near a hunk of magnetized metal on the sea bed.

Mk 6-5  Exploder of 1945

The San Francisco Maritime organization has restored the USS PAMPANITO (SS-383) submarine and as part of that has on line manuals for a large number of it's systems.  OP 635, Torpedoes, Mark 14 and 23 Types, A Bureau of Ordinance Publication, 24 March 1945 includes the following photos of the Mk 6-5 Exploder along with a chapter on it.  Note the 1945 date, so NOT the Mk 6 that caused many problems.

The torpedo is shipped broken down into four parts:
1.  the nose that contains the exploder and explosives, or a training version
2. the compressed air flask
3. the afterbody or engine room which contains the combustion flask, dual stage counter-rotating turbine horizontal and vertical steering engines
4. the tail with the horizontal and vertical fins as well as the counter rotating propellers.

It appears that the Mk 6-5 exploder has the magnetic influence function active, but the books I've read say that it was deactivated for the last half of W.W. II.  What's the story?

The torpedo tube has provision to set the following parameters:

1. Gyro angle
2. depth
3. hi or low speed
My reading of the TDC function says it is constantly setting the gyo angle so that it's correct at the time the torpedo is fired.
Fig 1 Cross section showing exploder location
Mk 6
                        Exploder Manual: Op 635 24 March 1945
Fig 2 bottom view of nose with exploder removed.
Mk 6
                        Exploder Manual: Op 635 24 March 1945
Fig 3 Exploder shown on bench with added legs to keep it stable.  Note The add-on ball switch trigger to replace the defective contact exploder.
Mk 6
                        Exploder Manual: Op 635 24 March 1945
Fig 4 Exploder showing the water channel and impeller used both for safe and arm as well
as DC electrical generation.
Mk 6
                        Exploder Manual: Op 635 24 March 1945
Fig 5 Exploder detonator.  Note how might
fold over and jam from a head on hit.
Mk 6
                        Exploder Manual: Op 635 24 March 1945
Fig 6 Practice nose that ejects plywood disks when exploder fires.
Mk 6
                        Exploder Manual: Op 635 24 March 1945


Exploder (not rail road track signal, not oil wells, not barbed wire clearing) Patents

420406 Submarine Ram and Torpedo Exploder, W.K. Cavett, Jan 28, 1890, 114/3; 114/19 -  maybe classes: 114/19; 114/18
3720165 Torpedo exploder mechanism, T Dinsmoor, Navy, App: 1952-03-14 (SECRET), Pub: 1973-03-13, 102/428; 102/223; 102/416; 102/216; 102/247 -
2514359
fuze Proximity , Allison Malcolm G, Filed: Dec 28, 1945, Pub: Jul 11, 1950, 102/209, 324/257, 310/66, 102/212 - anti-aircraft, based on coil and rectifier (not a very good idea)
2645180
Torpedo exploder, John M Stockard, Filed: Nov 17, 1949, Pub: Jul 14, 1953, 102/226; 102/230; 102/416; 114/20.1 - Contact type, with Safe and Arm safety features.
1382374 Method and mechanism for exploding submarine mines, Hudson Maxim, Jun 21, 1921, 102/417, 114/20.1 - Iron sensor bar held in field of permanent magnet so the Earth's field is not a factor.
2397137 Magnetic controlling device, Glennon James B, Maltby Wilson R, Sellman Albert H, Filed: Jun 25, 1941, Pub: Mar 26, 1946, 340/850, 324/259, 340/551, 102/417 - magnetic needle held by PM. - sea mines

Mk 6 Exploder for the Mk 14 Torpedo?
Mk 6 Exploder for the Mk 14 Torpedo. 2397678 Torpedo exploding mechanism, Minkler Chester T, Filed: May 9, 1932, (12 year delay)  Pub: Apr 2, 1946, 114/21.1, 102/427
  - works with Bronze or steel casing.  The Permaloy core sticks out of both ends of the 480,000 Turn coil.  (only 1 coil).
17: high current triode.
This is not a magnetometer, but rather just am Earth Induction (Wiki,
1047157)  pickup coil (11)  driving the gird of a triode tube with the trigger solenoid (20) in the plate circuit.  This is really just an electric generator.

The magnetic exploder for the Mk 25 aerial sea mine worked, unlike this design.  But the Mk 25 patents are a decade after the Mk 6 exploder, so they learned from it's failures.


2398801 Magnetically controlled
                                torpedo firing mechanism, Chester T
                                Minkler, App: 1933-06-15
2398801 Magnetically controlled
                                torpedo firing mechanism, Chester T
                                Minkler, App: 1933-06-15

2398801 Magnetically controlled torpedo firing mechanism, Chester T Minkler, App: 1933-06-15, (12 year delay) Pub: 1946-04-23, -

A new type of vacuum tube (16) is used to drive the high current triode (14).  This is a cylindrical tube with the sense coil wound around the outside.

Minkler patents:
1368569, Hydrostatic mine, 1921-02-15, - looks like the Ash Can (see below)
2462118
                        Torpedo exploding mechanism, Chester T Minkler,
                        App:1932-12-0
2462118 Torpedo exploding mechanism, Chester T Minkler, App:1932-12-06, 17 year delay( ), Pub: 1949-02-22, - Photoelectric exploded to work by ship's shadow, not a test device.
2617703 Torpedo exploding
                                mechanism, Chester T Minkler,
                                App:1933-05-0
2617703 Torpedo exploding
                                mechanism, Chester T Minkler,
                                App:1933-05-0

2617703 Torpedo exploding mechanism, Chester T Minkler, App:1933-05-09, ( year delay), Pub: 1952-11-11, - designed for testing exploders, not a wartime device.


Fig 3: Generator version circuit
Fig 4: Battery version circuit
Fig 5: photo-electric cell near window
Fig 6: Camera showing projection lamp and mirror
Fig 7: Camera elevation opening for recording beams
Fig 8: Contact
Fig 9: light flash device.

2468968 Magnetic field strength indicator, Bell Telephone Labor Inc, Filed: Apr 20, 1943, Pub: May 3, 1949 324/246, 340/870.33, 324/253, 324/345 - 3-axis magnetometer
2477337 Magnetic Detector, William E. Kahl, Bel Labs, July 26, 1949 - mostly about sine wave coil drive and how even & odd harmonics come about
    Calls:
    2016977 Direction responsive system, Henry P Thomas, Gen Electric, Oct 8, 1935, 33/361, 340/870.32, 324/255 - aircraft magnetic compass
    2053154 Direct-current indicator, La Pierre Cramer W, Gen Electric, Sep 1, 1936, 324/99.00R, 336/87, 73/1.76, 324/254, 324/155, 336/110, 33/361, 340/870.3v3, 324/117.00R - 3-phase aircraft compass?
    2252059 Method and a device for determining the magnitudes of magnetic fields, Gustav Barth, Siemens App Und Maschinen Gmbh, Aug 12, 1941, 324/253, 102/427, 102/417, 340/870.33, 33/361 - Flux gates
    2415808 Detection of large magentic bodies, Oliver E Buckley, Bell Telephone Labor Inc, Filed: Jul 31, 1941, Pub: Feb 18, 1947, 324/67, 340/850, 324/243, 324/255, 324/345, 333/138, 340/870.33 - differential magnetometer for Submarine detection
2485931 Magnetic field strength indicator, Thaddeus Slonczewski, Bell Telephone Labor Inc, Filed: Apr 20, 1943, Pub: Oct 25, 1949, 324/247, 102/417, 340/870.33, 102/427 - 3-axis Earth's filed measurement.
2555209 Method and apparatus for measuring the values of magnetic fields, Gary Muffly, Vacquier Victor V, Gulf Research Development Co, Filed: Nov 1, 1943, Pub: May 29, 1951, 324/246, 324/345, 324/253, - aligns MAD sensors with Earth's magnetic filed

2968242
                        Torpedo exploding mechanism, Erwood Beck
                        Charles, Joseph Erwood, Wilbur Goss, Sec of
                        Navy
2968242 Torpedo exploding mechanism, Erwood Beck Charles, Joseph Erwood, Wilbur Goss, Sec of Navy, Filed: Jun 20, 1946, Pub: Jan 17, 1961, 102/206, 102/212, 102/263 - battery powered, combined magnetic & contact.   Since filed in 1946 the torpedo must have been operational near that date.  Where used? Let me know.
Maybe for Fido Mk 24 (Wiki)?  used the "Mk 142 contact fuze"
Alternate torpedos might be the Mk 13 (Wiki) or Cutie Mk 27 (Wiki) uses the
Mk 11 Mod 2 contact exploder
     Calls:
      914371
Firing means for torpedoes, Cleland Davis, Mar 2, 1909, - propeller on front for safety and Contact trigger
    1382374 (see above)
    2060198 Echo torpedo detonator, Hammond Jr John Hays, Nov 10, 1936, 114/21.2, 114/21.3, 102/211, 114/23, 102/418, 367/96 - active ultrasonic (20 kc) a clockwork switches the power to the transmitter or receiver so that the receiver is never on at the same time as the transmitter, so only a delayed/reflected signal will activate the receiver.
Calls:
1518123 Exciting means for electrodynamical oscillators, Jr Harry P Lawther, Filed: Aug 29, 1918, Pub: Dec 2, 1924, 367/175 - Ultrasonic transmitter includes diaphragm for underwater use
1625245 Receiving system for compressional waves, Dorsey Herbert Grove, Filed: Jun 22, 1918, Pub: Apr 19, 1927, 181/141, 367/130, 114/20.3, 367/902 - narrow band ultrasonic receiver for underwater use
    2397678 Torpedo exploding mechanism (See above)
    2404553 (see above)

2972026 Damped inertia switch, Kendall James M, Filed: May 7, 1948 (13 year delay=TOP SECRET) Pub: Feb 14, 1961, -  maybe detonator for Fido Mk 24
2993440
                        Control device, Chubb Lewis W, Prescott Herbert
                        L, Sidney Siegel,Sec of Navy, Filed: Apr 6,
                        1945
2993440 Control device, Chubb Lewis W, Prescott Herbert L, Sidney Siegel,Sec of Navy, Filed: Apr 6, 1945,TOP SECRET, Pub: Jul 25, 1961, 102/212, 102/417 102/212, 102/417 - Mk 18 Torpedo application, 2-coil metal detector, bronze warhead for magnetic reasons.  1/2" dia rods with pure iron, threaded for balance, end caps, 200,000 Turns in each coil. 

This solves the problem with polarity that was in the first generation Mk 18 magnetic exploder.  Note this is more like a Metal Locator/Detector than a magnetometer.  It is not sensitive to being in the Northern or Southern hemispheres and it doesn't matter if a ship is degaussed (Wiki).

3026805 Photoelectric influence detector and arming device for torpedoes, Robert A Becker, Navy, App: 1950-05-12, TOP SECRET, Pub: 1962-03-27, - combines magnetic and photocell.

6105504 Contact exploder, Dwight T. Ayres, Carroll L. Key, Jr., Miles T. Pigott, George F. Wislicenus, Navy, App: 1969-06-30, TOP SECRET, Pub: 2000-08-22, - "...until the occurrence of at least one of the following:
(1) the insulated Sensing conductor opens,
(2) a portion of the insulation of the insulated Sensing conductor is removed and the sensing conductor is shorted, specifically by immersion in and contact with Seawater"

Practice warhead

1097700 Submarine craft, Kenneth Whiting, Electric Boat Co, May 26, 1914, 114/331, 114/20.1 - dumps ballast at end of run to float the torpedo  - Referenced by 11 patents

Human Torpedo (Wiki)

There is a movie "The Human Torpedoes Of WWII" about these.  They are really midget (Wiki) or wet (Wiki) submarines that carry a couple of frogmen (Wiki).  They also carry explosives, like a Limpet Mine (Wiki) that is attached to a ship at anchor by the divers with a time fuze (Wiki).  In the movie they show the explosive being attached to the Human Torpedo by a crane and later an illustration of it being under the keel of a ship supported by cables going to either side of the ship.  It is not clear how two men can do that.

An important difference between frogmen (Wiki) and SCUBA (self-contained underwater breathing apparatus) (Wiki: diving, set) commonly refers to an open cycle breathing system where the exhaled breath causes bubbles.  A key idea for the Human Torpedo is that the frogman use rebreathers (Wiki) so that no bubbles go to the surface and there is no associated "bubble noise" generated.

Because there has been a threat from swimmers attaching limpet mines to ships in harbor starting as far back as the Civil War, there are also counter measures used to stop it.  The movie mentioned that these sometimes worked but not how.

Torpedo Countermeasures

Also see SONAR countermeasures - Need to sort these two types.  Hopefully the patents listed here protect against torpedoes (and other weapons) but do not defeat sonar.
Military airplanes have various sensors that tell the occupants that some type of weapon system is aiming at them or a projectile is heading in their direction. See: Radar Warning Receivers.  Submarines can have a system to tell the occupants that a torpedo has come close to them. 

2941493 Anti-torpedo device, James B Glennon, Robert H Park, Nelson N Estes, Harold W Klas, App: 1942-06-01, TOP SECRET, Pub: 1960-06-21, - sets off explosive when torpedo is near the streamer. Glennon (Unto the breach) holds a number of patents for the Mk 25 aerial sea mine.
2979015 Anti-torpedo system, Nelson N Estes, App: 1944-01-06, TOP SECRET, Pub: 1961-04-11, - system to protect surface ships
3093107 Expendable ammonia noisemaker, Joseph A Grand, Roman R Miller, App: 1945-01-25, TOP SECRET, Pub: 1963-06-11, - "...against acoustic torpedoes and mines, or an underwater sound beacon or the like." "An important phase of this invention is the discovery that the vapors of gaseous substances readily soluble in water such as ammonia, hydrogen chloride and Sulfur dioxide, which may be produced much more readily and with lighter apparatus than steam, may be used very effectively in the production of underwater sound by collapse of vapor bubbles." Wiki: Cavitation - a buoy, pressure tank and bubble generator.
3094968 Expendable vapor noisemaker, Richard F Post, NRL, App: 1945-01-25, TOP SECRET, Pub: 1963-06-25, - "...as a counter measure against acoustic torpedoes and sonic direction finders, or as a sonic beacon or the like." "...a substantially wide band of frequencies, including high audible and superaudible frequency and having a frequency spectrum not strongly peaked...", "...ammonia gas, hydrochloric acid gas, and steam. In the case of steam the sudden collapse of the bubble is obviously due to condensation while in the use of ammonia and hydrochloric acid gas the collapse is substantially wholly due to solution of the gas in the water."
3893063 Detection streamer, Robert H Park, Harold W Klas, Nelson N Estes, Navy, App: 1944-03-15, TOP SECRET, Pub: 1975-07-01, - for detecting a torpedo by hearing it with a string of hydrophones.
3939469 Detection streamer, Robert H. Park, Navy, App: 1944-03-15, TOP SECRET, Pub: 1976-02-17, - a cable with sensors to detect the presence of a torpedo.  used in patent 2979015
4025724 Noise cancellation apparatus, Allen R. Davidson, Jr., Timothy G. F. Robinson, Westinghouse, 1977-05-24, -
4184209 Towed noisemaker, Ralph P. Crist, App: 1952-10-10, TOP SECRET, Pub: 1980-01-15, - electric motor drives rollers on inner surface to noise making tube.
4194246 Noisemaker beacon, Ralph P. Crist, Navy, App: 1958-05-12, TOP SECRET, Pub: 1980-03-18, - above 100 dB from 10 Hz to 100 kHz., for launching from submarine.
4215630 Anti-ship torpedo defense missile, Allen C. Hagelberg, Walter A. Lobitz, GD (Hughes Missile Systems), 1980-08-05, - rocket places explosives ahead of incoming torpedo
4255797 Sonic attenuation system, Philip L. Stocklin, Raytheon, 1981-03-10, - loud noise causes intermodulation products in water attenuating  incoming Sonar.
4313181 Torpedo countermeasure, Carl H. Holm, Navy, App: 1962-08-29, TOP SECRET, Pub: 1982-01-26, - active sonar gives warning and maybe suggested evasive action (steering direction?).
4438526 Automatic volume and frequency controlled sound masking system, Richard O. Thomalla, Leucadia, 1984-03-20, - "A sound masking system for generating background sound. The background sound is automatically adjusted to ambient noise levels by adjusting the amplitude of the frequency levels detected." - used in open offices to mask sounds in the open room
4473906 Active acoustic attenuator, Glenn E. Warnaka, Lynn A. Poole, Jiri Tichy, Noise Cancellation Technologies, 1984-09-25, - using 180 degree phasing to cancel sound
4991144 Dopplerized echo repeater, Keith E. Geren, Ray M. Marklnd, Navy, App: 1963-03-29, TOP SECRET, Pub: 1991-02-05, - adds Doppler to active sonar to make dummy submarine look real to incoming torpedo.
5001485 Magnetic field generator, Louis F. Jones, Navy, App: 1968-12-20, TOP SECRET, Pub: 1991-03-19, - by sweeping current and using sea water as a conductor, a magnetic field is created that will hopefully trigger magnetic mines and torpedoes prior to their optimal setting.
5012742 Proximity fuze, Louis F. Jones, Navy, App:. TOP SECRET, Pub: 1991-05-07, - a buoy like device that is deployed in a row to make a fence of protection.  Contains hydrophones and explosives.
5033028 Reaction mass actuator, Douglas R. Browning, Bell Labs, 1991-07-16, - "One approach to lessening vibrational energy is to apply counter-vibrations to the vibrating member."
5117401 Active adaptive noise canceller without training mode, Paul L. Feintuch, Raytheon, 1992-05-26, - inversion cancelation
5268875 Acoustic decoy, John D. Charlton, Navy, App: 1967-05-11, TOP SECRET, Pub: 1993-12-07, - has continuous loop record then playback of pings.  multiple record and read heads in various positions, i.e. random timing of the playback signals.flamar
5341343 Underwater explosive acoustic signature device, Robert L. Aske, Raytheon, 1994-08-23, - fired from surface ship - multiple cluster bomb type devices per round
5394376 Method and apparatus for acoustic attenuation, Laurence R. Riddle, John M. Sewell, Paul H. Kurtz, Lockheed Martin, 1995-02-28, - cancellation waveform
5666900 Method and apparatus for deploying an expendable autonomous underwater vehicle from a submarine, Alf L. Carroll, III, William D. Pattee, Mark C. Manning, John E. Mather, Michael P. Wapner, Sippican, 1997-09-16, - a way to launch a AUV from the trash disposal unit of a submarine. - Maybe a practice target or a countermeasure?
6341101 Launchable countermeasure device and method, C. Ray Dutton, Lynn A. Potter, Joseph B. Lopes, Navy, 2002-01-22, - Countermeasures Set Acoustic (CSA) Mk2 Launcher System (EPA report).  4ea Ohio (SSBN 726) Class (16 launch tubes/sub), 20ea Los Angles (SSN 688) Class (14 launch tubes/sub).  The countermeasure device is 7.5" dia x 10'-2" long. - comments on many prior art countermeasures.

The War Zone: The Shadowy World Of Submarine And Ship-Launched Torpedo Countermeasures - "...the four basic types of torpedo countermeasures: maskers, jammers, decoys, and anti-torpedo devices, ..."
Naval Acoustic Electromechanical (NAE) Beacon Mk 3 - "This saltwater activated masker is ejected from the submarine and a float is released that tethers the device to a specific depth. A thermal battery powers its motor and electronics, which create the broadband noise. This produces a loud acoustic signature that spans the spectrum of a broadband sonar system, effectively raising background noise above a target’s SNR, "wiping" the sonar operator’s display in one solid color with no contrast. As such, they cannot delineate targets from the noise."

Acoustic Device Countermeasure (ADC) Mk 4 Mod 1 - "...produce wide range tones designed to confuse a torpedo detection logic with a large number of false targets."

AN/SLQ-25 Nixie (FAS) torpedo countermeasure

Naval Mine 

See Ref 43 & Mine Identification Manual, Ord Pam No. 898, Oct 1943 (mineid/index.php)
Early Naval mines (Wiki) bristled with contact fuzes and a ship needed to bump into the mine to set it off.  But later versions made use of magnetic influence exploders. 

The Hertz Horn contact fuze was a lead finger that contained a sealed glass vial filled with Spherical Acid.  I've seen a few descriptions of how the acid worked.
1. The acid could come in contact with a mixture of potassium perchlorate and sugar which would cause a very active fire.  This chemistry was common in W.W.II.
2. The acid would be routed to a lead battery that was dry.  When the acid was inside the battery it would send electricity to a detonator.
3. The acid would make contact with a couple of electrodes completing a circuit that included a battery and pressure arming switch going to a detonator.
YouTube: Thunderf00t: The 'superweapon' that almost won Hitler the war! - German magnetic mine exploder (note it's on gimbals!)
This led to anti-mining by use of man made magnetic fields or by use of wooden minesweeper (Wiki) ships.  Mining enemy harbors has been used as a way to deny the enemy supplies.  A blockade of the South was used during the U.S. Civil War (Wiki).  This was a very big thing for Japan in W.W.II.

The method of triggering a mine might be any combination of:
1. Mechanical contact, like the Hertz Horn.
2. magnetic influence (Wiki: Influence Mine)
3. pressure - not weather or tides, but a heavy ship
4. gravity - not tides or small boats, but a heavy ship
5. Sound
6. AC Impedance
7. Electrical galvanic action where the metal in the ship, sea water and copper electrodes form a battery
8. Inertia - if the ship hits the mine or the wake is strong enough to push the mine sideways it goes off.

It was the experience gained with Naval Mines in W.W. I that the effect was much larger when the mine exploded under ship and broke the keel that caused torpedo designers to come up with a magnetic influence exploder.

A countermeasure for magnetic influence mines is Deguassing a ship (Wiki) so that it's less likely to set off the mine.  This was a big thing before the existence of magnetometers, i.e. when the sensor worked on Earth Induction, like the Mk 6 exploder.

A Counter countermeasure is for the mine to include a counter so it does not explode on the first magnetic anomaly, but after many.  So a man made magnetic field is unlikely to set it off.

The naval mines used in the second half of W.W.II were designed to be launched from various platforms including 21" torpedo tubes.  Two mines took up the same storage space as one torpedo so a sub could carry twice as many mines as torpedoes.  But, the captain and crew counted number of ships sank for the total of their tonnage which was mostly possible with torpedoes but not so much with mines.  The purpose of naval mines is more about stopping or slowing down shipping than about the number of ships sank or total tonnage.  If you close a harbor it really does not matter if any ships are sunk, just that the supplies do not get through.  So there was an inherent conflict of interest when a sub was tasked with laying mines.  The reason to use a sub as a mine laying vehicle is that it can do the job in cases where ships or planes could not do it.

In the book Pig Boats (Submarines Ref 5) it says that in 1943 some subs were equipped with mine hunting technology developed by the University of California.  While, so far, I haven't found a patent for it, I suspect it was a form of active SONAR (Wiki - SSQ-32) that allows imaging in two dimensions so the mine could be "seen" on a CRT (Wiki).

A lot of patents were issued for Flux Gate Magnetometers that would be used originally in naval mines and later in satellites and other things.

The term "Submarine mine" appears in the patents to mean a mine below the water, not a mine for attacking submarines.

Table of mines (reconstructed from Oceanography and Mine Warfare, Chapter 2 An Overview - where it appears on four pages so not at all usable.

Note 21" Width & Height = 533 mm.
         19" Width & Height = 485 mm.

 Country  Name Type
 Description Length
(mm)

Width
(mm)

Height
(mm)

Weight
(kg)

Charge
(kg)

Operational Depth (m)

Brazil MCF-100 Moored contact Can be programmed to remain inert for a fixed period of time, then self-release and anchor itself at the desired depth; can be fitted with an influence sensor.

1,400

1,020

1,500

770

160

3–50

Denmark
MTP-19 Cable-controlled Fully remote controlled; can be operated at distances of 12 km or more; consists of a portable weapon control unit, distribution box, and the mine itself.

1,000

1,090

1,128

800

300

3–20

Germany
SM G2 Ground influence Has a non-magnetic casing with acoustic, magnetic, and pressure influence sensors; mine will detonate when preset influence parameters are recognized.

2,000

600

600

750

N/A

N/A

DM 211 Anti-frogman underwater
signal charge
Anti-frogman depth charge protects ships and harbor installations against divers; signal charge is used for encoded submarine-to-surface ship communications.

268 DM211

145 DM221


60


60


1.4

0.8


0.5

0.05


6


DM 221
Iraq A1 Floodable submersible
Possibly the largest mine in the world that is designed to destroy offshore structures; operates even in very deep water; timer or remote-control detonation.

3,400

3,400

3,000

16,100

9,000

N/A

Kaakaa/16

700–980

700–980

850

535

400

N/A

Sigeel/400 Ground Seabed mine for deep and shallow water; for use against medium and large targets; can be ship or helicopter deployed.

1,646–2,750

533

533

565–1,035

380–865

5–300

Italy MR-80 Seabed influence Actuated by magnetic, acoustic, and pressure influences from the target; body is composed of epoxy resin and glass fibre.

2,096

533

533

780

630

5–300

MP-80

Seabed influence Similar influence activation as the MR-80 but with microprocessors to discriminate between target and countermeasures.

2,096

533

533

780

630

5–300

Murena

Seabed influence Similar to MP-80 but with an advanced microprocessor-firing device.

980

980

470

225

150 or 180

2.5–100

Manta Mine

Shallow seabed influence A dual influence (magnetic and acoustic) anti-invasion mine shaped to rest firmly on the seabed even in strong flows.

1,560

533

533

870

200

20–300

Seppia

Moored influence Programmable mine that can operate on any type of bottom against all types of targets; can select targets and discriminate against countermeasures; can be remotely controlled.

1,530–3,060

450–790

450–790

525–1,500

300–1,350

 15–35 to 15–300

Russia
MDM 1–5 Seabed influence Can be laid from a variety of platforms, activated with either acoustic-magnetic or acoustic-magnetic-pressure sensors.

7,900

533

533

 1,980

480

 4–100

SMDM series Self-propelled seabed Similar to MDM mines but are placed in the body of a torpedo to be laid by submarines.

11,000

650

650

5,500

800

8–150

PMK-1 Underwater rocket-powered torpedo A combined mine based on a torpedo with an on-board computer and sensor to identify the target and compute the required trajectory; detonation using combined influence, contact, and time fuze.

7,830

533

533

533

1,850

350

MSHM Continental shelf Acoustic sensor detects and identifies the target, computes the required trajectory before the underwater rocket is fired to home in on the target.

4,000

533

533

1,500

250

60–300

Spain

MO-90

Moored influence An intelligent multi-influence mine, parameters can be programmed into the weapon's computer before deployment; incorporates anti-minesweeping countermeasures.

1,180

1,090

1,690

1,060

300

5–340

Mila-6B

Naval limpet Time-fuzed mine that can be used as a demolition charge; attached to underwater structures mechanically or magnetically. 350 350

150

65

N/A

0–40

Sweden BGM 100 Anti-invansion ground influence Advanced gliding mine shape allows mine-laying over a wide area while covering the minimal distance; low-profile shape makes it difficult to detect; constructed of reinforced plastic. 1,015 800

385

190

105

5–100

BMM 80 Moored influence Programmed to anchor itself automatically at the desired depth before sinking. 1,125

660

1,125

450

80

20–200
BGM 601 Ground influence Developed as a submarine weapon to be attached to the outer hull; incorporates multiple sensors with sophisticated logic making it resistant to countermeasures. 2,000

750

750

800

80

20–200

BGM 600 Cable-controlled Developed to provide a rapid means of deploying a controlled minefield. 1,700 600

700


700

200–400

N/A
UK
Sea Urchin Programmable influence An intelligent seabed mine that can be programmed to detonate by a range of influences when the target is at the closest approach point. 1,440–2,540

533


533


569

350

5–200

Stonefish Ground influence Designed to be modular to fit any requirement; detonation by acoustic, magnetic, and pressure sensors with signal processing capabilities. 2,500

533

533


990

600

10–200

US
Mk 25
magnetic,
acoustic or
pressure


533 21"?

907
567

US
Mk 52, 55, 56, and 57 Seabed influence These mines are now obsolete although many are still in inventory; activated using magnetic, acoustic, and pressure sensors. 2,250–3,000 844–1,060 844–1,060 542–1,010

300–576

45–350

Mk 36, 40, 41, and 115A Air-laid influence Detonated using magnetic and acoustic sensors; intended for use in shallow water; obsolete although many are still in inventory. 2,250–3,830

400–630

400–630 240–926 24–204 45–91
Quickstrike series 62 & 63
Air-launched seabed Group of mines with different cases but common target detection and classification mechanisms; based on conversion of existing ordinance.
Use Mk 82 (500#) and Mk 83 (1000#) bombs
2,200–3,800

271–533

271–533

227–908

89–202

<100

Mk 60

Encapsulated torpedo A Mk 46 torpedo inserted into a mine casing; used for anti-submarine warfare; can classify targets and initiate the release of the torpedo; employs both passive and active sensors. 3,700

533

533

1,075

45

>305

Mk 67 SLMM Sub-Launched Mobile Mine
seabed influence
Self-propelled mine for use in shallow water and where covert mining is desirable; detonation using magnetic, acoustic, and pressure sensors. 4,090

485

485

745

N/A

<100

Yugoslavia M66 Diversionary underwater Nearly non-magnetic housing; timed fuze settings; once emplaced and activated cannot be removed. 670

430

320

50

27

30

"
M70 Acoustic influence seabed Employs highly sensitive sensors with a large explosive charge; can be laid from multiple platforms. 2,823

534.4

534.4

1,000

700

50–150

"
M-71 Limpet Attached magnetically and mechanically; fitted with a time fuze. 345

345

245

14

3

30


San Francisco Maritime Org:
Ordnance Pamphlet No. 898 Mine Identification, October 1943 -
Operational Characteristics of U.S. Naval Mines (U), ORD 696(B), 1959,
Mine Disposal Handbook, 1945
Bibliography from "Mines Away!"( Mines_Away.pdf)
Joint Direct Attack Munition (Wiki: JDAM) - Naval Mine Kit - can be used with 80 series iron bombs to make them into Naval mines which can be dropped from 35,000 feet.
YouTube: Not What You Think:

1295051 Drifting mine, Chester T Minkler, 1919-02-18, - to be hung from a float to attack submarines.
1527770 Mine, Allan W Ashbrook, Clarence N Hickman, Navy, 1925-02-24, -
take a position just beneath the surface of the water where they-cannot be seen
2352226 Mine, Ronning Adolph, App: 1940-03-02, W.W.II, Pub: 1944-06-27, - moored, magnetic, contact,
542732 Submarine Mine, W.M. Huskisson, July 16, 1895,
102/417 - Hughes (Wiki) induction balance
571739
Electromagnetic sentinel, Francis B. Isadt, Nov 24, 1896, - an iron core coil is excited with an AC signal and when an iron clad ship is nearby the impedance change shows it's presence.
1025905 Automatic firing device for submarine mines, G E Elia, May 7, 1912, 102/423 - all mechanical
1167278 Device for automatically anchoring submarine mines at a predetermined depth independently of the bottom of the sea, Giovanni Emanuele Elia, Vickers Ltd, Jan 4, 1916, 102/413 - the high qty sea mine with auto depth setting (No. 6/)
1295051 Drifting mine, Chester T Minkler, Us Government, Feb 18, 1919, 102/422 - includes provision to sink after some Sal Ammoniac (Wiki) dissolves.
1390768
Submarine mine, Grove Dorsey Herbert, Filed: Dec 14, 1915, Pub: Sep 13, 1921, - spherical, replaces trigger wire from shore with underwater acoustic signal using tuning fork.

1466915
                              Submarine mine, Nichols Ernest Fox, Sec of
                              Navy, 1923-09-04, -
1466915
                              Submarine mine, Nichols Ernest Fox, Sec of
                              Navy, 1923-09-04, -

1466915 Submarine mine, Nichols Ernest Fox, Sec of Navy,  1923-09-04, 102/417 -
The gimbals are to keep the cylinder vertical.
It's made of aluminum and filled with kerosene.
Magnets 25 & 34 react to a change in external magnetic field.

The application date for this patent is 1918, well before W.W.II. so is not the German trigger.
It does have an explanation for the presence of gimbals.


2439211 Submarine mine, Clarence N Hickman, Department of Navy, App: 1924-11-13, Top Secret; Pub: 1948-04-06, 102/414 - "...come automatically to a position of rest at a predetermined distance below the surface of the water." Water pressure works against a spring and for every 0.3" of movement a weight is dropped off until the mine is about 50' under water water where it sits.

1491004
Explosive mine, Duffie John J, Us Government (Berkeley, Calif.), Filed: Nov 18, 1918, Pub: Apr 22, 1924, 102/418 - combines a microphone and clockwork so loud sound needs to be present for more than an instant.

1531550 Mine,
                      James B Glennon, US Govt, 1925-03-31, - spherical
                      contact, moored, snag floats
1531550 Mine, James B Glennon, US Govt, 1925-03-31, - spherical contact, moored, snag floats

1535633
Submarine contact mine, Sperry Elmer A, Apr 28, 1925, 102/421 - buoyant, but bottom anchored, sub torpedo tube launched
1538316
Explosive mine, Duffie John J, Filed: Feb 8, 1918, Pub: May 19, 1925, 102/418; 367/133 - loud sound waves set it off, uses a meter movement with contacts on needle.
1780592 Sink mine, Johansson Karl Oskar Reinhold, Lindholmen, 1930-11-04, 102/392 -
1844575 Mine, J.K.M. Harrison, Feb 9, 1932
102/421 102/421 - sphere hangs below float
1814152 Marine mine and firing method therefor, John K M Harrison, 1931-07-14, 102/421 - sphere hangs below float
2399523
Control system and device therefor for submarine mines, Atta Chester M Van, Whitehead Richard H, Filed: Feb 7, 1942, Pub: Apr 30, 1946,  102/417, 29/455.1 - hydro-static pressure, compass needle and clockwork - requires a particular sequence within a time frame to detonate. 

2412770 Rising
                      drifting mine, James B Glennon, App: 1932-09-27,
                      TOP SECRET, Pub: 1946-12-17, -
2412770 Rising drifting mine, James B Glennon, App: 1932-09-27, TOP SECRET, Pub: 1946-12-17, -

2419815 Water armed fuze, George E Breeze, Godwin R F Gay, Navy, App: 1944-10-03, Pub: 1947-04-29, -  water activates mine, then contact explodes it
2431319
Magnetic firing device, Ellwood Walter B, Filed:Feb 9, 1943, Pub: Nov 25, 1947, 102/391; 89/28.05; 102/402; 335/154; 102/212; 102/417; 340/850 - versions for both the ash-can and Mk 9 depth charge
2465009 Concussion detonator, See below
2482106 Device for controlling the buoyancy of subfloating bodies, Robert C Duncan, Albert H Sellman, App: 1941-12-30, TOP SECRET, Pub: 1949-09-20, -
2821920 Mine, Albert H Sellman, App: 1940-08-05, TOP SECRET, Pub: 1958-02-04, - planted from sub, bendable horn type firing device 

Mk 25 Aerial Mine

These were used to cutoff Japan from getting supplies in W.W.II.  Half the mines laid in "Operation Starvation," the mining of Japan's home waters, were versions of this mine.  Assembled, it weighed approximately 2,000 pounds, which included 1,250 pounds of explosive. The AN/APQ-13 X-band radar (Wiki) was used for night time mining. Ref 24; Ref. 25.Can be placed by aircraft, sub or ship.
Many versions that use different triggering methods, called arming and firing in patent title.

The patents for the Mk 25 do not show an assignee, but rather are held by the individual inventors.  Maybe that was done as part of the plan to keep it a top secret. If there's a long time delay between the application and the publication I'm marking the patent
TOP SECRET.

The patents in the following table have the look and feel of the photographs I've seen of the Mk. 25 aerial mine, but may also apply to newer mines that can also be placed by either a sub, aircraft or ship, i.e. that fit a 21" (533mm) torpedo tube.
 


2397137 Magnetic controlling device, James B Glennon, Albert H Sellman, Wilson R Maltby, App: 1941-05-26, TOP SECRET, Pub: 1946-03-26, -

2400549 Mine firing device and control means therefor, James B Glennon, Robert H Park, App: 1942-02-03, W.W.II, Pub: 1946-05-21, - Fig. 9: Reset Magent (RS), Induction coil (48), Pressure sensor (18), time delay relay (B),

2429615 Inertia controlled safety device, James B Glennon, Roger W Wallace, Jr Bernard Woodward, App: 1943-10-04, W.W.II, Pub: 1947-10-28, - Safe and arm
2436394
                      Magnetic detector, Maltby Wilson R, Park Robert H,
                      Filed: Jun 6, 1941, Pub: Feb 24, 1948, 102/417,
                      324/258, 336/90, 340/850, 336/233
2436394 Magnetic detector, Maltby Wilson R, Park Robert H, Filed: Jun 6, 1941, SECRET, Pub: Feb 24, 1948, 102/417, 324/258, 336/90, 340/850, 336/233 - about the shape of the magnetic core of the sense coil.

Applies to sea mines but not torpedoes.  Note in this patent the search coil directly drives the Sensitrol Relay, but in the Mk 14 torpedo the coil drives a Thyratron tube (Wiki) that's polarity sensitive.

Also note the appearance is more like the Mk. 25 aerial mine than a torpedo.

2493788 Resilient support for the firing control mechanism of a marine mine, Joseph D Turlay, App: 1942-09-29, TOP SECRET, Pub: 1950-01-10, -

2526670 Electrolytic switch, Lewis E Kissinger, Robert C Duncan, Edward F Ellison, Joseph D Turlay, App: 1943-02-16, TOP SECRET, Pub: 1950-10-24, - "The switch is adapted to interrupt and/or close one or more control circuits and is particularly adapted for use as an arming device for a marine mine in which the arming of the nine is delayed until a predetermined period of time has elapsed after the mine has been planted and the device is also adapted to disarm the mine at the completion of a substantially longer period of tine."

2703052 Magnetically controlled firing mechanism for marine mines, James B Glennon, Chester M Van Atta, Frank W Brown, App: 1942-07-01, TOP SECRET, Pub: 1955-03-01, - Mk 25. magnetic dip needle,

2704030 Arming and firing control mechanism for a marine mine, James B Glennon, Roger W Wallace, App: 1942-09-12, TOP SECRET, Pub: 1955-03-15, - induction coil (38), hydreostat (HS), Master Switch (MS), Firing Relay (FR),

2706948 Depth regulating device for a moored mine, Joseph D Turlay, App: 1942-11-17, TOP SECRET, Pub: 1955-04-26, -

2764090 Means for destroying a sweep wire, Joseph D Turlay, App: 1942-02-26, TOP SECRET, Pub: 1956-09-25, - to stop mine sweeping.

2781723 Mine firing control device, Joseph D Turlay, App: 1943-07-14, TOP SECRET, Pub: 1957-02-19, - mine explodes if the water pressure decreases, like if it is being raised up in a recovery attempt.
2789503 Mooring
                      device for a submarine mine, James B Glennon,
                      Chester M Van Atta, Joseph D Turlay, App:
                      1942-11-17, TOP SECRET,, Pub: 1957-04-23, -
2789503 Mooring device for a submarine mine, James B Glennon, Chester M Van Atta, Joseph D Turlay,  App: 1942-11-17, TOP SECRET, Pub: 1957-04-23, -
"   released from the torpedo tube 14 of a submarine 15..."

2881702 Mine firing mechanism, James B Glennon, Robert H Park, Wilson R Maltby, Charles A Hobbs, App: 1941-08-09, TOP SECRET, Pub: 1959-04-14, - uses a couple of telephone type stepping switches. gravity & magnetic

2892402 Gravity controlled mine firing mechanism, Park Robert H, Filed: Dec 8, 1941, (13 year delay) Pub: Jun 30, 1959, - not effected by tides or small craft, but triggers when heavy ship is nearby. (see my page on Gravity meters, which lists Wright Gravity Meters under Historical - spring suspended mass.

2892403 Mine firing mechanism, James B Glennon, Iii Elihu Root, Robert H Park, Edward S Gilfillan, App: 1941-08-09, TOP SECRET, Pub: 1959-04-14, - moored, Pressure activated, Magnetic trigger,
2892404 Mine
                      firing system, James B Glennon, Robert H Park,
                      App: App: 1946-05-15, TOP SECRET, Pub: 1959-06-30,
                      - Pressure trigger
2892404 Mine firing system, James B Glennon, Robert H Park, App: App: 1946-05-15, TOP SECRET, Pub: 1959-06-30, - Pressure trigger


2905088 Firing
                      mechanism for a submarine mine, James B Glennon,
                      Chester M Van Atta, App: 1941-05-26, TOP SECRET,
                      Pub: 1959-09-22, - Mk 25 Aerial Mine
2905088 Firing mechanism for a submarine mine, James B Glennon, Chester M Van Atta, App: 1941-05-26, TOP SECRET, Pub: 1959-09-22, - Mk 25 Aerial Mine,
see Ref. 25,
magnetic dip needle,
The diameter may be to fit a 21" US torpedo tube for launching from a sub. "
The mine may be launched from a submarine, a surface vessel or from an aircraft in flight."

2959125 Mine firing control device, Chester M Van Atta, Iii Frank W Brown, App: 1942-02-18, TOP SECRET, Pub: 1960-11-08, - 10 position switch,

2966853 Buoyant mine with gradiometer, Jr Edward S Gilfillan, Seymour J Sindeband, App: 1941-10-27, TOP SECRET, Pub: 1961-01-03, - spherical mine, but cylindrical gradiometer (see Metal Locators)

2958278 Depth charge firing mechanism, Joseph D Turlay, App: 1944-01-25, TOP SECRET, Pub: 1960-11-01, -

2958281 Hydrostat mechanism, Albert H Sellman, Robert H Park, Roger W Wallace, Charles A Hobbs, App: 1942-02-26, TOP SECRET, Pub: 1960-11-01, -

3011438 Subfloating mine, Joseph D Turlay, Richard W Townsend, App: 1944-01-24, TOP SECRET, Pub: 1961-12-05, - propeller senses vertical movement and a compartment if pumped in or out to control the specific gravity of the mine to regulate its depth.
3016012 Inertia
                      operated mine firing device, Joseph D Turlay, App:
                      1949-01-19, TOP SECRET, Pub: 1962-01-09
3016012 Inertia operated mine firing device, Joseph D Turlay, App: 1949-01-19, TOP SECRET, Pub: 1962-01-09

3016013 Acoustical mine firing control system, Grant N Willis, App: 1945-01-19, TOP SECRET, Pub: 1962-01-09, -

3722409 Mine firing control apparatus, R Mann, F Johnson, Navy, App: 1943-08-28, TOP SECRET, Pub: 1973-03-27, - search coil feeds Sensitrol relay

3850100 Mine firing control system, W Mounce, R Mann, Navy, App: 1943-08-28, TOP SECRET, Pub: 1974-11-26, - magnetic sensor, uses tubes to be more reliable than mechanical time delay relays and has provision to resist sweeping magnetic fields.

3015273
Magnetic mine firing control mechanism, Gilfillan Edward S, Park Robert H, Sindeband Seymour J, Jan 2, 1962, 102/417 -  
3151555 Marine mine, Albert H Sellman, 1964-10-06, - shallow water, beaches, not Mk 25.
3252417 Arming and firing mechanism, Jr Virgil H Johnson (also see Hill), Magnavox, 1966-05-24, - arms when below set depth and un-arms above that set depth - maybe for torpedo?
3649908 Magnetic field gradiometer utilizing a pair of cores driven by a blocking oscillator, Robert E Brown, Navy, 1972-03-14, - sensitive magnetic mine sensor (also see Joule Thief)

4188905 Mine sweeping means, Royal Weller, Harry S. Jones, Navy, App: 1943-04-13, (SECRET) Pub: 1980-02-19,
114/253; 102/403; 114/244 - for pressure controlled sea mines
4274333
Deepwater target-seeking mines, Glen T. Lampton, Sec of Navy, Filed: Dec 28, 1959 (22 year delay ), Pub: Jun 23, 1981, 102/418, 102/411 - looks like torpedo, but does not have any power unit.  Propelled from bottom by bouncy and steered by sound.
4447776 Pulse driver for flux gate magnetometer, Robert E. Brown, Navy, 1984-05-08, - very energy efficient fluxgate magnetometer

USS Princeton (CG-59) 1991 mine (Wiki) damage.
Operation Starvation (Wiki) US mining Japan W.W.II

Anti-Mine Operations

YouTube:

This is a way to trigger an underwater explosive based on the pressure wave of a nearby underwater explosion.
See Ref 39 & Ref 40.

2465009
                      Concussion detonator, Chase Leland H, Mar 22,
                      1949, 102/416, 102/230, 102/222 - diaphragm input
2465009 Concussion detonator, Chase Leland H, App: 1945-10-11, W.W. II, Pub: Mar 22, 1949, 102/416, 102/230, 102/222 - diaphragm input

Cites 9 prior art patents;
Cited by a dozen newer patents.


Hedgehog Description

The British Hedgehog  (Wiki) is a spigot mortar (Wiki) mounted on the bow of a ship, aka: Anti-submarine Projector.  They were fitted with contact fuze on the front end so only would explode if a direct hit on a submarine (or the ocean bottom?).  After all the mortar shells have been launched the launcher has the appearance of a Hedgehog or Porcupine.  The projectiles weigh about 30 pounds each.  They can be fired in front of a moving ship which was a big advantage since ash cans or depth charges only could be fired to the side or stern.

From Ref 3 -The British Hedgehog was a mortar type and put heavy loads on the ship so only large ships could use it. 
The American Mousetrap (Wiki) was rocket powered and so could be fitted to much smaller/lighter ships. Ref 16.

An offshoot was the retro-rocket bomb, available in three aircraft speeds (200, 205 & 400 MPH), that fell straight down, unlike iron bombs that have a forward velocity that matches the plane.  These were first used with the PBY5A. (Naval History: retro-bomb)

YouTube: Hedgehog Anti-Submarine Hydrostatic Shockwave Projector, 10:11 - there are also images of the Mk 9 depth charge being fired from a mortar.
2925012
                          Antisubmarine warfare projector mount, Justin
                          W Malloy, Hersh Sidney, 1960-02-16, - Az/El
                          Hedgehog
2925012 Antisubmarine warfare projector mount, Justin W Malloy, Hersh Sidney, 1960-02-16, - Az/El Hedgehog

Projectors Mk 10 Mod1 & Mk 11 Mod 0, Navord Op 1001, 1953 (hedgehog-projector-mk10-mk11.pdf)

Depth Charge Description

The idea is to drop explosives that damage or destroy an enemy submarine.
YouTube: Military History in a Minute: H1MIN: Mark 9 Depth Charge, 1:14 - compared to Mk 6 ash can.
maritime.org: Ordnance Pamphlet 866, Depth Charge, Mark 9, and Modifications, 1944, Depth Charges Mk 6, Mk6 Mod1, Mk 7, Mk 7 Mod 1, Ord Pam 747, 1943 (depthcharge6/index.php) classic barrel shape -

Ash Can 

Early depth charges (Wiki) were called "ash cans" because that's what they looked like, i.e. a cylinder with flat ends.  The fuze could be set for the depth at which it would explode.  One of the problems with the "ash cans" was that they went down slowly with the centerline approximately horizontal and so a submarine could escape before they got to depth.


1314662 Depth-mine firing-gear and safety device therefor, James Huber, Vickers, 1919-09-02, 102/392 -
1368569,
                      Hydrostatic mine, Chester T Minkler, 1921-02-15
1368569, Hydrostatic mine, Chester T Minkler, 1921-02-15, 102/392 -
1539027
                      Projectile for use with depth-charge projectors,
                      Stone Andrew Jackson, American Ordnance Corp,
                      (Wiki: 1914 - 1918), App: 1919-04-03, W.W.I, Pub:
                      1925-05-26, -
1539027 Projectile for use with depth-charge projectors, Stone Andrew Jackson, American Ordnance Corp, (Wiki: 1914 - 1918), App: 1919-04-03, W.W.I, Pub: 1925-05-26, -

2780992 Firing mechanism for a depth charge, Ronald O Beach, App: 1945-08-18, Pub: 1957-02-12, -
"Another object is the provision of a hydrostatically controlled switch for a depth charge firing mechanism which will not be prematurely operated by pressure waves such, for example, as pressure waves resulting from the detonation of an explosive charge within the vicinity of the depth charge.

Still another object is to provide a switch of the afore described character which operates satisfactorily over a wide range of depths such, for example, as 50 to 1500 feet.

A further object is the provision of a new and improved hydrostatically controlled switch for a depth charge firing system which will render the system ineffective when the depth charge has descended to a predetermined depth in the event the depth charge is not fired during the descent thereof."

2958278 Depth charge firing mechanism, Joseph D Turlay, App: 1944-01-25, TOP SECRET, Pub: 1960-11-01, -uses gradiometer to sense presence of ferrous metal, i.e. sub. much better than depth trigger.

Patents Published Nov 29, 1960 with sequential patent numbers (many with many years delay because of classification)

For ash can type.

2961954 Depth charge firing mechanism, Axelson Carl A, Moore Harry H, Stearns David M, Stresau Richard H F, Filed: Feb 1, 1943 (17 year delay=TOP SECRET) Pub: Nov 29, 1960  102/392; 102/230 -  depth, time and magnetic influence combined.
2961955 Depth charge arming device, Macdonald Waldron S, Filed: Feb 11, 1946 (14 year delay=TOP SECRET), Pub: Nov 29, 1960, - 

2961956 Arming mechanism for a depth charge, Townsend Richard W, Filed: Jan 6, 1947,  (13 year delay=SECRET) Pub: Nov 29, 1960, 102/392 - can only arm after a preset depth, can deactivate below some preset depth, does not respond to rapid pressure changes (like nearby depth charges going off), includes some time delay elements in the arming function, Fig 16 shows a magnetic influence trigger that is only connected to the batteries after a preset depth is reached.  When the next preset depth is reached the arming circuit becomes active (maybe allowing time for the vacuum tubes to warm up).  Cites prior French and Italian patents.

2962966 Calls:
1310568 Acoustically Operated Contact Actuating Mechanism and System Employing the Same, A.C. Heap & A.B. Field, UK, July 22, 1919, 102/418, 114/240.00R, 367/135 - submarine triggers mine
1382374 Method and mechanism for exploding submarine mines,
1448976 Submarine mine, Palmer Wayne F, Mar 20, 1923, 102/417 - Magnetic influence, ompass needle with counter mining and self setting features
1538315 Thermomicrophonic firing device for submerged mines, Duffie John J, U.S. Government, Filed: Aug 9, 1917, Pub: May 19, 1925, 102/418, 367/133 - acoustic trigger with timer to allow installation
2341351 Aerial mine, Barkley Joseph Amos, Filed: May 15, 1941, Pub: Feb 8, 1944, 102/405, 361/189, 327/516, 361/170, 244/31, 102/211, 361/182, 367/135, 244/87 - acoustic to be triggers by nearby aircraft (not very practical)
2404553 Electric fuze and setting apparatus, Wales Jr Nathaniel B, Filed: Aug 6, 1941, Pub: Jul 23, 1946, 102/219, 89/6, 315/227.00R, 327/100 - artillery shells
2404806 Submarine detector, Lindsey Henry A D, U.S. Army, Filed: Mar 19, 1942, Pub: Jul 30, 1946, 340/850, 102/402, 324/247, 324/331 - MAD (Wiki) towed by aircraft
Split: 2379447 Anti-submarine Device, Lindsey Henry A D, U.S. Army, Filed: Mar 19, 1942, Pub: Jul 3, 1945, 102/417, 102/212, 340/551, 324/247, 324/67, 307/652, 324/258, 340/552 - Very similar to the device in 2404806 except the part that was in the aircraft is now floating on the ocean surface and the MAD detector is now suspended underwater some distance.  When the magnetic field of the submarine motor battery circuit is sensed it fires a small charge allowing the submerged mine to fall in the water and when at a predetermined depth it explodes.
2961957 Anchor release for a moored drill mine, Sylvan Wolf, Sec of Navy, Nov 29, 1960, - for training

2961958 Thermal controlled arming device for a mine, Brown Ellis M, Toomey John F, Filed: Mar 8, 1944, (16 year delay=TOP SECRET), Pub: Nov 29, 1960, - A large mechanical impulse (dropping the mine) can cause it to explode so this version uses a fusible alloy that melts to arm the mine.  Also includes a sterilization feature to deactivate the mine.

2961959 Torpedo actuating lanyard seal, Lewis H Van Billiard, Gen Electric, Nov 29, 1960, - pull lanyard through watertight gland to activate torpedo
Calls:
467792 Submarine Shell,
George Frank Elliott, US Navy, Jan 26, 1892, - anti mine sweeping device.
2748704
Arming device for torpedo exploders, Dinsmoor Theodore E, Jun 5, 1956, - prevents assembly with actuator in the armed position
2961960 Torpedo exploder mechanism, Bob Norris, Kendall James M, Filed: Jul 20, 1949, (11 years delay=SECRET) Pub: Nov 29, 1960, - Fido Mk 24 Exploder  - time at depth needed to arm, triggered by inertia (contact) switch, sterilize at 500 feet
Calls:
1121563 Automatic Steering Apparatus, Karl O. Leon, Dec 15, 1914 - sound based
2954734  Torpedo Exploder Mechanism James M. Kendall, Filed:Oct 17, 1947 (13 year delay=TOP SECRET) Pub: Oct 4, 1960 - does not work well with homing torpedoes because it makes noise
1892431 Echo torpedo, John Hays Hammond, Jr (Wiki)), Filed: Apr 2, 1928, Pub: Dec 27, 1932, - active SONAR
2419815 Water armed fuze, Breeze George E, Gay Godwin R F, Filed: Oct 3, 1944, Pub: Apr 29, 1947, - uses water activated battery
2961961 Torpedo exploder mechanism, Holdrege Charles F, Kendall James M, Filed: May 26, 1947 (13 year delay=SECRET), Pub: Nov 29, 1960, - for submarine launched acoustic homing torpedo aimed at surface ships - special provisions to allow for broaching (jumping out of the water and returning).
Calls:
1121563 (see above)
1137222 Torpedo and other submarine apparatus, Karl O. Leon, Leon Steering Device Company, Filed: Feb 11, 1908, Pub: Apr 27, 1915 - acoustic "...what I term a hydrophone..." (did Karl coin the word hydrophone)
1312510 Sound-controlled dirigible torpedo, George Baker, Aug 12, 1919 -
2419815 Water Armed Fuze (See above)
2961962 Trip-wire flare, Jackson Leonard D, Filed: Jan 19, 1945, (15 year delay), Pub: Nov 29, 1960 - I know used in Vietnam, but W.W.II?

3300860 Submarine attack director, Stewart Duncan James, Edgar D Lilja, Slichter Louis Byrne, Navy, App: 1948-02-16, TOP SECRET, Pub: 1967-01-31, - For Destroyer to drop depth charges. "triangle solving". "The problem of attacking a submarine with a depth charge dropped from a destroyer is complicated by the fact that it takes time for the depth charge to sink to the submarine's level. Because of this time delay, the depth charge must be dropped over the collision point (the crossing point of the two ships' courses) before the sub marine reaches that point."

"For greater accuracy the lapse of time from the firing order until the depth charge strikes the water, should also be taken into account.


Mk IX Depth Charge

The Mk IX depth charge was designed for rapid decent (centerline approximately vertical) and has optional spoiler plates so it can also have controlled slower rates of decent.

Depth charges can be rolled off a rack and dropped overboard or they can be projected using a sort of mortar to throw them some distance from the ship.

San Francisco Maritime org:
Depth Charge, Mark 9 and Modifications, OP 866, 1944, covers the fast sinking U.S.N. depth charge of WW II.
The Mk 1 Mod 1 firing pistol can be set for: 50, 75, 100, 150, 200, 300, 400 or 500 feet.
Depth Charges, Mark 6, Mark 6 Mod. 1, Mark 7, Mark 7, Mod. 1, OP 747, 1943, covers the U.S.N. depth charge from the first half of WW II. - this is the "ash can".  The possible depths for the Mk 6 pistol are: 30, 50, 75, 100, 150, 250 and 300 feet and the Mk 6-1 pistol adds a 600 foot setting.
ASW Weapons - Mk 20 Mousetrap rocket projector 7.2" (180mm) 0.2 - 0.7 second burn time - American hedge hog

2599579 Streamline depth charge, Robert H Park, Arthur G Russell, Waldron S Macdonald, Robert R Crookston, pp: 1943-02-01, (9 year delay ), Pub: 1952-06-10, - has rings on both ends so handles like 55 Gallon Drum "ash can". -
This is the Mk 9 fast decent depth charge used in W.W. II.

2641184 Streamline depth charge, Booth Seth W, Park Robert H, Royal Weller, Russell Arthur G, Filed: Aug 25, 1942, Pub: Jun 9, 1953, 102/391, 340/850, 102/417, 367/93, 324/257 - This is the Mk 9 fast decent depth charge used in W.W. II.  mentions 2962966.
2962966 Firing control circuit, Gieseler Luther P, Filed: Apr 18, 1946, Pub: Dec 6, 1960 (14 year delay), 102/391, 102/417 - magnetometer magnetic influence fuze (see Fluxgate Patents) for depth charge.

2399248 Depth charge projector, Gebhard Edward P, Patrick Jr William E, Filed: May 27, 1942, Pub: Apr 30, 1946 - YouTube video showing its use with Mk 9 depth charge.
3136944 Total field magnetometer having series connected inductance elements for substantial removal of even harmonics, Filed:Aug 6, 1945, Pub:Jun 9, 1964, 324/247, 102/212 - depth charge - Note VJ day (Sep 2, 1945) was a month away when this was filed, so true magnetometer fuzes may not have been used in W.W.II.

Attack on San Francisco

A friend sent me a link to this YouTube: Golden Gate Torpedo Attack - Japanese Assault on San Francisco 1941, 13:22 -
Where it's claimed that the Japanese submarine I-15 fired a T93 torpedo at the Golden Gate Bridge and missed.
I posted a reply starting with SIZE MATTERS, but within an hour my post was deleted.  From memory here are the points I made:

--------------------
The I-15 (Wiki) Was the first B class
Japanese submarine (Wiki) and is fitted with 21" torpedo tubes (Wiki) that can fire the 21" T95 (Wiki).
If you look at the list of ships sunk by the T93 torpedo (Wiki) all type 93 torpedos were fried from surface ships, NONE from submarines.  This is because no Japanese submarine had 24" torpedo tubes in W.W.II.  In the YouTube video at 3:57 you see a T93 torpedo being fired from a surface ship.  This is because no

Japanese submarine had 24" torpedo tubes in W.W.II.

In the YouTube video at 2:43 is an image of the Madera Tribune Vol LIV, No. 84, June 1946 - a Japanese torpedo 27' long is the only reference to it's identity.
---------------------
Here is a table showing some
Japanese torpedo parameters (from: navweaps.com)
Diameter (In)
Launch
Platform
Type (Length ft.)
17.7
Aircraft
Midget Sub
2 (18.4), 4 (18.8/17.3), 91 (18/17.3), 94 (17.3), 97 (18.3), 98 (18.3)
21
Submarines
92 (23.4), 95 (29.5/23.5), 96 (29.5)
24
Surface Ships
93 (29.5), F3 (28)



I don't see a 27 foot torpedo.  The closest is the 28' F3 which was not ever used. 
So the most likely candidates are the 92, 93, 95 or 96.  Since the I-15 could fire the 92, 95 or 96 that's a possibility.
But the video claims at 3:46  that the "Long Lance" entered service with Japanese submarines (Wiki), cruisers (Wiki) and destroyers (Wiki) in 1933.  I can not find ANY

Japanese submarines equipped with 24" torpedo tubes.  But AFAICT "Long Lance" is not reserved for the T93, it also applies to the T95 s they were both "Kerosene-oxygen" types?

During W.W.II the probability of a torpedo hit was fairly high at 1000 yards, but at longer distances the chance of a hit went way down.  So at the maximum range for the T93 (44,200 yards) the accurate target width would be about 5260 yards or 3 miles.  It was exactly this problem, i.e. the maximum range of the T93 far exceeded the guidance system that led to the development of the Kamikaze version called Kaiten (Wiki).  So the idea that a free running torpedo was aimed at the Golden Gate Bridge is pretty far fetched.  Note that during W.W.II there were big guns around San Francisco aimed out to sea.

Maybe a T95 torpedo was fired at a US ship in the general direction of San Francisco and after it ran out of fuel was buoyant and was caught in a tide that took it toward the beach?  Tony from navweaps.com says that while torpedos have negative buoyancy when launched they have positive buoyancy when they run out of fuel.  The main reason for that is when practicing the very expensive torpedo floats and can be recovered.  But, I'd guess in war time once a torpedo is fired and it missis the target it's forgotten about.

This means any torpedo a T95 fired in the Pacific in the direction of the west coast, missing its target, would be left to the currents and so could end up anywhere along the coast.  This also predicts that other torpedoes have washed up on beaches.  And indeed a search using either DuckDuckGo or Google finds many many hits for "torpedo on beach".
The War Zone: A Vietnamese Fisherman Reeled In A Chinese Torpedo In The South China Sea, Dec 2018, Aaron Amick (SubBrief) -
"...three basic target detection methods:
1. Passive sonar simply listens for specific target noises generated by an expected foe or it can also home in on the loudest noise source detected.
2. Active sonar simply emits a sonar energy pulse at a high frequency.
3. Wake Homing is becoming more common on dual-purpose torpedoes today."

Patents

11168960 Modular underwater torpedo system, James W. Teetzel, David G. Kent, John P. Bousquet, Christopher Jay Palmer, Wilcox Industries, 2021-11-09, - cites 38 patents - 3151527 Barrel engine, Halley H Hamlin, Clevite Corp, 1964-10-06, - steam exits through pipe in center of drive shaft.  When launched from tube there's a large gas bubble.
4359957 Torpedo and operating method, J. William Schnabel, TRW, 1982-11-23, - no gas bubble upon launch

Related

Aircraft, NC-3 Gun Sight, Mk 20 Mod 4 Gun-Bomb-Rocket Sight, Navy Mk 18 Gyro Gun Sight
Gyroscopes - used to keep torpedo going in straight line
Flux Gate Patents - many of the single coil type were for Naval Mines.
DC Gaussmeter Model 1, Helmholtz Coils, GE Gauss Meter, AMY6 Polarity Tester
HT20 2000 mT Magnetic Flux Meter - this instrument has very similar capabilities, bur for a much lower price
Sensors - Magnetic - Helmholtz Coil
Submarines, Sonobuoys, CRT-1 Sonobuoy
Telegraph
Telephone
Telephone patents
Electromagnetic devices:
Build it YOURSELF!, a REAL ELECTRIC MOTOR
Electromagnetic Toy Engine
Gilbert DC 3-pole Electro-magnetic Machine
Leclanché Battery - wet cell
MESCO 1011 Toy Engine
No. 6 Dry Cell -
Toy Motor Kit & modern version as well as Science First demonstration motor -
Vibrators -
Weeden DC 2-pole Electro-magnetic Machine -
Walker Scientific MG-3D Gaussmeter -
Magnets
Magnatometers
DC Permenant Magnet Motors
Walker Scientific MG-3D Gaussmeter

References

Wiki Pages related to Torpedoes.

Ref 1: Hellions of the Deep: The Development of American Torpedoes in World War II by Robert Gannon
Ref 2: Ship Killers: A History of the American Torpedo by T. Wildenberg & N. Polmar, 2010 -
Ref 3: Iron Men and Tin Fish: The Race to Build a Better Torpedo During World War II by Anthony Newpower
Ref 4: Weapons That Wait: Mine Warfare in the U.S. Navy by Gregory K. Hartmann, 1991
Ref 5:
The Devil's Device: Robert Whitehead and the History of the Torpedo by  Edwyn Gray
Ref 6:
Torpedo: Inventing the Military-Industrial Complex in the United States and Great Britain by Katherine C. Epstein, 2014 - the quest for better torpedoes led to the military-industrial complex
Ref 7: The influence of Seapower on History 1660 - 1783 by Captain A.T. Mahan, USN (Wiki)
Ref 8: Boyd: The fighter pilot who changed the art of war by Robert Coram, 2002 -
Energy–maneuverability theory (Wiki) for aircraft dog fights
Ref 9: U. S. Naval Weapons. Every Gun, Missile, Mine and Torpedo, Friedman, Norman, 1988 -
Ref 10: Weapons That Wait Mine Warfare in the U.S. Navy, Gregory Hartman  with Scott Truver -
Ref 11: Pieces of the Action by Vannevar Bush -
Ref 12 - Scientists Against Time, 1952, James Phinney, 3rd ed (Wiki)
Ref 13 19th Century TOrpedoes and Their Inventors, Edwyn Gray, 2004
Ref 14 Torpedo: The Complete History of the World's Most Revolutionary Naval Weapon, Roger Branfill-Cook, 2014
Ref 15 US NAVY TORPEDOES, by Frederick J Milford,
Part One: Torpedoes through the thirties
Part Two: The great torpedo scandal, 1941-43
"The Mk.13 was a slower speed torpedo so it did not have the contact exploder problem and it used the Mk.4 exploder which did not have the magnetic influence feature."  The information on the problem of the Magnetic Influence Exploder I think overlooks the polarity of the magnetic field.  With one polarity the thyratron will turn on, but with the opposite polarity it will not.  So in addition to the dependence on latitude there's a dependence on Northern vs. Southern hemisphere. 
"In the case of the destroyer launched Mk.15, which was a few feet longer than the Mk.14 and carried a larger warhead, but otherwise nearly identical to the Mk.14, I have found no references to unequivocal torpedo failures. This may be because during a destroyer torpedo attack things are too hectic to permit a careful evaluation of torpedo performance."

Part Three: WW II devlopment of conventional torpedoes 1940-1946 -

Part Four: WW II development of homing torpedoes 1940 - 1946 -

Part Five - Post WW II Submarine Launched/Heavyweight Torpedoes -
"Three of the more important new concepts were wire guidance, discrimination and onboard attack logic."  This is all there is about getting a torpedo to hit it's target.  But the need for wire guidance is clear from my above comments about the range (how far a torpedo can go) being far far greater than the range at which the probability of a hit is 50%.

"The straight running steam, electric and Navol torpedoes, Mks.13, 14, 15, 16, 17, 18 and 23, which were operational3 at the end of the war continued as service weapons. By 1950 only Mks.14, 15 and 16 remained in service4 and the Mk.15 disappeared as trainable 21" torpedo tubes were removed from destroyers. Mark 16 (Navol) remained in service until 1975 and the venerable Mk.14 (steam) was not finally withdrawn from service until 6 March 19805. The three homing torpedoes that had entered service during WW-II, Mk.24 (air launched ASW), Mk.27 Mods.0 (submarine launched anti-escort) and Mk.28 (submarine launched anti-surface vessel) continued in service until they were replaced by improved weapons, the Mk.28 remaining in service until 1960. Many torpedo projects were discontinued, in some cases after reaching the prototype or pre-production stage."

"  Prior to the mid-1960s Soviet submarines had diving depths of 650 to 1000 ft and submerged speeds under 30 knots. Early Mk.48 capabilities were clearly capable of attacking such targets. The advent of the Soviet ALPHA submarine with its non-magnetic titanium hull, 2500 foot diving depth (Wiki says 1150 feet) and submerged speed in excess of 40 knots apparently produced a validated threat against which the Chief of Naval Operations issued a new operational requirement in 1975. Two approaches to satisfying this requirement were initiated. The first was the Mk.48 "envelope expansion program", mentioned above, which exploited the capabilities of the existing torpedo. The second was essentially a new torpedo, ADCAP. The major changes in ADCAP involved entirely new digital electronics, inertial guidance (replacing the gyro system), a major reduction in volume devoted to electronics, a corresponding major increase in fuel capacity, a strengthened shell and, of course, inclusion of the Mk.48 envelope expansion features. The Mk.48 piston engine was retained but with a greater fuel flow rate to yield an estimated 63 knot speed. Much of the change was made possible by the introduction of integrated circuits, including microprocessors, whose small size made it possible to move many of the functions of the control group into the nose. The guidance wire spool was moved to a position aft of the enlarged fuel tank and other layout changes were made."
Ref 16: The Illustrated Encyclopedia of Twentieth Century Weapons and Warfare, Vol 18 - Mousetrap
Ref 17: Torpedo Town U.S.A.  A History of the Naval Undersea Warfare Engineering Station 1914 - 1989, Lisa Poole with Dianne Robinson, 1989 (Maritime.org) - does not mention the huge problems for the first year of W.W.II with the Mk 14 torpedo.
Ref 18. Torpedo Technology, Louis Gerken, 1989, - contains material from Sonobuoy Ref 39, A Brief History of U.S. Navy Torpedo Development, E.W. Jolie, 1978
Ch 1. Historical Evolution of the Torpedo -  1775 to 1939 Mk 17
Ch 2. Development of Torpedo Platforms: Surface ships, Submarines, Aircraft, Specials - 1877 to 1979 Captor
Ch 3. Torpedoes W.W II to Present - American Mk 14, UK Mk 7 & German Type 5 to Soviet weapons.
Ch 4. Torpedo Handling Systems Launchers, Guidance, Fire Control -
Ch 5. Torpedo Propulsion -
Ch 6. Torpedo Payloads: The Warhead - The problem of the outer hull being some distance from the pressure hull.
Ch 7. Torpedo Countermeasures - Noisemakers, Shadow Zone, SLQ-25 "Nixie" against acoustic torpedoes only, starting 1978 the 3" ADC Mk 2 sub launched decoy, SLQ-33 surface towed acoustic, anechoic paint, ship hardening, Anti-torpedo torpedo (ATT),  the problem of torpedo self-noise, simulators,
Ch 8. Torpedo Operations, Oceanography, Readiness & Training -
Ch 9. The Torpedo: Outlook for the Future -
Ref 19. Submarine Torpedo Tactics, Jones & Roderick, 2015 -
1. The Torpedo is Born
2.W.W. I Fire Control
3. Between the Wars
4. Analysis of Fire Control Problem
5.  W.W. II
6. Era of he GUPPY (Wiki - upgraded Diesel-Electric boats)
7. From Tang to Nautilus
8. A Most Unusual Torpedo (a Totem pole from Adak)
9. Skipjack,the Convergence of Nautilus and Albacore
10. The Sturgeio-Class Submarine
11. The Los Angles-Class Submrine
12. The Ballistic Missile Submarine
13 The Seawolf and Virginia Submarines
14. The Future of American Submarines
App A: A glossary
App B: Evolution of Fire Control Equipment
Ref 20. The War Zone: Modern Submarine Torpedo Attacks Are Nothing Like What You See In The Movies -
Ref 21. YouTube: Drachinifel: The Mark 14 Torpedo - Failure is Like Onions, 33:26 -
Ref 22. The Mk 24 “Mine” - FIDO, US Homing Torpedo (1943), Ron Larham, (The-Mk-24-Mine-FIDO-US-Homing-Torpedo-1943.pdf, 9 pgs, & bibliography
Ref 23.  A History of the Torpedo?,  Ron Larham, 45pgs (A-History-of-the-Torpedo.pdf)
Ref 24. The Other Strange Bomb That Was Supposed to Win WW2, 14:33 - sea mines, Operation Starvation (Wiki),  Mines Away!, 60 pgs, ADA425762.pdf,
Position: Bottom, Moored, Drifting
Firing Mechanism: Contact, Command, Influence: Magnetic, acoustic, pressure & combined.
Ref 25. Aerial Minelaying Blockades Japanese Shipping, 3:30 -
Ref 26. US Naval Institute:  Mine Warfare Could Be Key, 2023Dec -
Ref 27. WaPo:
The Ukraine war is revolutionizing military technology. Whoever masters it wins. Max Boot, 2023Sep18 - "laboratory of warfare" - cites a dozen open source papers.
Ref 28. Toothless Tiger: USS Cod’s Submarine Exercise Torpedoes!, 18:28 - Mk 14 practice, Mk 27 Mod 4
Ref 29. Hedgehogs and Depth Charges with @USSCod Part 1, 4:55 - Hedgehog and some depth charge clips
Ref 30. Hedgehogs and Depth Charges Part Two (w/@BattleshipNewJersey @USSSlater), 18:28 - K gun with Mk 6 (cylindrical) depth charge,
Ref 31. Acoustic Torpedoes with @USSCod Part 1, 8:46 - Mk 27 Mod 4 (Wiki) irst torpedo able to attack submerged sub
Ref 32. Acoustic Torpedoes and Foxers Part Two, 6:37 - No. 10 can with holes filled with rocks towed behind ship.
Ref 33. TU.S. WW2 Submarine Torpedo Guidance Gyro Spun up to 20,000 RPM - "Course Controller (LUT) for Torpedo Mk 14 Mod 5, Gross wt: 66 lbs, Net wt 25 lbs.
Ref 35. The Origins of the Torpedo - That which lurks beneath..., 40:16 - very early devices and very early Whitehead.
Ref 36. Mk-44 (Wiki) as used on the QH-50 DASH unmanned helicopter.
Ref 37. Talking to the Fish: How USS Cod Programed a Torpedo during WWII, 17:47 -
Ref 38. Confidential U.S. Navy Aircraft Launched, Acoustic Torpedo Training Film 81694, 20:50 - @2:54: Mk 24 mine "Fido", @3:13: Mk 27 Mod 0, @3:33: Mk 28 (similar to Mk 18 electric), @3:47: Mk 34 (double size Mk 24), @3:59: Mk 27 Mod 4, @4:15: Passive Group photo: Mk24, MK27 Mod 0, Mk 28 Mod 1, Mk 34 Mod 1, Mk 27 Mod 4; @4:21: Active Group photo: Mk 32 Mod 1, Mk 41 Mod 0, Mk 43 Mod 0, Mk 43 Mod 1; @4:244: Mk 35 Mod 12 active not in photo & not discussed,   General discussion of Search & Pursuit circles, Deafening, Angle/pitch blanking; @8:53: Mk 32 Mod 1 @11:00: Mk 41 Mod 0,  @13:38:  Mk 43 Mod 0, @16:04: Active Group Photo (again), Mk 43 Mod 1 has both search floor and search ceiling, @18:34: Mk 43 Mod 1 has gyro bearing and preset depth and distance then enabled, gimbals on sensor so it stays vertical to minimize bottom & surface reflections, fired electrically.
Ref 39. Japanese Never Knew U.S. B-29s Laid 12,000 Mines That Sank 670 Of Their Ships, 38:37 - Operation Starvation (Wiki),
Ref 40. Mines Away!: The significance of U.S. Army Air Forces Minelaying in World War II, by Major John S. Chilstrom, 1993 (ADA425762.pdf) - AN/APQ-13 radar (Wiki), "aerial mine" in patent terminology means an explosive that's in the air aimed at preventing aircraft from flying in the area.  In this paper it's a term for "air dropped sea mine".
Ref 41.  The Trials and Tribulations of USN WW2 Torpedoes, 35:36 - Mk13, @35:33 Mk 14, @21:48 Mk 6 expoloder (color photo), @27:16 Mk 15 surface launch torpedo
Ref 42. Torpedo Data Computer: The Machine that Won World War Two, 36:07 - I very much disagree with the title, there is some good history of the TDC.
Ref 43. WWII Sea Mines - War Impact and Combat Effectiveness Deep Dive Review, 22:35 -

YouTube

The Torpedoes of WWII Documentary - 46 minutes
How Torpedoes Work: "Aircraft Launched Active Acoustic Torpedoes" 1953 US Navy Training Film - Includes Mk 24 Fido shown being rolled to single prop plane with nose and tail fall breakers installed (for aircraft drop into water). Helical downward counterclockwise search and clockwise pursuit circles explained
Passive acoustic torpedoes
Mk 27 Mod 0: sub to surface ship homing torpedo
Mk 28 Mod 1:
Mk 34 Mod 1: double size Mk 24 (arrived too late for W.W.II)
Mk 27 Mod 4: Passive homing

Active torpedoes
Mk 32: launched from blimp, aircraft, ship, only goes down to 225 feet for circling.
Mk 41: only anti-sub weapon, launched only from aircraft, no lower limit to search circle
Mk 43 Mod 0: mini Mk 41 Mod 0, used tubes (warm up time) search depth limited to 500 ft
Mk 43 Mod 1: helicopter launch, search up or down, at "reversing depth" it will reverse up/down, has gyro controlled course prior to enabling pinging
Mk 35 Mod 12: classified (1953)
The Mark 14 Torpedo - Failure is Like Onions, 33:26, Feb 12, 2020 - some interesting facts and some slight misunderstandings.

Sub Brief: Analysis: Thermal Torpedo - 75 Hz piston (*60 = 4500 PRM) and 2200 Hz prop (*60 = 13,200 RPM) for a ratio of 29.3.  Some comments say this might be a Mk 14 torpedo with a 4 cylinder engine.  I don't know when they changed from 3 to 4 cylinders.
White Board: Types of Sea Mines - CAPTOR (Wiki) - Mk 46 torpedo in Capsule
jaglavaksoldier: Mk. 60 Encapsulated Torpedo (CAPTOR) Mine -


Evolution of US Navy Destroyers - A Complete Guide, 28:04 - the story begins with the invention of torpedoes
Fido-The Most Secret and Combat Effective WWII Allied U-Boat Kill Store, 9:17 - cites:
Final Report, Applied Acoustics in Subsurface Warfare, Underwater Sound Laboratory Harvard University, Jan 1946.
Summary Technical Report of Division 6, NDRC, Vol 23, Acoustic Torpedoes, 1946,
1868 - 1870 Whitehead: 14 inches (356 mm)
1892 Whitehead Mk. 1: 17.7" (450 mm), 2,500 yards range @ 35 knots, 320 lbs TNT,
1911 Bliss-Leavitt Mk. III: 21 inches (533 mm), 8,000 yards range @ 35 knots, 515 lbs TNT,
American Torpedo Problems in WWII-Episode 212, 58:18 - good overview.

Links

Naval Weapons of the World: Torpedoes, Mines, ASW Weapons (proximity or contact),


 
PRC68, Alphanumeric Index of Web pages, Contact, Products for Sale
Page Created 11 June 2017